122564 (618508)
Текст из файла
Организация монтажа теплотрассы
Курсовая работа
Уральский государственный технический университет
Екатеринбург 2004
1. Характеристика объекта
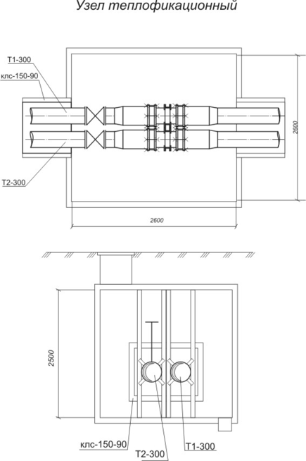
За исходные данные принят курсовой проект теплотрассы длинной 15 км. от ТЭЦ до смесительной станции. Прокладка трубопровода – подземная в непроходных каналах, через каждые 150 м. длины магистрали устроены неподвижные опоры, а через 300 м. устроены камеры с сальниковыми кампенсаторами. Трасса прямолинейная, без ответвлений, проходит по открытой равнинной местности в удалении от жилых построек.
2. Метод производства СМР
Строительно-монтажные работы производятся поточным методом. Применение этого метода наиболее целесообразно, т.к. сокращается количество рабочих (по сравнению с параллельным методом) и время выполнения всего объема работ (по сравнению с последовательным). На все виды работ создаются отдельные квалифицированные бригады.
Вся теплотрасса делится на 5 захватки, одинаковых по объему, на которых каждая бригада последовательно выполняет СМР.
Организация поточного метода производства работ предусматривает:
а) выявление объектов, близких между собой по объемно-планировочным и конструктивным решениям, а так же технологии их возведения;
б) расчленение процесса возведения объектов на отдельные работы, предпочтительно равные или кратные по трудоемкости;
в) установление целесообразной последовательности выполнения работ;
г) закрепление отдельных видов работ за определенными бригадами рабочих;
д) расчет последовательности перехода ведущих строительных бригад рабочих и машин с объекта на объект с учетом соблюдения запланированного ритма строительства.
Выполнение отдельных этапов работ совмещают, обеспечивая тем самым последовательное осуществление однородных процессов и параллельное разнородных.
3. Технология производства работ
Перечень необходимых работ:
Проектно-сметные работы (включают составление проектно-сметной документации, спецификаций материалов и санитарно-технического оборудования, заказа на изготовление фасонных частей в ЦЗМ)
Подготовительные работы (включают планировку трассы, подготовку трассы для земляных работ, планировку отвалов и бровок, нивелирование трассы)
Земляные работы:
а) планировка трассы бульдозером;
б) отрывка траншеи экскаватором;
в) отрывка котлованов под тепловые камеры;
г) планировка дна траншеи вручную;
Разгрузка и комплектование материалов;
укладка лотков
Устройство основания тепловых камер;
Разгрузка и раскладывание труб вдоль трассы;
Сборка труб в звенья на бровке траншеи ;
Монтаж скользящих опор;
Укладка плетей труб в канал на опоры;
Монтаж неподвижных опор;
Монтаж узлов т/с
Предварительное испытание труб тепловой сети;
Тепловая изоляция труб;
Монтаж бетонных блоков стен тепловых камер;
Перекрытие лотков плитами;
Перекрытие тепловых камер плитами и установка люков;
Гидроизоляция наружной поверхности каналов;
Засыпка траншеи бульдозером;
Промывка тепловой сети;
Окончательное испытание трубопроводов тепловой сети;
Сдача объекта в эксплуатацию.
4. Транспортировка
1. Рытье траншей и котлованов ведет одноковшовый экскаватор с обратной лопатой ЭО-3322, вместимостью ковша 0,5 м3, весом 14,1т .наибольшая глубина копания 4,2 м, наибольший радиус копания 7,36 м.
2. Укладку труб на бровку, укладку плетей в каналы, плит для камер и каналов, изоляции, опор осуществляют автомобильные краны КС-3575, грузоподъемностью 10 т.
3. Обратную засыпку грунта осуществляет бульдозер ДЗ-15А, весом 6,25 т,
4. Трубы доставляются трубовозами УПЛ-2916, грузоподъемностью 29 т.
5. Перевоз ж/б плит происходит при помощи полуприцепа-площадки ПЛ22-12, грузоподъемностью 22 т.
6. Все остальные необходимые материалы и изделия, оборудование (компрессоры и сварочные аппараты) доставляются бортовыми автомобилями марки КРАЗ-257, грузоподъемностью 12т.
5. Спецификация материалов и санитарно-технического оборудования
Таблица 1
| № п/п | Наименование материалов и оборудования | Ед. изм. | Кол-во | Вес ед.изм. кг | Общий вес, кг | габаритные размеры м | ||
| длина | шир. | выс. | ||||||
| 1 | 2 | 3 | 4 | 5 | 6 | 7 | 8 | 9 |
| 1 | Трубы стальные ГОСТ 10704-76, Ду 300 мм: | п.м | 15000 | 62,54 | 968100 | 10 | 0,3 | 0,3 |
| 2 | Сальниковые компенсаторы, Ду 300-2.5Т1.05 | шт. | 50 | 169 | 8 450 | |||
| 3 | Задвижки Ду 300 30ч47бр | шт. | 17 | 61,2 | 1040 | |||
| 4 | Каналы из лотковых элементов серии 3.006-2 КЛ150*90 | шт. | 2500 | 530 | 1325000 | 5,97 | 0,45 | 0,3 |
| 5 | Камеры железобетонные сборные (по типовому проекту 3.903КЛ-3) | шт. | 50 | 3800 | 190000 | 2,6 | 2,6 | 2,5 |
| 6 | Опоры железобетонные неподвижные щитовые | шт. | 100 | 18,54 | 1854 | |||
| 7 | Скользящие опоры, из стали толщиной 10 мм | шт. | 3000 | 3,6 | 10800 | |||
| 9 | Изоляционные минераловатные маты d 333*8 | м. | 15000 | 31,2 | 468000 | |||
| 10 | Электроды для сварочных работ | кг | - | - | 500 | |||
| 11 | Битум | л. | 1600 | 1,00 | 1600 | |||
| 12 | Рубероид | м2. | 2050 | 1,00 | 2050 | |||
| 13 | Фланцы плоские приварные с патрубком (ВСтЗ сп5) Ду 300 | шт. | 600 | 14,49 | 8694 | |||
| 14 | Болты с шестигранной уменьшенной головкой, Ст20, d 24 м | 1000 шт. | 2,5 | 413,2 | 1033 | |||
| 15 | Гайки шестигранные нормальной точности, Ст 20, d 24 мм | 1000 шт. | 2,5 | 110,2 | 276 | |||
| 16 | Шайбы, Ст 20, d 24 мм | 1000 шт. | 2,5 | 32,33 | 81 | |||
| 17 | Прокладки паронитовые | шт. | 600 | 0,5 | 300 | |||
| 18 | Щебень | м3. | 15000 | 3,00 | 450000 | |||
| 18 | Пеньковый смольный канат, диаметром 20,7 мм | м. | 60 | 1,00 | 60 | |||
| 19 | Деревянные брёвна под лежни | 100 | ||||||
| ВСЕГО | | 3437938 | ||||||
6. Ведомость подсчета объемов работ
Таблица 2.
| № | Наименование работ | Ед. изм. | Кол-во |
| 1 | Подготовительные работы | % | 10 |
| 2 | Земляные работы | м3 | 60000 |
| 3 | Монтаж лотков | м | 15000 |
| 4 | Установка скользящих опор | 1 опора | 3000 |
| 5 | Монтаж оснований камер | 1 плита | 50 |
| 6 | Монтаж неподвижных опор | 1 опора | 100 |
| 7 | Доставка труб на бровку | % | 10 |
| 8 | Укладка в звенья и сварка плетей на бровке | звено | 500 |
| 9 | Опуск плетей в лотки на скользящие опоры | звено | 500 |
| 10 | Монтаж узла колодца | 1 камера | 50 |
| 11 | Испытание стыков на прочность | 1стык | 500 |
| 12 | Испытание трассы на плотность | м | 30000 |
| 13 | Антикоррозийная изоляция стыков и тепловая изоляция трубопроводов | м | 30000 |
| 14 | Перекрытие лотков ж/б плитами | м | 15000 |
| 15 | Закрытие тепловых узлов ж/б камерами | 1 плита | 50 |
| 16 | Гидроизоляция лотков и колодцев | м | 15000 |
| 17 | Засыпка землей траншей и котлованов | м | 15000 |
| 18 | Сдача объекта | м | 15000 |
7. Производственная калькуляция затрат времени и стоимости рабочей силы
таблица 3
| № | Обосно-вание ЕНиР | Описание работ | Изме-ри-тель работ | Кол-во | На единицу измерения | На полный объем работ | ||
| норма врем, чел.ч | расцен руб.к. | норма врем., чел.ч | расцен., руб.коп. | |||||
| 1 | Е2-1 | Подготовительные работы | 100м | 150 | 2,01 | 2-01 | 301,5 | 301-50 |
| 2 | Е2-1-13 | Разработка грунта при устройстве траншей одноковшовыми экскаваторами, оборудованными обратной лопатой, 0.5м3 грунт 2 группы | 100м3 | 600 | 2,3 | 2-44 | 1380 | 1464-00 |
| 3 | Е2-1-31 №2 | Разработка грунта в котлованах одноковшовыми экскаваторами, оборудованными обратной лопатой, | 100м3 | 13,5 | 2,5 | 2-65 | 33,75 | 33-76 |
| 4 | Е9-2-56 | Подготовка дна в траншеях и котлованах | 1м3 | 1500 | 1,3 | 0-76 | 1950 | 1140-00 |
| 5 | Е2-1-11 | Подготовка бровки | 100м2 | 300 | 0,28 | 0-29 | 84 | 87-00 |
| 6 | Е1-5 №7а,б | Погрузка или выгрузка материалов (грузов) стреловыми самоходными кранами грузоподъемностью до 25 т | 100 т | 35 | 6,3 | 4-92 | 220,5 | 172-20 |
| 7 | Е9-2-24 №2 | Устройство типовых каналов из лотковых элементов; Ду 300 мм | м. | 15000 | 1,55 | 1-15 | 23250 | 17250 |
| 8 | Е9-2-39 | Устройство оснований тепловых камер | м2 | 450 | 0,80 | 0-61 | 360 | 274-50 |
| 9 | Е9-2-1 №5 | Укладка стальных трубопроводов при сборке труб в звенья на бровке траншеи; Ду 300 мм | м. | 1500 | 0,06 | 0-043 | 90 | 64-50 |
| 10 | Е22-2-1, №1,4 | Сварка труб Ду 300 мм | 1стык | 3000 | 0,60 | 0-55 | 1800 | 1650-00 |
| 11 | Е9-2-1,г | Антикоррозийная изоляция стыков трубопроводов, битумной мастикой; Ду 300мм | 1стык | 3000 | 0,34 | 0-248 | 1020 | 720-00 |
| 12 | Е9-2-18, б | Установка скользящих опор Ду300мм | шт. | 3000 | 0,15 | 0-12 | 450 | 360-00 |
| 13 | Е9-2-1,г №5 | Укладка звеньев труб в траншею Ду 300 мм | м | 500 | 0,21 | 0-16 | 105 | 80-00 |
| 14 | Е9-2-18, а | Установка неподвижных опор Ду 300 мм | шт. | 100 | 2,9 | 2-48 | 290 | 248-00 |
| 15 | Е9-2-29 | Установка колодцев с узлами т/с | шт. | 50 | 3,8 | 2-68 | 190 | 134-00 |
| 16 | Е9-2-9 | Предварительное испытания трубопроводов на прочность и герметичность Ду 300мм | м | 15000 | 0,04 | 0-09 | 600 | 1350-00 |
| 17 | Е9-2-13 №6 | Тепловая изоляция трубопроводов матами; Ду 300мм | 1 м 2труб | 15000 | 0,92 | 0-62 | 13800 | 9300-00 |
| 18 | Е9-2-28 №19 | Устройство сборных ж/б камер | 1 плита | 200 | 0,84 | 0-61 | 168 | 122-00 |
| 19 | Перекрытие лотков плитами | м | 15000 | 0,45 | 0-20 | 6750 | 3000-00 | |
| 20 | Е9-2-29 | Перекрытие тепловых камер плитами и установка люков | 1 коло-дец | 50 | 0,89 | 0-70 | 44,5 | 35-00 |
| 21 | Е9-2-24 №2 | Гидроизоляция наружной поверхности каналов | м. | 15000 | 0,34 | 0-23 | 5100 | 3450-00 |
| 22 | Е2-1-34 №3 | Засыпка траншей и котлованов бульдозерами | 100м3 | 613,5 | 0,38 | 0-40 | 233,13 | 245-40 |
| Е9-2-39 | Промывка сети | м | 15000 | 0,14 | 0-11 | 2100 | 1650-00 | |
| 16 | Е9-2-9 | Окончательные испытания трубопроводов на прочность и герметичность Ду 300мм | м | 15000 | 0,24 | 0-19 | 3600 | 2850-00 |
| 23 | Сдача объекта | ч | 8 | 0,5 | 0-51 | 4 | 4-08 | |
| ВСЕГО | | 66924,4 | 47485-94 | |||||
ВСЕГО в ценах 200 3 1092176-60
Характеристики
Тип файла документ
Документы такого типа открываются такими программами, как Microsoft Office Word на компьютерах Windows, Apple Pages на компьютерах Mac, Open Office - бесплатная альтернатива на различных платформах, в том числе Linux. Наиболее простым и современным решением будут Google документы, так как открываются онлайн без скачивания прямо в браузере на любой платформе. Существуют российские качественные аналоги, например от Яндекса.
Будьте внимательны на мобильных устройствах, так как там используются упрощённый функционал даже в официальном приложении от Microsoft, поэтому для просмотра скачивайте PDF-версию. А если нужно редактировать файл, то используйте оригинальный файл.
Файлы такого типа обычно разбиты на страницы, а текст может быть форматированным (жирный, курсив, выбор шрифта, таблицы и т.п.), а также в него можно добавлять изображения. Формат идеально подходит для рефератов, докладов и РПЗ курсовых проектов, которые необходимо распечатать. Кстати перед печатью также сохраняйте файл в PDF, так как принтер может начудить со шрифтами.
















