105176 (616126), страница 2
Текст из файла (страница 2)
В итоге получаем уравнение, показывающее равенство предельных издержек поиска (левая часть уравнения) ожидаемой предельной отдаче (правая часть уравнения). Если ожидаемую предельную отдачу представить как убывающую функцию от резервной заработной платы A(wr), то и предельные издержки будут функцией от резервной заработной платы.
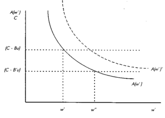
(С Вu) = A(wr).
Эта зависимость показана на рис. 10.5. Увеличение пособия по безработице от Вu до В’u повышает резервную заработную плату от wr до w’r и, следовательно, увеличивает длительность поиска. Пособие по безработице снижает чистые издержки поиска и увеличивает, тем самым, оптимальную длительность поиска. Может существовать критический уровень этого пособия (или других аналогичных пособий по поддержке благосостояния), при котором поиск работы становится невыгодным — индивидуум максимизирует ожидаемый доход в течение жизни, живя на пособие.
Если средняя величина распределения заработной платы для ищущего работу возрастает (например, из-за профессиональной подготовки), в то время как дисперсия относительно этой средней величины остается неизменной, то кривая A(wr), отражающая функцию предельной ожидаемой отдачи, будет сдвигаться вправо (что показано на рис. 10.5 кривой A(wr), увеличивая резервную заработную плату и длительность поиска работы.
Рис. 10.5. Определение резервной заработной платы
3. Зависимость вакансии — безработица
Соотношение между размерами безработицы и вакансиями, существующими в экономике, позволяет проанализировать структурную составляющую безработицы. Вывод кривой, отражающей зависимость между вакансиями и безработицей, основывается на зависимостях между избыточным спросом на труд Z = (DL SL)/SL, с одной стороны, безработицей U, вакансиями V — с другой.
Зависимость между безработицей и избыточным спросом на труд обратная (квадрант I на рис. 10.6), так как безработица растет при избыточном предложении труда, и нелинейная из-за фрикционной безработицы, существующей при любом уровне спроса на труд.
Зависимость между вакансиями и избыточным спросом на труд прямая и линейная (квадрант II на рис. 10.6).
Рис. 10.6. Вывод кривой зависимости вакансии — безработица
Безработица U1 соответствует избыточному спросу на труд Z1, которому соответствуют вакансии V1, безработица U2 соответствует Z2, V2. В четвертом квадранте на рис. 10.6 представлена зависимость вакансии—безработица UV (получила название кривой Бевериджа), она имеет обратный нелинейный характер также из-за фрикционной безработицы, не позволяющей вакансиям или безработице принять нулевое значение.
Изменения совокупного спроса выражаются в движении рынка труда по кривой UV, если спрос растет, то движение происходит влево от точки А к точке В (на рис. 10.7), если спрос уменьшается, то вправо от точки А к точке С. Если в результате изменений на рынке труда произойдет воздействие на структурную безработицу (например уменьшение временного лага подстройки спроса и предложения к качественным изменениям друг друга) или на фрикционную (повышение эффективности информации о рынке труда), то кривая UV сдвигается влево к кривой UV’, поскольку когда безработный находит работу, одновременно происходит единичное уменьшение как количества безработных, так и количества вакансий. Соответственно любые факторы, увеличивающие фрикционную и/или структурную безработицу, сдвигают кривую UV вправо к кривой UV’’
U
Рис. 10.7. Зависимость вакансии — безработица
Если j — это активность работника в поиске работы, mm — характеристика структурного соответствия между работниками и рабочими местами (чем она меньше, тем больше работники и рабочие места соответствуют друг другу), то вероятность найти работу (f) можно представить как функцию от активности работника, действий работодателя (количество вакансий), характеристики структурного соответствия: f = f (j, V, mm). Тогда
u =
Увеличение s (вероятности потерять работу) и mm сдвигает кривую UV вправо, а увеличение j сдвигает кривую UV влево.
4. Спросодефицитная безработица
Спросодефицитная, или циклическая, безработица возникает при недостаточном совокупном спросе, а следовательно, и недостаточном спросе на труд. Спросодефицитная безработица иногда еще называется кейнсианской.
В классических моделях рынка труда фирмы могут продавать весь произведенный продукт, они не сталкиваются с таким явлением, как дефицит совокупного спроса на их продукт. Причина этого — гибкость цен; цены снижаются в условиях дефицита спроса и повышаются в условиях избыточного спроса, таким образом поддерживается уровень совокупного спроса, соответствующий полной занятости. Однако если цены не подстраиваются, объем продукта, который могут продать фирмы, определяется уровнем совокупного спроса.
Предположим, что цены фиксированы, а уровень совокупного спроса равен AD1 на рис. 10.86. Это соответствует уровню выпуска продукта Q1. Максимальное количество работников, необходимых для производства Q1, соответствует L1, как показано на рис. 10.8а. Если заработная плата превышает W1/P1, занятость определяется точками кривой спроса, и соответственно безработица (SL — DL) представляет собой классическую безработицу. При реальной заработной плате ниже W1/P1, но выше или равной W0/P1, занято L1 работников, а уровень занятости определяется ограничением Q1. Отрезок (SL — DLe) ниже W1/P1, но выше W0/P1, определяет безработицу, которая является кейнсианской по своей природе, поскольку возникает из-за дефицита совокупного спроса. Если реальная заработная плата ниже W0/P1, то занятость определяется точками на кривой предложения, поскольку существует избыточный спрос и на рынке труда, и на рынке товаров.
0 L1, L 0 Q1 Q
Pиc. 10.8. Рынок труда при ограниченном совокупном спросе
Из этого следует, что фирмы не могут продать продукт, превышающий количество Q1 которое определяется уровнем совокупного спроса. Продукт, производимый дополнительными работниками за пределом L1, не имеет ценности, т. е. эффективный предельный продукт труда за пределом L1 равен нулю. Кривая эффективного спроса на труд показана линией DLe. Если теперь мы определим равновесие как точку пересечения SL и DLe, безработицы не будет. Снижение реальной заработной платы привело к тому, что работники отказываются предлагать свои услуги на рынке труда, поэтому новое равновесие устанавливается на уровне L1 и W0/P1. Как только заработная плата превышает W0/P1, возникает безработица, а при наличии фиксированных цен в качестве предпосылки данной модели нет никаких оснований предпочитать W0/P1 любой другой точке. Номинальная заработная плата может быть установлена в любой точке между W0 и W1, включая уровень конкурентного равновесия, но любой уровень, кроме W0/P1, будет связан с вынужденной безработицей. Эта простая модель показывает, что если эффективный уровень совокупного спроса не соответствует требованиям рынка, то рынок не выравнивается и возникает безработица.
На рис. 10.9 в правом верхнем квадранте изображен рынок продукта, показывающий количество продукта Q, соответствующее спросу на него для каждого уровня цен Р, и количество продукта, который фирма хотела бы продать при каждом уровне цен. Это соответственно кривые совокупного спроса и предложения. Рынок труда изображен в левом нижнем квадранте, где кривая спроса на труд имеет обычный вид с отрицательным наклоном, а кривая предложения труда показана совершенно неэластичной (что соответствует краткосрочному периоду). Рынки труда и продукта связаны производственной функцией, изображенной в правом нижнем квадранте и отражающей убывающую предельную производительность труда. В левом верхнем квадранте показана кривая, характеризующая ставку номинальной заработной платы и являющаяся результатом взаимодействия уровня цен и реальной заработной платы W* = W/PP.
В состоянии конкурентного, классического равновесия все рынки сбалансированы, что показано линией, соединяющей точки Q*, Р*, L* и W*/P*. Такое состояние требует полной гибкости как цен, так и заработной платы.
Рис. 10.9. Кейнсианская безработица
В случае кейнсианской безработицы повышение цен до уровня Р1 вызывает снижение реальной заработной платы, повышение спроса на труд до уровня L1 и увеличение количества продукта, который фирма готова произвести по новым ценам до Q1. Однако в то же время повышение цен до уровня Р1 снижает спрос на продукт фирмы до уровня Q, в соответствии с этим снижается спрос на труд до уровня L и возникает безработица, размер которой определяется величиной отрезка (L*L). Предельный эффективный продукт труда, превышающего уровень L, равен 0. Кейнсианское «равновесие» показано на рисунке прямоугольником, стороны которого изображены сплошной линией.
Для образования спросодефицитной безработицы важное значение имеет жесткость заработной платы — неспособность заработной платы меняться в ответ на изменения в спросе на труд и, таким образом, обеспечить подстройку рынка труда. Причины возникновения жесткости заработной платы рассматриваются в различных моделях: эффективной заработной платы, неявных контрактов, поведения профсоюзов (модель инсайдер—аутсайдер), олигопсонистической структуры рынка труда.
















