104536 (615852)
Текст из файла
Министерство образования и науки РФ
Федеральное агентство по образованию РФ
Государственное образовательное учреждение высшего профессионального образования
Саратовский Государственный Технический Университет
Кафедра «Менеджмент, коммерция и право»
Курсовая работа
на тему:
«Современные концепции управления: «Шесть сигм»
2009 год
СОДЕРЖАНИЕ
ВВЕДЕНИЕ
1. ИСТОРИЯ ВОЗНИКНОВЕНИЯ КОНЦЕПЦИИ « 6 СИГМ»
2. ЧТО ТАКОЕ «ШЕСТЬ СИГМ»?
3. СТАТИСТИЧЕСКИЕ ОСНОВЫ «ШЕСТЬ СИГМ»
4. ЦИКЛ ШУХАРТА – ДЕМИНГА
5. СКРЫТЫЕ ИСТИНЫ «ШЕСТИ СИГМ» И ПОТЕНЦИАЛЬНЫЕ ВЫГОДЫ
6. ОБУЧЕНИЕ В РАМКАХ КОНЦЕПЦИИ
7. СОЮЗ КОНЦЕПЦИЙ «ШЕСТИ СИГМ» И «БЕРЕЖНОГО УПРАВЛЕНИЯ» (LEAN SIX SIGMA)
8. КОНЦЕПЦИЯ «ШЕСТЬ СИГМ» В КОМПАНИЯХ
9. ПРИЧИНЫ СЛАБОГО РАЗВИТИЯ КОНЦЕПЦИИ В РОССИИ
ЗАКЛЮЧЕНИЕ
СПИСОК ИСПОЛЬЗУЕМЫХ ИСТОЧНИКОВ
ПРИЛОЖЕНИЕ
ВВЕДЕНИЕ
Тема данной работы современные концепции управления качеством: шесть сигм.
Цель работы изучить теоретические основы концепции «шести сигм».
Одним из важнейших показателей деятельности предприятия является качество продукции. Улучшение качества определяет выживаемость и конкурентоспособность предприятия в условиях рынка, темпы технического прогресса, внедрения инноваций, рост эффективности производства, экономию всех видов ресурсов, используемых на предприятии. А конкурентные войны развертываются главным образом на поле качества выпускаемой продукции.
Проблема качества касается абсолютно всех товаров и услуг. Особенно остро это проявляется при переходе к рыночной экономике. К работе в условиях жесткой конкуренции российским производителям надо быть готовыми уже сегодня. Предприятия любой формы собственности, не уделяющие внимания вопросам качества, будут просто разорены, им не помогут никакие протекционистские меры государства.
Сложности российской экономики проявляются не только в снижении объемов производств, взаимных неплатежах, но и в ее качественных характеристиках. Технология отечественного производства, технический уровень капитального оборудования, как правило, значительно ниже, чем в индустриально развитых странах. Но даже если достаточно оперативно осуществить модернизацию производства, создать новые технологии, оправдать эти затраты на инвестиции возможно будет только за счет выпуска и реализации конкурентоспособной продукции или услуги, пользующейся спросом у потребителя.
Для раскрытия этой темы предполагается следующая структура работы:
В первом разделе, посмотрим историю возникновения данной концепции.
Во втором, разберем, что такое концепция «шесть сигм».
Далее посмотрим статистические основы данной концепции.
Необходимо так же изучить цикл Шухарта-Деминга.
Рассмотреть скрытые истины и потенциальные возможности, а так же обучение по данной концепции.
Целесообразно рассмотреть концепцию LEAN SIX SIGMA.
Необходимо изучить причины слабого развития концепции в России.
1. ИСТОРИЯ ВОЗНИКНОВЕНИЯ КОНЦЕПЦИИ «6 СИГМ»
Ровно четыре века назад, в 1979 году Арт Сандри, один из руководителей компании «Моторола», выступил на заседании управленческого совета с шокирующим заявлением: « реальная проблема компании заключается в том, что качество нашей продукции отвратительное!».
Возмутителя спокойствия не уволили. Наоборот, в полную мощь заработал «мозговой трест» компании. В итоге ее аналитики пришли к парадоксальному выводу: производство высококачественной продукции обходится дешевле, чем среднесортной.
Арифметика оказалось простой. Выяснилось, что «Моторола» в то время тратила от 5 до 10% своих доходов ( в некоторых случаях и все 20%) только на исправление продукции низкого качества. На ветер выбрасывались колоссальные деньги. Каждый год на это уходило 800 - 900 миллионов долларов.
Так «Моторола» начала свой поход за улучшение качества. Но одновременно шла работа по сокращению времени производства и издержкам на него. В итоге обнаружилась связь между более высоким качеством и меньшими издержками, которая и привела к разработке концепции «6 сигм». В чем же различие между предыдущими подходами и новой концепцией? - зададимся мы сейчас.
Прежде акцент делался на совершенствование отдельных операций не в связанных друг с другом процессах. Предложенная «Моторолой» программа «6 сигм» фокусируется на улучшении всех операций, входящих в процесс. А это позволяет получить гораздо быстрее и более эффективные результаты.
Впервые «Моторола» применила концепцию для разработки своего пейджера «Бандит». Это название было выбрано не случайно: лица, участвующие в проекте, «заимствовали» каждую хорошую идею, которую они смогли найти в продуктах, уже предлагавшихся на рынке.
Их усилия не пропали даром. Разработанный пейджер отличался прекрасным дизайном. А особенности производственного процесса обеспечили невероятное: средний гарантированный срок службы этого пейджера составляла 150 лет. Его можно было заказывать в различных вариантах с учетом особых пожеланий заказчика и производить за 72 минуты после получения заказа с любого пункта продаж «Моторолы».
Пейджеры компании оказались столь надежными, что, в конечном счете, их тестирование было вообще отменено. Гораздо дешевле было заменить пейджер, который сбоил (что бывало очень редко), чем тратить время на тестирование продукта, фактически не имевшего дефектов.
Однако подведем итог. Разработкой пейджера занимались 23 инженера. Они трудились 18 месяцев. Было истрачено около 10 миллионов долларов. Внедрив концепцию, компания только в течении четырех лет сэкономила 2,2 миллиарда долларов.
2. ЧТО ТАКОЕ «ШЕСТЬ СИГМ»?
«Шесть сигм»- это подход к совершенствованию бизнеса, который стремится найти и исключить причины ошибок или дефектов в бизнес-процессах путем сосредоточения на тех выходных параметрах, какие оказываются критическими важными для потребителя.
«Шесть сигм»- это стратегический подход, который работает для всех процессов, продуктов и отраслей.
«Шесть сигм» - это система мониторинга и оценки качества бизнес- процессов, ориентированная на уменьшение количества дефектов в продукции и услугах.
Данные цитаты полностью отражают описание концепции, если не намерены его использовать:
- сложная методика, применяемая инженерами и статистами больших компаний для улучшения продуктов и процессов;
- имеет целью полное удовлетворение потребностей клиента;
- процесс изменения культуры организации с целью увеличения прибыльности и упрочнения позиций на рынке.
Данная концепция во многом перекликается с ИСО и его 8-ю принципами:
а) ориентация (или фокус) на клиента (потребителя, покупателя);
б) лидерство;
в) вовлечение персонала;
г) процессный подход;
д) системный подход к менеджменту;
е) постоянное улучшение (или непрерывное совершенствование);
ж) принятие решений на основе фактов;
з) создание взаимовыгодных отношений с поставщиками.
Концепция рассматривает так же три элемента качества:
1. Потребитель. Клиенты определяют качество товаров и услуг, справедливо ожидая: разумную цену, ответственность исполнителя, надежность в сотрудничестве, сервисную поддержку и дополнительные услуги. Процесс. Качество требует взглянуть на процесс с точки зрения клиента, ведь мы работаем, чтобы понять, удовлетворить его нужды найти дополнительные возможности для улучшения качества.
2. Персонал. Ведь люди создают результаты и, соответственно, мы их должны мотивировать для максимального удовлетворения потребности клиента.
3. СТАТИСТИЧЕСКИЕ ОСНОВЫ «ШЕСТЬ СИГМ»
Несмотря на то, что знание статистики не главный пункт концепции «Шесть сигм», название пришло именно из предмета статистики. Любой процесс может быть представлен в виде математической модели, где основными параметрами результата процесса выступают среднее значение и стандартное отклонение. Параметр среднее значение отвечает на вопрос как работает процесс в среднем и обозначается символом µ (мю). Стандартное отклонение показывает степень вариабельности результата процесса и означается символом σ (сигма).
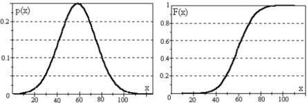
Исходной предпосылкой является полная случайность отклонений, т.е. отсутствие систематических причин, приводящих к смещению результата. В этом случае распределение отклонений около среднего значения процесса будет хорошо приближаться (в большинстве случаев) к нормальному распределению (рис.1).
Рисунок 1 – Типичный вид плотности и функции нормального распределения.
Геометрически, хорошая наглядная картина получается, рассматривая плотность нормального распределения, где среднее значение – это пик плотности распределения, а стандартное отклонение определяется как расстояние между средним значением и точкой перегиба кривой (рис 2).
Рисунок 2- Среднее значение и стандартное отклонение
Свойство нормального распределения: если для процесса установлены некоторые контрольные пределы, выход за которые результатов процесса считается нежелательным событием, то чем больше сигм процесса умещается между средним значением и ближайшим контрольным пределом, тем меньше дефектов имеет процесс, что наглядно видно на картинке (рис. 3). Уровень работы процесса определяется количеством сигм, укладывающихся в заданный интервал. Чем меньше значение стандартного отклонения, тем стабильнее и лучше результат (при условии, что среднее значении близко к целевому значению).
Рисунок 3 –Чем больше сигм процесса укладывается между средним значением и ближайшим контрольным пределом, тем меньше дефектов имеет процесс. Процесс работает на уровне 2,6 сигм.
Из статистического обоснования известно, что при уровне процесса 4,5 сигм, из миллиона единиц продукции дефектов будет не более 3,4, и то условие выполняется для стабильных процессов. В настоящих же условиях, поведение процессов может меняться со временем года, времени суток и т.д. (рис.4).
Основываясь на эмпирических данных, исследователи пришли к выводу, что отклонения процесса, вызванные его естественной нестабильностью, дают отклонения качества в 1,5 сигм. Таким образом, если целевой уровень качества составляет 4,5 сигма (3,4 дефекта на миллион возможностей), то с учетом перестраховки 1,5 сигма на отклонения, необходимо обеспечить уровень качества 6 сигм.
Рисунок 4 – изменение процессов в течение времени
Рисунок 5 – Уровень качества 6 сигм
В рамках данной концепции принята следующая классификация организаций по критерию воспроизводимости (таб.1)
Таблица 1- классификация
| Влияние воспроизводимости процессов на конкурентоспособность организаций | |||
| Расстояние между центром распределения и границей допуска | Число дефектов на миллион | Стоимость низкого качества | Уровень конкуренто-способности |
| 6 сигм | 3,4 | < 10% от ОП | Мировой класс |
| 5 сигм | 233 | 10-15% от ОП | |
| 4 сигмы | 6210 | 15-20% от ОП | Средняя по отрасли |
| 3 сигмы | 66807 | 20-30% от ОП | |
| 2 сигмы | 308537 | 30-40% от ОП | Неконкурентоспособна |
| 1 сигма | 690000 | ||
| Примечание: ОП - объем продаж | |||
4. ЦИКЛ ШУХАРТА – ДЕМИНГА
Концепция «Шесть сигм» основана на применении цикла Шуберта-Деминга PDCA: Планируй – Делай – Проверяй – Внедряй. Впоследствии в рамках концепции этот цикл трансформировался в цикл MAIC: Измеряй – Анализируй – Улучшай – Управляй. В последнее время наблюдается тенденция к добавлению этого цикла рядом стадий. Наиболее часто встречается вариант DMAIC – в начале цикла добавляется стадия «Определяй» и встречается так же RDMAICSI (где R – Осознай, S – стандартизируй, I – интригуй). Рассмотрим более подробнее цикл DMAIC.
Define –определение.
Основные задачи данного этапа - определить кто является потребителем процесса и его требования, какие цели преследует и какие результаты должен принести проект. Для этого этапа используются уже разработанные карты процесса или модели 1-го уровня в нотации IDEF0 на которых можно идентифицировать Поставщиков, Входы, Потребителей и Выходы. Базовые рекомендации для анализа моделей сводится к следующему:
а) простаивающие функции (работы) необходимо ликвидировать или включить в процесс;
Характеристики
Тип файла документ
Документы такого типа открываются такими программами, как Microsoft Office Word на компьютерах Windows, Apple Pages на компьютерах Mac, Open Office - бесплатная альтернатива на различных платформах, в том числе Linux. Наиболее простым и современным решением будут Google документы, так как открываются онлайн без скачивания прямо в браузере на любой платформе. Существуют российские качественные аналоги, например от Яндекса.
Будьте внимательны на мобильных устройствах, так как там используются упрощённый функционал даже в официальном приложении от Microsoft, поэтому для просмотра скачивайте PDF-версию. А если нужно редактировать файл, то используйте оригинальный файл.
Файлы такого типа обычно разбиты на страницы, а текст может быть форматированным (жирный, курсив, выбор шрифта, таблицы и т.п.), а также в него можно добавлять изображения. Формат идеально подходит для рефератов, докладов и РПЗ курсовых проектов, которые необходимо распечатать. Кстати перед печатью также сохраняйте файл в PDF, так как принтер может начудить со шрифтами.















