102509 (614900)
Текст из файла
Учреждение образования «Белорусский государственный университет
информатики и радиоэлектроники»
Кафедра РЭС
РЕФЕРАТ
На тему:
«ТЕХНОЛОГИЯ И ОБОРУДОВАНИЕ ДЛЯ УСТАНОВКИ ПМ-КОМПОНЕНТОВ НА ПЕЧАТНЫЕ ПЛАТЫ»
МИНСК, 2008
Одной из важных операций технологического процесса ПМ является установка компонентов на печатные платы. От точности выполнения этой операции в значительной степени зависят надежность, электрические характеристики ПМ-изделий. Учитывая малые геометрические размеры компонентов и малые расстояния между выводами, ручное выполнение этой операции в условиях серийного производства практически невозможно (за исключением ремонта). Поэтому чаще всего используются сборочные автоматы (автоматы укладчики), которые в международной технической литературе получили название «pick-and-place equipment» или «placement system». Такие установки осуществляют извлечение компонентов из подающих устройств и размещение их на контактных площадках печатных плат, обеспечивая необходимую точность установки. Основной тенденцией их развития является повышение точности позиционирования и производительности работы. Большое значение имеет также обеспечение гибкости в работе и программной перенастройке оборудования на новые виды корпусов, систем их подачи и новые топологии печатных плат.
Кроме того, важное значение для такого оборудования имеет повышение выхода годных изделий, что обеспечивается программным управлением процессом сборки, встроенными системами контроля с поиском и заменой неисправных компонентов с использованием систем технического зрения.
В последние годы определилась также тенденция в разработке не отдельных автоматов-укладчиков, а интегрированных монтажно-сборочных комплексов, которые в наибольшей степени удовлетворяют требованиям крупносерийного производства. Некоторые фирмы идут по пути модернизации имеющихся поточных линий для монтажа компонентов со штыревыми выводами. Лидером по выпуску высокопроизводительного оборудования для монтажа чип-компонентов являются японские фирмы («Fuji», TDK, «Sony» и др.). В разработках оборудования для монтажа сложных ПМ-компонен-тов (SO, TAB, кристаллоносители) лидируют американские фирмы («Universal Instruments», «DynaPert», «Amistar» и др.). Оборудование для монтажа компонентов выпускается также и европейскими поставщиками ПМ-компонентов («Philips», «Siemens» и др.).
Для оценки уровня и потенциальных возможностей автоматов-укладчиков ПМ-компонентов можно использовать следующие критерии:
• сложность конструкции корпуса компонента;
• принятый метод позиционирования;
• производительность;
• уровень гибкости, программная перенастройка;
• наличие встроенных интегрированных систем контроля качества и устранения брака.
С точки зрения сборочного оборудования все виды корпусов ПМ-компонентов можно разделить на две группы: простые (чип-компоненты, прямоугольные, MELF, SOT) и сложные (SO, PLCC, кристаллоносители и др.). Разработка универсального оборудования для установки как простых, так и сложных корпусов даже при его высокой гибкости представляет большие конструкторские и технологические трудности. Это прежде всего связано с требуемой разной точностью позиционирования (например, для установки кристаллоносителей требуется точность ±0,1524—0,0508 мм и менее), в значительной степени определяющей сложность конструции и стоимостью оборудования. Кроме того, для простых и сложных компонентов применяются питатели различной конструкции.
Выпускаемые автоматы-укладчики разделены на пять групп исходя из их производительности и точности (табл. 1).
Таблица 1. Характеристики автоматов-укладчиков
| Номер группы | Группа | Производительность компонентов/ч | Минимальный шаг компонентов, мм |
| 1 | Низкой производительности | <4000 | 0,65 ' |
| 2 | Средней производительности | <8000 | 0,5 |
| 3 | Высокой производительности | < 16000 | 0,5 |
| 4 | Очень высокой производительности | <60000 | 0,5 |
| 5 | Высокоточные укладчики | <4000 | 0,3 |
Автоматы первой группы имеют относительно простую механику, которая чаще всего реализуется по Т-схеме (рис. 1), упрощённый алгоритм функционирования и схему управления, ограниченную точность позиционирования (+-0,15мм), механическую юстировку компонентов, ограниченный набор компонентов (R, C-чип, SO, PLCC, QFR с P>=0,65 мм).
Рис. 1. Схема реализации автоматов-укладчиков первой группы
а — одинарная Т-схема; б — сдвоенная Т-схема
Рис.2. Схема реализации автоматов второй группы:
Автоматы второй группы наряду с большей производительностью имеют более высокую точность позиционирования (погрешность — ± 0,12 мм), возможно применение наряду с механическими и оптических систем центрирования компонентов, больший выбор компонентов. Они могут быть реализованы по одинарной и сдвоенной Т-схеме (рис.2). Вторая схема обеспечивает большую производительность.
Рис. 3. Схема реализации автоматов-укладчиков на основе центральной роторной головки
Рис. 4. Схема автомата-укладчика с блоком головок
Автоматы третьей группы имеют более, сложную механику, оптическую систему центрирования компонентов, более высокую точность позиционирования (погрешность +-0,1 мм). Реализуются по схеме с центральной роторной головкой (рис. 3) и с использованием блока головок, осуществляющих синхронный захват и установку компонентов (рис. 4).
При использовании первой схемы обеспечивается одновременный захват и установка компонентов, большой их выбор, однако много времени тратится на транспортирование элементов.
Во второй схеме может осуществляться одновременный захват и позиционирование большого количества компонентов (более 28), печатная плата не перемещается, сокращается время на транспортировку.
Четвертая группа автоматов-укладчиков реализуется по схеме последовательно-параллельного позиционирования (рис 5). Одно- и многозахватные головки располагаются вдоль конвейера и осуществляют независимую установку компонентов. Погрешность позиционирования ±0,08—0,1мм.
Рис. 5. Сема высокоскоростного укладчика
Особенность пятой группы автоматов-укладчиков - повышенная точность позиционирования (0,03-0,05 мм). Реализуется по Н-схеме с применением специальных материалов, подшипников на воздушной основе, разомкнутых шаговых двигателей, систем технического зрения, высокоточных систем измерения координат.
Применяются для позиционирования компонентов с шагом выводов менее 0,3 мм (QFR, ВGA, Flip-Chip, COB).
Рабочий цикл любого автомата-укладчика включает в себя следующие технологические действия:
- выбор из накопителя требуемого компонента;
- перемещение его к посадочному месту на печатной плате;
- установка компонента с точностью позиционирования.
Кроме того, в некоторых конструкциях автоматов перед установкой осуществляется контроль электрических и геометрических параметров устанавливаемого компонента.
Такой технологический цикл возможно практически реализовать с помощью взаимного перемещения основных конструктивных элементов автомата — монтажной головки, координатного стола и магазина с компонентами. Исходя из этого, в настоящее время приняты следующие варианты комбинации перемещений основных элементов автоматов.
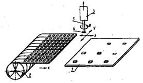
Вариант 1. Печатная плата и магазин с компонентами неподвижны (магазин может перемещаться только в направлении X). Компоненты захватываются монтажной головкой с необходимой позиции питателя и устанавливаются на посадочное место (рис. 6) (первый вариант автомата последовательного действия). Как видно из рисунка, монтажная головка перемещается в таких автоматах по всем направлениям (x, y, z) и вокруг своей оси (6), что позволяет ей по заданной программе выбирать требуемый элемент из питателя, перемещать и устанавливать его в любую точку на печатной плате. Как было отмечено выше, такие автоматы обладают наибольшей гибкостью и позволяют устанавливать компоненты любых типов, что наиболее эффективно в условиях мелкосерийного производства при большой номенклатуре изделий и типоразмеров компонентов. Их производительность может быть, повышена за счет применения двух монтажных головок. Кроме того, при такой схеме может быть легко осуществлен контроль электрических и геометрических параметров компонентов, которые перед установкой помещаются в устройство контроля.
1 — печатная плата; 2 —• бобины с упакованными компонентами; 3 — монтажная головка; 4 —устанавливаемый компонент; 5 — вакуумный пинцет (захват)
Рис. 6. Схема автомата-укладчика последовательного типа
Вариант 2. В этом случае (рис. 7) позиционирование места установки компонента осуществляется перемещением стола с печатнои платой в направлении X (второй вариант автомата последовательного действия). При этом цикл работы автомата состоит из следующих операций: 1) подача компонентов под монтажную головку (направление Х); 2) выбор компонента монтажной головкой (перемещение в направлении Y, Z); 3) возврат накопителей в исходное состояние; 4) перемещение стола с печатной платой под монтажную головку с позиционированием посадочного места относительно головки, установка компонента.
При использовании блока головок (до 30) и нескольких печатных плат такие системы могут обеспечить высокую производительность (рис 8). Однако наиболее эффективным является их применение для компонентов простой формы. Примером такой разработки является автомат МСМ VII (фирма «Philips»).
1 — печатная плата; 2 — лента с ПМ-компонентами; 3 — монтажная головка; 4 — монтируемый компонент
Рис. 7. Схема автомата с позиционированием места установки компонента с помощью рабочего стола
1 — бобина с ПМ-компонентами; 2 — блок монтажных головок; 3 — турель; 4 — двухкоординатный стол
Рис.8. Схема автомата с блоком монтажных головок
Вариант 3. Роторно-башенная схема построения автоматов (Rotary Turret Placement System) в последние годы находит все большее применение в конструкциях высокоскоростных автоматов-укладчиков. В этой схеме также используется блок монтажных головок, которые по кругу перемещаются с одной позиции в другую. Место установки компонента позиционируется координатным столом.
Применяется несколько разновидностей автоматов-укладчиков, реализующих роторную схему: с поворотом ротора вокруг вертикальной и горизонтальной оси и с различными вариантами подачи компонентов. Один из вариантов горизонтальной схемы показан на рис. 9. Роторная головка 1 имеет четыре вакуумных захвата и четыре рабочие позиции. На первой позиции захватывается компонент из питателя, бобины которого поворачиваются вокруг вертикальной оси на 90°. Во второй позиции осуществляется контроль электрических параметров компонента, в третьей – его центрирование, в четвёртой — установка на печатную плату, которая перемещается в направлении X, Y для совмещения захвата с посадочным местом компонента. Эти циклы повторяются каждой монтажной головкой, что обеспечивает высокую производительность автомата. Недостаток варианта — ограниченность номенклатуры устанавливаемых компонентов (без переналадки устройства чаще всего устанавливается один тип).
1 — ротор (револьверная головка); 2 — бобина с компонентами; 3 — карусель с бобинами; 4 — блок контроля электрических параметров; 5 - блок центрирования компонентов; 6 — двухкоординатный стол с печатной платой
Рис. 9. Схема автомата-укладчика роторного типа с вращением ротора вокруг горизонтальной оси:
Схема аналогичного по конструкции, но более производительного автомата показана на рис. 10. Он содержит большее количество монтажных головок и рабочих позиций для контроля электрических параметров и центровки, что расширяет номенклатуру монтируемых компонентов. Для подачи компонентов используется карусель с бобинами, поворачивающаяся вокруг вертикальной оси.
Рис.10. Схема многошпиндельного автомата-укладчика роторного типа
В последних разработках автоматов-укладчиков более широко применяется схема с ротором, вращающемся вокруг вертикальной оси (рис. 11). Такой автомат также содержит вращающийся ротор-башню, на которой размещается 10 или 12 монтажных головок. Для повышения универсальности и производительности каждая из головок имеет 1—5 вакуумных захватов. Центрирование компонентов осуществляется механическими устройствами или системами технического зрения, а совмещение с посадочным местом — двухкоординатным столиком. Подача плат производится с помощью конвейера. Некоторые системы содержат специальные пневматические подъемники для перемещения плат с одного конвейера на другой. Центрирование плат происходит по базовым отверстиям или по боковым кромкам. Первый метод обеспечивает большую точность и повторяемость этой операции. Для подачи компонентов к монтажной головке блок питателей совершает возвратно-поступательные движения в направлении X. При этом бобина с необходимым компонентом ориентируется для подачи его под очередной захват.
Рис.11. Схема автомата-укладчика с вертикальной осью вращения ротора
Фирмой «Philips» выпущена новая серия автоматов для установки ПМ-компонентов на GEM- платформе. Это оборудование обеспечивает модульность и гибкость, крайне необходимые современным производствам сборки печатных узлов по технологии поверхностного монтажа особенно в условиях серийного и крупносерийного выпуска продукции. При использовании машин на GEM-платформе с унифицированными конструктивами и программным обеспечением уменьшается стоимость установки на компонент, увеличивается загрузка оборудования, облегчается переход на новые изделия, повышается гибкость. В отличие от большинства высокопроизводительных автоматов на нем можно устанавливать не только малогабаритные компоненты, но и микросхемы с четырехсторонним расположением выводов в корпусах типа GFP, а также BGA.
Новое поколение машин фирмы «Philips» на сегодняшний день включает в себя два автомата: EMERALD-X — автомат установки компонентов с очень малым шагом и TOPAZ-X — высокоскоростной гибкий автомат. Эти автоматы отличаются более высоким коэффициентом загрузки и производительностью, чем их предшественники.
Автоматы с индексом «X» снабжены двойными питателями для матричных поддонов, которые позволяют менять пустые поддоны на новые без остановки работы автомата, устройством для склеивания лент и питателями для подачи компонентов из россыпи с увеличенной емкостью. В сочетании с возможностями, сохраненными от предыдущего (высоконадежная конструкция с малым временем обслуживания, тележки для групповой смены питателей, система распознавания штрих-кодов на питателях и др.), новые автоматы имеют минимальные потери времени и максимально возможный коэффициент загрузки. Еще одно преимущество таких автоматов — повышенная производительность установки компонентов. Новая система технического зрения с высокоэффективным освещением под разными углами улучшает распознаваемость компонентов «на лету», сокращая время центровки. Освещение под разными углами дает высококонтрастные изображения даже для сложных компонентов, таких, как микросхемы в корпусах BGA и CSP. TOPAZ-X может распознавать до восьми компонентов за один проход, что уменьшает время распознавания до 0,2 с/компонент.
Важным фактором, влияющим на повышение производительности, является новая система смены насадок «на лету» (во время движения, без потерь времени). На TOPAZ-X до четырех установочных головок из восьми могут иметь по три предварительно установленные насадки. Остальные четыре головки могут менять насадки в специальной станции. На EMERALD-X обе головки могут быть оснащены по заказу системой для смены насадок «на лету». Такая система позволяет увеличить производительность до 15%.
Если в питатели ошибочно заправлены компоненты другого типа или закончились компоненты, автомат даст сигнал оператору и, пропустив ошибку, продолжит собирать плату дальше, дав оператору время для устранения проблемы.
Различные комбинации автоматов на GEM-платформе позволяют создавать линии практически для любых видов серийных производств с любой комбинацией компонентов поверхностного монтажа.
ЛИТЕРАТУРА
-
Технология поверхностного монтажа: Учеб. пособие / Кундас С.П., Достанко А.П., Ануфриев Л.П. и др. – Мн.: «Армита - Маркетинг, Менеджмент», 2000.
-
Технология радиоэлектронных устройств и автоматизация производства: Учебник/ А.П. Достанко, В.Л.Ланин, А.А. Хмыль, Л.П. Ануфриев; Под общ. ред. А.П. Достанко. – Мн.: Выш. шк., 2002
-
Роткоп Л.Л., Спокойный Ю.Е. Обеспечение тепловых режимов при конструировании радиоэлектронной аппаратуры. - М., 2006.
-
Гуськов Г.Я., Блинов Г.А., Газаров А.А. Монтаж микроэлектронной аппаратуры М.:Радио и связь, 2006.-176с.
-
Норенков И.П. Основы автоматизированного проектирования: Учеб. для вузов. – М.: Изд-во МГТУ им. Н.Э.Баумана, 2000. – 360 с.
Характеристики
Тип файла документ
Документы такого типа открываются такими программами, как Microsoft Office Word на компьютерах Windows, Apple Pages на компьютерах Mac, Open Office - бесплатная альтернатива на различных платформах, в том числе Linux. Наиболее простым и современным решением будут Google документы, так как открываются онлайн без скачивания прямо в браузере на любой платформе. Существуют российские качественные аналоги, например от Яндекса.
Будьте внимательны на мобильных устройствах, так как там используются упрощённый функционал даже в официальном приложении от Microsoft, поэтому для просмотра скачивайте PDF-версию. А если нужно редактировать файл, то используйте оригинальный файл.
Файлы такого типа обычно разбиты на страницы, а текст может быть форматированным (жирный, курсив, выбор шрифта, таблицы и т.п.), а также в него можно добавлять изображения. Формат идеально подходит для рефератов, докладов и РПЗ курсовых проектов, которые необходимо распечатать. Кстати перед печатью также сохраняйте файл в PDF, так как принтер может начудить со шрифтами.















