27234-1 (612770), страница 3
Текст из файла (страница 3)
Неравномерность вершины импульса не более 20%.
2.4. Аппарат работает от сети переменного тока с напряжением 220 В 10% и частотой (50 0,5) Гц, при этом максимальная мощность ультразвуковых колебаний, получаемая при работе аппарата с излучателем наибольшей эффективной площади 4 Вт 40%.
2.5. Значения интенсивности ультразвуковых колебаний на ступенях переключателя ИНТЕНСИВНОСТЬ, ВТ/СМ2 находятся в пределах, указанных в таблице 1.
Таблица 1
Ступени переключателяИНТЕНСИВНОСТЬ, ВТ/СМ2 | Предельные значенияинтенсивности, Вт/см2 |
| 1,0 0,7 0,4 0,2 0,05 | 0,6- 1,4 0,45-0,95 0,2-0,6 0,1-0,3 0,02-0,08 |
2.6. Время установления рабочего режима не превышает 1 мин с момента включения аппарата в сеть.
2.7. Аппарат обеспечивает работу в течении 6 ч в повторно-кратковременном режиме излучения: 15 мин работы в непрерывном режиме генерации при интенсивности 1,0 Вт/см2 и 10 мин перерыв (при отключении аппарата от питающей сети).
По окончанию работы значения интенсивности на ступенях переключателя ИНТЕНСИВНОСТЬ, ВТ/СМ2, находятся в пределах, указанных в таблице 2.
Таблица 2.
Ступени переключателяИНТЕНСИВНОСТЬ, ВТ/СМ2 | Предельные значенияинтенсивности, Вт/см2 |
| 1,0 0,7 0,4 0,2 0,05 | 0,55-1,45 0,35-1,05 0,14-0,66 0,07-0,33 0,01-0,09 |
2.8. По защите от поражения электрическим током аппарат выполнен по классу 1, тип В.
2.9. Установленная безотказная наработка – не менее 600 ч. Средняя наработка на отказ не менее 2000 ч.
2.10. Установленный срок службы аппарата не менее 3 лет. Средний срок службы не менее 5-ти лет.
2.11. Мощность, потребляемая аппаратом от сети, не более 50 ВА.
2.12. Масса электронного блока аппарата не более 7 кг.
2.13. Габаритные размеры электронного блока аппарата: 341*290*142 мм.
Устройство и принцип работы:
4.1. Описание конструкции.
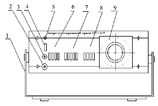
Аппарат содержит электронный блок (рис.1) и четыре сменных излучателя.
Электронный блок снабжён ручкой 1 для переноски, которая одновременно служит для установки его в рабочее положение. Корпус электронного блока выполнен из алюминиевого сплава. Внутри корпуса установлены направляющие, по которым перемещается шасси. Крепление шасси осуществляется снизу корпуса с помощью четырёх винтов.
На лицевой панели электронного блока расположены разъём ВЫХОД – 2 для подключения кабеля излучателя, индикатор выходного напряжения 3, выключатель СЕТЬ – 4, индикатор включения сети – 5, переключатели: ИЗЛУЧАТЕЛИ – 6, ИНТЕНСИВНОСТЬ, ВТ/СМ2 – 7, РЕЖИМ РАБОТЫ – 8, и процедурные часы – 9.
На задней стенке электронного блока установлены ножки, служащие для предохранения провода сети от изгиба и крепления его и сетевой вилки 3 во время транспортирования аппарата.
В комплект аппарата входит футляр, в котором размещены стаканы для лекарственных и дезинфицирующих веществ и шпатель для нанесения контактирующих сред. Конструкцией футляра предусмотрены гнёзда для установки излучателей в перерывах между процедурами.
Рис.1 Вид электронного блока аппарата со стороны левой панели:
1- ручка, 2- разъём ВЫХОД для подключения кабеля излучателя, 3- индикатор выходного напряжения, 4- выключатель СЕТЬ, 5- индикатор включения сети, 6- переключатель ИЗЛУЧАТЕЛИ, 7- переключатель ИНТЕНСИВНОСТЬ, ВТ/СМ2, 8- переключатель РЕЖИМ РАБОТЫ, 9- процедурные часы.
4.2. Схема электрическая функциональная и принцип работы аппарата.
4.2.1. Схема электрическая функциональная электронного блока аппарата представлена на рис. 2.
Схема электрическая принципиальная приведена в приложение 3.
Рис. 2. Схема электрическая функциональная электронного блока аппарата УЗТ-1.03 У.
1- автогенератор, 2- модулятор, 3- буферный каскад, 4- предусилитель, 5- усилитель выходной, 6- индикатор выходного напряжения, 7- импульсный генератор, 8- блок питания, 9-процедурные часы.
Электронный блок предназначен для получения напряжения возбуждения ультразвукового излучателя в непрерывном и импульсном режимах работы.
В непрерывном режиме напряжение возбуждения представляет собой гармонические колебания с частотой 0,88 МГц, импульсом – последовательность высокочастотных импульсов – той же частоты заполнения длительностью = 2,4 и 10мс и периодом следования Тп= 20мс. Колебания ультразвуковой частоты генерируются в автогенераторе 1 и через модулятор 2 на вход буферного каскада 3, предназначенного для ослабления влияния последующих каскадов на параметры генерируемого сигнала. В импульсном режиме модуляция осуществляется путём подачи на вход модулятора 2 импульсов положительной полярности с выхода импульсного генератора 7. В непрерывном режиме на вход модулятора подаётся постоянное напряжение, соответствующее уровню логической единицы. В цепь эмиттера транзистора буферного каскада 3 включён ступенчатый регулятор интенсивности, с выхода которого сигнал подаётся на вход предусилителя 4, где усиливается до уровня, необходимого для нормальной работы выходного усилителя 5. Выходной усилитель 5 предназначен для усиления мощности сигнала для значения, требуемого для получения заданной интенсивности ультразвукового излучения.
Наличие напряжение на выходе электронного блока индицируется по свечению светодиода индикатора выходного напряжения 6.
Аппарат питается от сети переменного тока. Блок питания 8 содержит стабилизированные выпрямители +6В и +50В. последний включается через контакты процедурных часов 9.
4.2.2. Автогенератор служит для получения колебаний частоты 0,88 МГц. Он собран на трёх элементах «И-НЕ» (D1.1, D1.2, D1.3) цифровой микросхемы D1. Частота автогенератора стабилизирована кварцем.
Собственно генератор колебаний ультразвуковой частоты построен на элементах D1.1 и D1.3. Элемент D1.2 служит для ослабления влияния последующих каскадов на работу автогенератора. Нестабильность частоты генерируемых колебаний не хуже 10-5.
4.2.3. Модулятор предназначен для осуществления импульсной модуляции ультразвуковых колебаний. Он включает в себя пере- множитель, выполненный по схеме «И-НЕ» на элементе D1.4 микросхемы D1, и ключевой усилитель-инвертер, выполненный на транзисторе V3.
На один из входов микросхемы D1 (вывод 12) поступает напряжение с выхода автогенератора, на другой вход микросхемы D1 (вывод 13) с выхода импульсного генератора. В момент совпадения напряжений на обоих входах элемента D1.4 на его выходе (вывод 11) имеется напряжение, огибающая которых идентична огибающей модулирующего импульса. В непрерывном режиме на выход 13 вместо импульсного подаётся постоянное напряжение, поэтому на выходе модулятора – коллекторе транзистора V3 напряжение ультразвуковой частоты по форме такое же, как и на входе.
Рис. 3. Функциональная схема импульсного генератора.
1-обостритель, 2-диференцирующая цепочка, 3-ждущий мультивибратор, 4-инвертер.
4.2.4. Модулирующие импульсы создаются в импульсном генераторе (рис.3). Модулирующие импульсы длительностью 2мс и 4мс генерируются в ждущем мультивибраторе, а длительностью 10мс формируются и синусоидального напряжения сети с помощью обострителя.
Сигналом, задающем период следования (Тп = 20мс) модулирующих импульсов, является синусоидальное напряжение частоты 50 Гц, снимаемое с обмотки У1 силового трансформатора Т1. Крутизна фронтов синусоидального напряжения недостаточна для запуска ждущего мультивибратора. Поэтому с целью повышения крутизны фронтов напряжение подаётся на обостритель. Обостритель выполнен по схеме триггера Шмитта на двух элементах D2.1 и D2.3 цифровой микросхемы D2. Вход микросхемы защищён от пробоя с помощью параллельного несимметричного ограничителя, состоящего из резистора R1 и стабилитрона V1.
Положительный потенциал на входе микросхемы ограничивается на уровне напряжения стабилизации стабилитрона (около 3,5В), а отрицательный – на уровне падения напряжения на прямом сопротивлении стабилитрона (менее 0,4В).
На выходе первого каскада обострителя – элементе D2.1 формируется последовательность импульсов с частотой 50 Гц и длительностью 10мс, которые без дальнейшего формирования используются в качестве модулирующих импульсов 10мс и подаются на вход модулятора. Модулирующие импульсы длительностью 2 мс и 4мс формируются в ждущем мультивибраторе (рис.3), который запускается продифференцированными импульсами с выхода обострителя. Ждущий мультивибратор совместно с дифференцирующей цепочкой выполнен на микросхеме D3.
Регулировка длительности импульсов осуществляется потенциометрами R12 и R14. Напряжение с выхода ждущего мультивибратора на вход модулятора подаётся через инвертер, собранный на одном элементе D2.4 микросхемы D2. Назначение инвертора – развязка ждущего мультивибратора (не допускающего работы на ёмкость свыше 100 пФ) от большей ёмкости С2, стоящей на входе модулятора. Ёмкость С2 является элементом фильтра R3, С2 подавление импульсных помех, поступающих с выхода ждущего мультивибратора при отжатых кнопках РЕЖИМ РАБОТЫ (длительность импульсных помех – 1-2 мин). Эти помехи при отсутствии фильтра приводили бы к ложной индикации о наличии напряжения на выходе аппарата при отжаты кнопках РЕЖИМ РАБОТЫ, т.к. индикатор выходного сигнала содержит в своём составе пиковый детектор, запоминающий как сигнал, так и упомянутую выше помеху.
4.2.5. Буферный каскад построен по схеме эмиттерного повторителя на транзисторе V4 и выполняет функцию развязки автогенератора от ступенчатого регулятора интенсивности. Последний предназначен для установки амплитуды напряжения на входе предусилителя, соответствующей заданной интенсивности ультразвуковых колебаний излучателя, и реализован в виде резисторов, стоящих в цепи эмиттера V4, коммутируемых переключателем S4.
4.2.6. Предусилитель служит для возбуждения выходного усилителя. Он выполнен на транзисторе V5 по схеме с общим эмиттером и с целью повышения стабильности коэффициента усиления охвачен глубокой отрицательной обратной связью. Согласование предусилителя с выходным усилителем и выделение первой гармоники частоты 0,88 МГц осуществляется с помощью П-образного фильтра С8, L3, С12-С15.
















