49649 (609190)
Текст из файла
Министерство образования и науки Российской Федерации
Федеральное агентство по образованию
Марийский государственный технический университет
Кафедра информатики и
системного программирования
Курсовая работа по дисциплине информатика на тему:
Деление чисел в нормализованной форме
Выполнила: студент ИВТ-11
Васильев Иван Федорович
Проверила: старший преподаватель
Кафедры ИиСП Иванова И.Н.
Йошкар-Ола
2009
Содержание
1. Теоретическая часть
1.1 Теория
1.2 Описание метода решения
2. Алгоритм (блок-схема) работы программы
2.1 Листинг программы
2.2 Тестирование программы
3. Вывод
Введение
Постановка задачи:
Ввод: два числа в десятичной СС в естественной форме. Программа переводит числа в нормализованную форму, делит нормализованные числа.
Вывод: частное от деления в нормализованной форме в десятичной СС.
В данной курсовой работе показан один из алгоритмов деления чисел в нормализованной форме. Такие программы удобны для быстрого получения нормализованного произведения чисел с помощью TP Pascal. Для реализации поставленной задачи я использовала теоретические сведения из курса информатики и ПнаЯВУ, а также полученные ранее знания в области программирования.
1. Теоретическая часть
1.1 Теория
Пусть имеются два числа X1 = M1·pk1 и X2 = M2·pk2 (здесь индексы у мантиссы и порядка означают не систему счисления, а служат номерами чисел). Умножение должно начинаться с выявления большего из k1 и k2, нахождения модуля их разности
k =|k1 - k2| и сдвига вправо на
k разрядов мантиссы того числа, у которого k оказался меньше. Операция деления, проводимая как над целыми, так и вещественными числами, приводит в общем случае к появлению вещественного числа, поэтому целые числа предварительно преобразуются в вещественный тип, т.е. переводятся в нормализованную форму. Очевидно, при делении X1
X2 мантисса частного M = M1/M2, а порядок k = k1-k2. При этом непосредственно операция деления сводится к сдвигу делителя вправо и последовательному вычитанию его из делителя (т.е. сложения с дополнительным кодом вычитаемого). Как и в предыдущих операциях, результат деления при необходимости нормализуется.
1.2 Описание метода решения
Метод решения заключается в считывании из INPUT в файл чисел, переписывании чисел без разделения их на целую и дробную части, подсчитывании количества разрядов чисел, выбора большего разряда, и сдвига вправо на k разрядов меньшего числа, затем деления нормализованных чисел, если возникает необходимость - нормализации результата, и вывода суммы в OUTPUT.
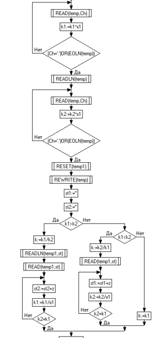
2. Алгоритм (блок-схема) работы программы
2.1 Листинг программы
Программа считывает числа в файл, убирает ‘. ’, считает количество разрядов - k умножаем на 10, до тех пор пока не дойдем до дробной части, с помощью IF THEN ELSE находим больший k у одного из чисел, а к меньшему числу добавляем нули, тем самым сдвигая его вправо, в то же время делим больший k на 1 разряд, предварительно присвоив его другому элементу, до тех пор пока k1 не будет равно k2, записываем в файл числа построчно, начиная с “0. ” - для нормализации, затем нули (если таковые имеются), и само число без “. ”. Считываем записанное построчно как числа и выполняем деление. Часто возникают ситуации, когда необходима нормализация результата, его нормализуем таким же образом как и вводимые числа. Выводим результат + “*k”.
PROGRAM DELENIEVNORMFORME;
USES CRT;
CONST
pt='0. ';
z='0';
x1=10;
VAR
lst1,lst2: INTEGER;
j,x,M,k1,k2,k: REAL;
st,st1,st2,jst,xst: string;
temp,temp1: text;
Ch: CHAR;
BEGIN
ASSIGN (temp, 'temp. DAT'); { Создаем временные файлы, для промежуточных преобразований над числами }
ASSIGN (temp1, 'temp1. DAT');
REWRITE (temp);
REWRITE (temp1);
WRITELN ('Введите первое число: '); {Считываем оба числа в файл}
READ (st);
WRITELN (temp,st);
WRITELN ('Введите второе число: ');
READLN;
READLN (st);
WRITE (temp,st);
k1: =1;
k2: =1;
RESET (temp);
WHILE NOT EOF (temp) {Переписываем числа во второй файл, убирая '. '}
DO
BEGIN
WHILE NOT EOLN (temp)
DO
BEGIN
READ (temp,Ch);
IF (Ch = '. ')
THEN
ELSE
WRITE (temp1,Ch);
END;
READLN (temp);
WRITELN (temp1)
END;
RESET (temp);
REPEAT {Считаем количество разрядов первого числа}
BEGIN
READ (temp,Ch);
k1: =k1*x1;
END
UNTIL (Ch = '. ') OR (EOLN (temp));
READLN (temp);
REPEAT {Считаем количество разрядов второго числа}
BEGIN
READ (temp,Ch);
k2: =k2*x1;
END
UNTIL (Ch = '. ') OR (EOLN (temp));
RESET (temp1);
REWRITE (temp);
st1: ='';
st2: ='';
IF k1>k2 {ищем на сколько разрядов сдвигать вправо меньшее число }
THEN
BEGIN
k: =k1/k2;
READLN (temp1,st);
READ (temp1,st);
REPEAT
BEGIN
st2: =st2 + z;
k1: =k1/x1;
END;
UNTIL k2=k1;
END
ELSE
IF k1 THEN BEGIN k: =k2/k1; READ (temp1,st); REPEAT BEGIN st1: =st1 + z; k2: =k2/x1; END UNTIL k2=k1; END ELSE k: =k1; st1: =pt+st1; {Нормализуем числа} st2: =pt+st2; RESET (temp1); REWRITE (temp); READLN (temp1,jst); READ (temp1,xst); WRITE (temp,st1,jst); WRITELN (temp); WRITE (temp,st2,xst); RESET (temp); READLN (temp,j); READ (temp,x); M: = (j/x); {делим} IF M > 1 { при необходимости результат деления нормализуем } THEN BEGIN REWRITE (temp); REWRITE (temp1); WRITE (temp,M: 1: 10); RESET (temp); WHILE NOT EOLN (temp) DO BEGIN READ (temp,Ch); IF Ch = '. ' THEN ELSE WRITE (temp1,Ch); END; RESET (temp1); READ (temp1,st); WRITE ('Частное от деления в нормализованной форме: ','0. ',st,'*',k: 1: 0); END ELSE WRITE ('Частное от деления в нормализованной форме: ', M: 1: 10,'*',k: 1: 0); END. Для тестирования введем два числа На выходе имеем частное от деления в нормализованной форме При выполнении этой курсовой работы, был составлен наиболее оптимальный алгоритм деления чисел в нормализованной форме. Более глубоко изучена работа со строковыми данными и типами REAL и INTEGER. Эта программа в первую очередь наиболее необходима людям, которые вручную делят числа в нормализованной форме, чтобы заменить ручной труд на машинный. 2.2 Тестирование программы
3. Вывод
Характеристики
Тип файла документ
Документы такого типа открываются такими программами, как Microsoft Office Word на компьютерах Windows, Apple Pages на компьютерах Mac, Open Office - бесплатная альтернатива на различных платформах, в том числе Linux. Наиболее простым и современным решением будут Google документы, так как открываются онлайн без скачивания прямо в браузере на любой платформе. Существуют российские качественные аналоги, например от Яндекса.
Будьте внимательны на мобильных устройствах, так как там используются упрощённый функционал даже в официальном приложении от Microsoft, поэтому для просмотра скачивайте PDF-версию. А если нужно редактировать файл, то используйте оригинальный файл.
Файлы такого типа обычно разбиты на страницы, а текст может быть форматированным (жирный, курсив, выбор шрифта, таблицы и т.п.), а также в него можно добавлять изображения. Формат идеально подходит для рефератов, докладов и РПЗ курсовых проектов, которые необходимо распечатать. Кстати перед печатью также сохраняйте файл в PDF, так как принтер может начудить со шрифтами.
















