48358 (608562), страница 3
Текст из файла (страница 3)
Состав внутримашинного ИО показан на рис. 1.
В качестве структурной модели БД используется реляционная модель. В основе лежит понятие отношения. Фактически БД представляет собой совокупность таблиц отношений, в которых строки являются кортежами, а столбцы доменами.
Для РМД характерно:
-
отсутствие одинаковых строк;
-
произвольное взаимное расположение строк и столбцов;
-
каждый элемент отношения, стоящий на пресечении строк и столбцов, не может быть составным.
При организации РБД каждый домен помечается идентификатором.
В РБД поисковые запросы формируются на языке, основанном на алгебре отношений. Результатом поиска может быть как один кортеж, так и несколько кортежей, состоящих из одного или нескольких доменов.
Преимущества РБД:
-
простота построения и восприятия;
-
практически готовый простой и гибкий язык, взятый из алгебры отношений;
-
легкость реорганизации БД (перестановка строк и столбцов, добавление новых, удаление);
-
простота работы с БД для широкого круга пользователей.
Недостатки Реляционной модели данных:
низкая эффективность использования ресурсов вычислительной системы, но нет тех недостатков, которые имели место в иерархической и сетевой моделях.
Группа БД распределенная. В случае централизованной БД при очень больших объемах данных для любой ее организации усугубляется проблема ее ведения и поддержания в актуальном состоянии. Кроме того, с ростом объема данных нелинейно, то есть очень быстро, возрастает время поиска и извлечения необходимых данных, время доступа к ним. Это приводит к необходимости разделения БД, ее рапсределении по местам сбора и обработки данных при сохранении возможности взаимного обмена между распределенными частями общей БД или локальными БД.
Таким образом, распределенная БД представляет собой совокупность взаимосвязанных территориально разнесенных локальных БД, использующих одну общую систему управления распределенной БД (см схему 1). Каждая локальная БД представляет собой либо файловую систему, либо БнД со своей локальной СУБД, либо использующая и то и другое.
Для пользователя организуется доступ к другим БД, который должен быть простым.
Распределенная БД является составной частью распределенной системы обработки данных, которая включает также распределенные вычислительные ресурсы, то есть совокупность ЭВМ, распределенную систему управления этими ресурсами операционные системы, соединенные с главной ЭВМ, соединяющую их сеть передачи данных.
2.5 Организация внемашинной базы
Документооборот данного объекта представлен на схеме 2 (п.2.2. организация сбора и передачи информации), в п.2.2 описан сбор, передача, хранение информации.
Схема 3. Общая структура ТП
3. Разработка технического обеспечения системы
3.1 Структура КТС системы
В данном проекте будут рассмотрены три варианта систем обработки информации:
I. Децентрализованный с передачей по КС
II. Децентрализованный с передачей курьером
III. ЛВС
При проектировании ТО системы используем исходные данные, приведенные в п. 1.6
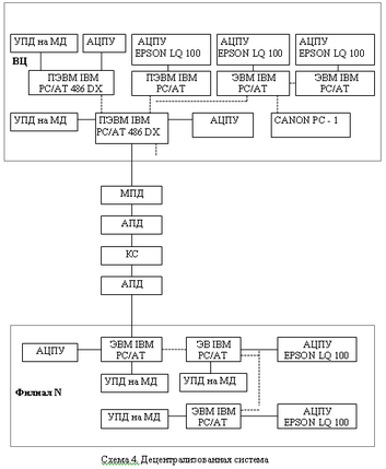
I. Децентрализованная система с передачей по КС.
Предполагается связь абонента (т.е. подразделения) с ВЦ по КС, передача данных по КС. Эта система, однако, менее эффективна по сравнению с ЛВС, где предполагается также передача некоторых документов и машинных носителей курьером, что обеспечит снятие большой нагрузки с КС, а также передачу административных документов, требующих подпись Председателя Правления или других лиц. КС менее эффективен еще и потому, что существуют большие помехи, чем ЛВС (сеть более устойчива и помехозащищена).
Структура КТС I представлена на схеме.
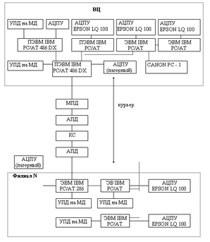
II. Децентрализованная система с передачей курьером.
Предполагается связь абонента с ВЦ посредством передачи пакетов курьером (на схеме 4 отсутствует структура АПД-КС-АПД-МПД. Она заменена курьером), что значительно задерживает время системы на запрос и ведет к неэффективному использованию рабочего времени.
При объединении I и II системы исчезают недостатки II системы (увеличивается время ответа системы на запрос, эффективнее используется рабочее время). Однако остаются недостатки сиcтемы I, описанной выше.
Для расчетов рассмотрим объединенный вариант системы I и II с целью получения результатов, более приближенных к действительности ( см схему 5).
Схема 5. Децентрализованная система
III ЛВС.
Разработка ЛВС:
1. Конечная цель создания ЛВС включает в себя ряд задач:
-
сократить число командировок путем организации тематических конференций и совещаний по сети;
-
уменьшить затраты на коммуникацию удаленных объектов;
-
обеспечить оперативную передачу документов, включая графическую информацию;
-
выдача в срок различных отчетов и заявок;
-
облегчает процесс внесения срочных незапланированных изменений в проекты, заявки и другие документы;
-
сокращает время на проведение расчетов;
-
улучшает качество получаемой информации за счет создания собственной БД.
2. Исходные данные приведены в п.1.6
3. Максимальное расстояние между станциями - 0,6 км, совместно используются центральные ЭВМ (ГЭВМ), моноканальная система. Широко применяется электронная почта.
4. Передача данных через "почтовый ящик".
Применение данного метода передачи сообщений наиболее эффективно, так как позволяет передавать пакет документов в сжатом виде и в быстрые сроки, сокращает количество времени, необходимое для передачи данных.
Суть метода:
Индекс "почтового ящика" присваивается абонентам - источникам сообщению размером не более 256 кБайт и не обязательно подлежит срочной передаче. Если адресат занят, то на определенное время сообщение находится на хранении в "почтовом ящике". Максимальное время хранения сообщений должно быть не более 48 часов. Стандартный объем "потовго ящика" не менее 1мбайт (приблизительно 400 страниц текста). Если нет возможности передать сообщение адресату, то по истечению 48 часов оно передается обратно источнику с сообщением о возврате.
"Потовый ящик" состоит из описания каталогов (почтовых ящиков), каталога почтовых ящиков адресатов, каталога сообщений "почтового ящика" каждого конечного адресата и линейного пространства внешней памяти, в котором хранятся тексты сообщений. Описание и каталоги находятся в оперативной памяти.
Доступ к "почтовому ящику" реализуется через описатель каталога "почтового ящика" адресата. Описатель содержит: бит доступа; число страниц памяти, отводимых под каталог; текущее число адресатов в каталоге и номера физических страниц памяти, в которых находится каталог почтовых ящиков адресатов. Адрес местонахождения описателя находится в описателе системных параметров администраторов системы. Доступ к описателю осуществляется по специальной команде, обеспечивающей его блокировку.
Каталог "почтовых ящиков" адресатов занимает одну или две страницы оперативной памяти и ориентирован на описание "почтовых ящиков" адресатов, число которых не больше числа строк каталога. Каждая строка каталога есть описатель "почтового ящика" адресата. В нем указаны: индекс адресата адрес ПЭВМ, допущенной к режиму "почтового ящика", максимальное время хранения сообщений в "почтовом ящике" для данного адресата (увеличение срока хранения может быть специально задано); объем используемой физической памяти под "почтовый ящик " алресата; страницы оперативной памяти, отведенные для каталога "почтового ящика" адресата.
Каждому адресату соответствует один "почтовый ящик" (длина страницы - 2048 байт и длина строки 16 байт, может быть описана до 128 "почтовых ящиков" адресатов).
Описатель сообщения включает параметры: бит занятости, адрес источника сообщений, номер сообщения и его длину в битах, время занесения в "почтовый ящик", таблицу соответствия страниц.
Если сообщение поступает на хранение, то производится поиск в каталоге "почтовых ящиков" адресатов строки, соответствующей адресату, к используемой памяти добавляется объем данного сообщения, а к числу сообщений 1. Определяется номер свободной строки в каталоге и заполняются параметры, а сообщение передается в свободные страницы внешней памяти. Номера страниц заносятся в ТСС.
Изъятие сообщений происходит аналогично.
5. Выбор и обоснование топологии ЛВС.
Основными факторами, влияющими на выбор являются:
-
среда передачи информации (тип кабеля);
-
метод доступа к среде;
-
максимальная протяженность сети;
-
пропускная способность сети;
-
метод передачи и др.
Выбор типа кабеля.
Выбирается в зависимости от области применения, которая олределяется типом объекта и отношением его к промышленной или непромышленной сфере производства.
В данном случае: наиболее эффективен коаксиальный кабельь (широкополосной 75 Ом), топология сети древовидная (ее достоинство состоит в том, что центральные узлы расположены иерархически; детализация обработки в центральных узлах позволяет в какой-то мере устранить недостаток звездобразной топологии трудность обеспечения надежности работы при отказах центрального узла. Однако, исключается возможность альтернативного выбора маршрута), максимальная пропускная способность до 400 мБит / сек, максимальное число узлов в сети 2500 и более, максимальная длина 80 км.
Основные достоинства: обеспечивает одновременную передачу речи, данных, изображения; высокую помехозащищенность; легко разветвляется.
Основные недостатки: высокая стоимость, требуется применение дополнительных модемов, что ограничивает скорость передачи окошечных систем.
На основании определенных выше топологий сети и требований к ЛВС выбираем методы доступа к каналу: случайные.
Недостатки и достоинства методов описаны в таблице 6.
Таблица 6
Сравнительная характеристика случайных и детерминированных методов доступа к каналу.
| Характеристика | Случайные методы доступа | Детерминированные методы |
| 1. Структура ЛВС. | наиболее широко применяются (и перспективны) в шинной, непригодны для кольцевой. | наиболее широко применяются в кольцевой, шинной структурах. |
| 2. Область применения. | непромышленная среда | промышленная среда (производство). |
| 3. Достоинства. | простота реализации; низкое время задержки при малых нагрузках на сеть; обеспечение максимальной скорости доступа к каналу; все абоненты равноправны и могут вступать на передачу в любое время | гарантирует предельно допустимое время доставки пакета; длина передаваемого пакета больше, чем у случайных методов доступа. |
| 4. Недостатки. | нестабильная работа при увеличении нагрузки (числа станций); не гарантируется своевременная доставка пакета; нельзя использовать в промышленной сфере; | требует организации сложной службы управления маркером; методы более сложны, чем случайные методы доступа; |
Последовательность шагов, которые предпринимают станции при использовании метода случайного доступа в моноканал, показана на рис 2.
















