48221 (608504)
Текст из файла
Пояснительная записка
к курсовой работе
по дисциплине программирование на языке высокого уровня
Калькулятор
2002 г.
Содержание
Введение
1. Метод решения
2. Описание программы
3. Руководство пользователя
Работа с памятью:
Горячие клавиши:
Использование меню
Измерение углов в градусах и радианах
4. Результаты моделирования
Введение
Программы, работающие на компьютере, можно разделить на три категории:
-
Прикладные программы, непосредственно обеспечивающие выполнение необходимых пользователям работ: редактирование текстов, рисование, обработку информационных массивов и т.д.
-
Системные программы, выполняющие различные вспомогательные функции, например диагностика компьютера или резервное копирование информации.
-
Инструментальные системы (системы программирования), обеспечивающие создание новых программ.
Данные категории программ в свою очередь так – же разделяются на несколько разделов. Например, прикладные программы можно разделить по уровню сложности обработки информации и результатов. Для математических вычислений существует множество различных програмных продуктов. Это известные всем пакеты MathCad, MathLab, Mathematika, Axum. Есть и более порстые: всевозможные программы – калькуляторы (имитирующие работу обычного калькулятора). В среде Windows есть такая программа (Calc.exe), по аналогии с ней было сделано данное задание.
Задание
Написать программу «Калькулятор». Использовать одно поле для ввода операторов и для вывода результата. Предусмотреть возможность выбора типа калькулятора: обычный или инженерный. С помощью инженерного можно вычислять: тригонометрические функции (для углов в градусах и радианах), возведение в степень, факториал, логарифм, экспоненту, целочисленное деление и т.п.
-
-
Метод решения
В программе «Калькулятор» использовано одно поле для ввода операторов и для вывода результата. В поле вывода данных числа отображаются с точностью 6 знаков после запятой. Проект имеет 6 модулей, каждый из которых содержит свою форму. Главный модуль проекта называется CALC, связанный с первой формой Form1. На данной форме находится меню управления (для выбора действий программы), строка состояния (вывод подсказки), фоновый рисунок (обращение к файлу Fon.jpg).
Формы модулей Unitcalc3 и Unitcalc5 содержат одно поле для ввода и вывода результата. Unitcalc3 – обычный калькулятор, Unitcalc5 – инженерный (расширенный набор действий).
Для представления справочной информации в программе использован модуль Unitcalc2, с обращением компонента Memo к файлу помощи Help.txt.
Модуль Unitcalc4 с формой Form4 имеет заголовок «About». Данный модуль обращается к файлу – рисунку Im.bmp и выводит на экран информацию об авторе.
Модуль Unit6 - выводит на экран мигающую заставку (использован компоненты Timer и Image). Окно заставки содержит кнопку для ее закрытия.
Примечание: файлы Help.txt, Fon.jpg, Im.bmp и Skull1.jpg должны находится в том же каталоге, что и основной файл программы.
Предусмотрена возможность выбора типа калькулятора: обычный или инженерный. С помощью обычного режима можно вычислять только четыре элементарные функции: сложение (x + y), вычитание (x - y), умножение (x * y) и деление (x / y). С помощью инженерного можно вычислять: тригонометрические функции для углов в градусах и радианах (блок-схема алгоритма приведена в Приложении 2), возведение в квадрат (y2), куб (y3) степень (
), факториал (y!=1*2*3*…*y), натуральный логарифм (ln(y)), деление (1/y) и т.п. (блок-схема алгоритма вычисления результатов по нажатию кнопки = приведена в Приложении 1). В тригонометрических вычислениях функция тангенс угла вычисляется с помощью отношения синуса к косинусу (sin/cos).
-
Описание программы
Программа Calc for win (calc4win.exe) разработана в среде Delphi версии 6.
Для хранения данных в программе используются глобальные переменные типа string, char, real, integer.
Вывод рисунка из файла на диске в форму осуществляется с помощью процедуры LoadFromFile(Name).
Вывод текстовой информации из файла помощи Help.txt производится процедурой Form2.Memo1.lines.Add(s).
Предусмотрен вывод сообщений с помощью функции MessageDlg при делении на нуль, извлечении корня из отрицательного числа, а также вычислению логарифма отрицательного числа и выхода значений числовой переменной за пределы определенных числовых типов.
-
Руководство пользователя
Данная программа предназначена для выполнения математических вычислений, имитируя действия калькулятора. Для работы с ней нужно запустить файл Calc4win.exe. В каталоге, содержащем файл Calc4win.exe, есть графический файл использующийся для оформления информационной формы. Аппаратные требования: мышь/клавиатура. Системные требования: 486 или совместимый процессор, 16 Mb RAM, ОС Windows9x. Для работы программы требуется 707 kb дискового пространства.
Для начала работы нужно запустить исполнимый файл Calс4win.exe.
Программа Calc for win имеет два режима работы: Обычный и Инженерный, которые можно выбрать в меню Вид.
В Обычном режиме калькулятор вычисляет только четыре элементарные функции (сложение, вычитание, умножение и деление).
В Инженерном выполняются такие функции как возведение в степень, факториал, логарифм, тригонометрические вычисления, округление результата до целого, работа с памятью и т.п. Предусмотрен выбор угла: градусы или радианы.
Инструкция по эксплуатации программы:
-
Выполнение простых вычислений:
-
В меню Вид выберите Обычный или нажмите клавишу F2;
-
Введите первое число;
-
Нажмите кнопку + (сложение), - (вычитание), * (умножение) или / (деление);
-
Введите следующее число;
-
Введите необходимый оператор;
-
Введите остальные числа и операторы;
-
Нажмите кнопку =.
-
Выполнение инженерных вычислений:
-
В меню Вид выберите Инженерный или нажмите клавишу F3;
-
Выберите систему счисления;
-
Введите первое число;
-
Выберите нужный оператор;
-
Введите следующее число;
-
Введите остальные операторы и числа;
-
Нажмите кнопку =.
Работа с памятью:
-
Чтобы занести число в память, нажмите кнопку M write;
-
После сохранения числа над кнопками памяти на панели калькулятора появится индикатор M. Каждое новое число, занесенное в память, заменяет предыдущее;
-
Чтобы вызвать число из памяти, нажмите кнопку M read;
-
Чтобы очистить память, нажмите кнопку M clear;
-
Чтобы сложить или вычесть отображаемое число с числом, хранящимся в памяти, нажмите кнопку M + или M-. Чтобы вызвать результат, нажмите кнопку M read;
Горячие клавиши:
F1 – Вызов справки;
F10 – Выход из программы;
F2 – Обычный режим работы;
F3 – Инженерный режим;
Использование меню
Для более быстрого и удобного использования Калькулятора создано меню, содержащее все основные функции программы.
-
Вид:
-
Обычный F2 (определяет Обычный режим работы Калькулятора);
-
Инженерный F3 (определяет Инженерный режим работы Калькулятора);
-
Справка:
-
Помощь F1 (открывает окно справки для облегченной и правильной работы пользователя с программой);
-
About (выводит на экран информацию об авторе);
-
Выход:
-
Выход F 10 (служит для правильного выхода их программы).
Измерение углов в градусах и радианах
Режим калькулятора Инженерный дает возможность изменять меру измерения углов. Для этого необходимо только указать в чем должен измеряться аргумент тригонометрической функции. По умолчанию это градусы DEG.
-
-
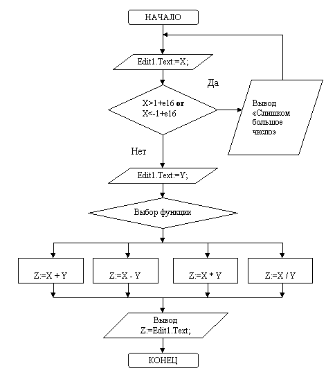
Результаты моделирования
Блок–схема алгоритма к кнопке =
Список идентификаторов, использованных в блок-схеме с кратким описанием:
-
X, Y, Z – идентификаторы типа real. Переменные используются как в
-
Обычном режиме, так и в Инженерном.
Блок–схема алгоритма вычисления факториала
Список идентификаторов, использованных в блок-схеме с кратким описанием:
-
Y, Z, Fact - идентификаторы типа real.
-
K – идентификатор типа Integer.
Текст к FORM 5
unit Unitcalc5;
interface
uses
Windows, Messages, SysUtils, Variants, Classes, Graphics, Controls, Forms,
Dialogs, StdCtrls, ExtCtrls;
type
TForm5 = class(TForm)
Edit1: TEdit;
Edit2: TEdit;
Button1: TButton;
Button2: TButton;
.
.
Button39: TButton;
Label1: TLabel;
Label2: TLabel;
Bevel1: TBevel;
Bevel2: TBevel;
Bevel3: TBevel;
Bevel4: TBevel;
Bevel5: TBevel;
Bevel6: TBevel;
Bevel7: TBevel;
Bevel8: TBevel;
RadioGroup1: TRadioGroup;
RadioButton1: TRadioButton;
RadioButton2: TRadioButton;
procedure Button1Click(Sender: TObject);
.
.
procedure Button39Click(Sender: TObject);
procedure RadioButton1Click(Sender: TObject);
procedure RadioButton2Click(Sender: TObject);
private
{ Private declarations }
public
{ Public declarations }
end;
var
Form5: TForm5;
s,s1,c:string;t,i,j:integer;
x,y,z,m,f:real;cf:char;
implementation
{$R *.dfm}
procedure operat(x,y:real;c:string;var z:real);
begin
if c='+' then z:=x+y;
if c='-' then z:=x-y;
if c='*' then z:=x*y;
if c='x^y' then z:=exp(y*ln(x));
if (c='/') then
if (y<>0) then z:=x/y else
messagedlg('На 0 делить нельзя',mterror,[mbok],0);
if c='' then z:=y;
end;
procedure okr(var c:string);
var i,j:integer;x:real;
begin
i:=length(c); j:=i;
while copy(c,j,1)='0' do
begin
delete(c,j,1);
j:=j-1;
end;
val(c,x,i);
if (x>1E+16) or (x<-1E+16) then
begin
s:=' 0';
messagedlg('Слишком большое чиссло',mtcustom,[mbok],0);
end;
end;
procedure o(p:string; var c,c1:string);
begin
if length(c)<16 then
begin
c:=c+p;c1:=c;
end;
end;
procedure TForm5.Button10Click(Sender: TObject);
begin
o('0',s,s1);
edit1.text:=(' '+s)
end;
procedure TForm5.Button1Click(Sender: TObject);
begin
o('1',s,s1);
edit1.text:=(' '+s)
end;
.
.
.
procedure TForm5.Button9Click(Sender: TObject);
begin
o('9',s,s1);
edit1.text:=(' '+s)
end;
procedure TForm5.Button20Click(Sender: TObject);
begin
if copy(s,1,1)='-'
then delete(s,1,1)
else s:='-'+s ;
s1:=s;
edit1.text:=(' '+s)
end;
procedure TForm5.Button16Click(Sender: TObject);
begin
val(s1,y,i);
operat(x,y,c,z);
x:=z; c:='+';
str(z:6:6,s); okr(s);
edit1.text:=(' '+s);
s:='' ;t:=0;
end;
procedure TForm5.Button21Click(Sender: TObject);
begin
val(s1,y,i);
operat(x,y,c,z);
x:=z; c:='-';
str(z:6:6,s);okr(s);
edit1.text:=(' '+s);
s:='' ;t:=0;
end;
procedure TForm5.Button15Click(Sender: TObject);
begin
val(s1,y,i);
operat(x,y,c,z);
x:=z; c:='*';
str(z:6:6,s);okr(s);
edit1.text:=(' '+s);
s:='';t:=0;
end;
procedure TForm5.Button14Click(Sender: TObject);
begin
val(s1,y,i);
operat(x,y,c,z);
x:=z; c:='/';
str(z:6:6,s); okr(s);
edit1.text:=(' '+s);
s:='';t:=0;
end;
procedure TForm5.Button26Click(Sender: TObject);
begin
val(s1,y,i);
16>Характеристики
Тип файла документ
Документы такого типа открываются такими программами, как Microsoft Office Word на компьютерах Windows, Apple Pages на компьютерах Mac, Open Office - бесплатная альтернатива на различных платформах, в том числе Linux. Наиболее простым и современным решением будут Google документы, так как открываются онлайн без скачивания прямо в браузере на любой платформе. Существуют российские качественные аналоги, например от Яндекса.
Будьте внимательны на мобильных устройствах, так как там используются упрощённый функционал даже в официальном приложении от Microsoft, поэтому для просмотра скачивайте PDF-версию. А если нужно редактировать файл, то используйте оригинальный файл.
Файлы такого типа обычно разбиты на страницы, а текст может быть форматированным (жирный, курсив, выбор шрифта, таблицы и т.п.), а также в него можно добавлять изображения. Формат идеально подходит для рефератов, докладов и РПЗ курсовых проектов, которые необходимо распечатать. Кстати перед печатью также сохраняйте файл в PDF, так как принтер может начудить со шрифтами.
















