150898 (598894), страница 6
Текст из файла (страница 6)
для неявнополюсной машины
. (1.25б)
Рис. 1.29 – Характеристики холостого хода и короткого замыкания (а) и векторная диаграмма явнополюсной машины при коротком замыкании (б)
Определение индуктивных сопротивлений xd и xq. Из формулы (1.25а) можно определить синхронное индуктивное сопротивление машины по продольной оси
, (1.26a)
где э. д. с. Е0 и ток Iк должны быть взяты при одном и том же значении тока возбуждения (рис. 1.29, а). Для прямолинейного участка характеристики холостого хода безразлично, при каком токе возбуждения определяется xd, так как во всех случаях xd = const. Такое же значение сопротивления xd будет при любом значении тока возбуждения, если величину Е0 находить по спрямленной характеристике холостого хода. Полученное таким путем значение xd будет соответствовать ненасыщенной машине. Для насыщенной машины значение xd уменьшается и его можно было бы определить по формуле (1.26а), подставляя в нее действительное значение э.д. с, полученное по характеристике холостого хода. Однако значение xdнас с учетом насыщения будет справедливо только для одной точки характеристики, соответствующей определенной величине потока по продольной оси. Изменение тока возбуждения ведет к изменению хdнас, при этом приходится оперировать с переменной величиной, что крайне неудобно. Поэтому практически употребляется только ненасыщенное значение xd, а учет насыщения, если это требуется, производится непосредственным определением соответствующих э. д. с. по характеристике холостого хода (как это было показано при построении диаграммы Потье).
Если известны коэффициенты приведения kd и kq, то по полученному значению xd можно определить синхронное индуктивное сопротивление по поперечной оси:
. (1.26б)
В неявнополюсных машинах xd = xq = xсн, т.е. хсн = Е0/Iк. Если выразить синхронные индуктивные сопротивления в относительных единицах, то
;
. (1.27)
где Iа ном и Uном–фазные значения номинальных величин тока и напряжения.
Сопротивления в относительных единицах наглядно выражают параметры машины, показывая относительную (по отношению к номинальному напряжению) величину падения напряжения при номинальном токе. Относительные величины позволяют, кроме того, сравнивать между собой свойства генераторов различной мощности.
Отношение короткого замыкания. Иногда в паспорте машины указывается величина, обратная x d*, называемая отношением короткого замыкания:
. (1.28)
Это отношение характеризует величину установившегося тока короткого замыкания Iк ном, который имеет место при токе возбуждения генератора, соответствующем номинальному напряжению
.
В современных синхронных явнополюсных машинах средней и большой мощности x d* = 0,6 ÷ 1,6, a xq* = 0,4 ÷ 1. Сопротивление x d* определяется в основном реакцией якоря, так как относительная величина индуктивного сопротивления, обусловленного потоком рассеяния, мала (xsa* = 0, l ÷ 0,2). В неявнополюсных машинах средней и большой мощности обычно сопротивление хсн* = 0,9 ÷ 2,4. При указанных значениях x d* и хq*, для гидрогенераторов kо.к.з = 0,8 ÷ 1,8, а для турбогенераторов kо.к.з = 0,5 ÷ 1,0. Следовательно, установившийся ток короткого замыкания в синхронных машинах сравнительно невелик (в некоторых машинах он меньше номинального), так как при этом режиме угол ψк ≈ 0 и поле якоря сильно размагничивает машину. Очевидно, что результирующий магнитный поток Фрез.к << Фв и э.д.с. Ек << Е0.
Коэффициент kо.к.з имеет большое значение для эксплуатации не только потому, что показывает кратность тока короткого замыкания, но также и потому, что определяет предельную величину мощности, которой можно нагрузить синхронный генератор. В этом отношении выгоднее иметь машины с большим kо.к.з, однако это требует выполнения ее с большим воздушным зазором, что существенно удорожает машину.
Определение индуктивного сопротивления хsa. Для определения xsa снимают индукционную нагрузочную характеристику генератора, т.е. зависимость его напряжения U от тока возбуждения Iв при неизменных токе нагрузки Iа = Iном, частоте f1 и cosφ = 0 (чисто индуктивная нагрузка). Нагрузочная характеристика 2 (рис. 1.30, а) проходит ниже характеристики холостого хода 1, которую можно рассматривать как частный случай нагрузочной характеристики при Iа = 0.
Рис. 1.30 – Индукционная нагрузочная характеристика синхронного генератора (а) и его векторная диаграмма при индуктивной нагрузке (б)
Так как при снятии индукционной нагрузочной характеристики в машине имеется только продольная составляющая м. д. с. Fаd реакции якоря, то, как следует из векторной диаграммы (рис. 1–30, б), результирующая м. д. с.
и напряжение машины Ù = Ė0–jİaxad–jJaxsa = Ė–jİaxsa. Точка А кривой 2 соответствует режиму короткого замыкания, т.е. значению U = 0 при Iк = Iном. Треугольник ABC называют реактивным или характеристическим треугольником; его горизонтальный катет СА соответствует току возбуждения Iв.к, компенсирующему размагничивающее действие реакции якоря Fad ном, а вертикальный катет ВС-э. д. с, необходимой для компенсации падения напряжения Ia номxsa при номинальном токе якоря. Для любой другой точки нагрузочной характеристики при φ = 90° составляющая тока возбуждения, компенсирующая размагничивающее действие реакции якоря, останется неизменной, так как величина тока якоря постоянна. Неизменным останется и падение напряжения Ia номxsa. Следовательно, нагрузочную характеристику можно получить как след вершины А реактивного треугольника при перемещении его так, чтобы вершина В скользила по характеристике холостого хода, а стороны треугольника оставались бы параллельными соответствующим сторонам первоначально построенного треугольника. В этом легко убедиться, рассматривая точку А' и треугольник А'В'С' (рис. 1.30) при номинальном напряжении Uном. В этом режиме э.д.с.
,
т.е. равна ординате точки В'; отрезок
соответствует току Iв.к, компенсирующему размагничивающее действие реакции якоря. Отрезок
соответствует составляющей тока возбуждения, необходимой для индуктирования э. д. с. Esa = Ia номxsa.
Из рассмотренного вытекает следующий способ определения индуктивного сопротивления xsa. На кривой 2 находят точку А', соответствующую номинальному напряжению Uном, и откладывают влево от этой точки отрезок
(его определяют по характеристике короткого замыкания 3 для тока Iк = Iном). Затем через точку О' проводят прямую, параллельную начальной части характеристики 1, до пересечения с этой характеристикой в точке В'. Опустив из точки В' перпендикуляр на линию О'А', получают отрезок
= Ia номxsa. Следовательно,
.
Сопротивление, найденное описанным способом, несколько превышает действительное сопротивление, обусловленное потоками рассеяния:
,
и получило название сопротивления Потье. Сопротивление хр ≈ (1,05 ÷ 1,3) хsa. Последнее объясняется тем, что в точках В' и А' токи возбуждения различны, и, хотя э. д. с. и потоки в воздушном зазоре одинаковы, при большем токе возбуждения имеет место увеличение магнитного сопротивления из-за больших потоков рассеяния обмотки возбуждения, насыщающих полюсы и ярмо индуктора, т.е. реально
.
1.9 Параллельная работа синхронной машины с сетью
Особенности работы генератора на сеть большой мощности. Обычно электростанции имеют несколько синхронных генераторов для параллельной работы на общую сеть. Это увеличивает общую мощность электростанции (при ограниченной мощности каждого из установленных на ней генераторов), повышает надежность энергоснабжения потребителей и позволяет лучше организовать обслуживание агрегатов. Электрические станции, в свою очередь, объединяют для параллельной работы в мощные энергосистемы, позволяющие наилучшим образом решать задачу производства и распределения электрической энергии. Таким образом, для синхронной машины, установленной на электрической станции, типичным является режим работы на сеть большой мощности, по сравнению с которой мощность рассматриваемого генератора является очень малой. В этом случае с большой степенью точности можно принять, что генератор работает параллельно с сетью бесконечно большой мощности, т.е. что напряжение сети Uс и ее частота f с являются постоянными, не зависящими от нагрузки данного генератора.
Рассмотрим условия включения генератора на параллельную работу с сетью и способы регулирования нагрузки.
Включение генератора на параллельную работу с сетью. При этом необходимо обеспечить возможно меньший бросок тока в момент присоединения генератора к сети. В противном случае возможны срабатывание защиты, поломка генератора или первичного двигателя.
Ток в момент подключения генератора к сети будет равен нулю, если удастся обеспечить равенство мгновенных значений напряжений сети uс и генератора и:
. (1.29)
На практике осуществление (1.29) сводится к выполнению трех равенств:
величин напряжений сети и генератора Ucm = Um или Uс = U;
частот ωс = ωг или fс = fг;
их начальных фаз αс = αг (совпадение по фазе векторов Ùc и Ù).
Кроме того, для трехфазных генераторов нужно согласовать порядок чередования фаз.
Совокупность операций, требуемых для подключения генератора к сети, называют синхронизацией. Практически при синхронизации генератора сначала устанавливают номинальную частоту вращения ротора, что обеспечивает приближенное равенство частот fс ≈ fг, а затем, регулируя ток возбуждения, добиваются равенства напряжений Uс = U. Совпадение по фазе векторов напряжений сети и генератора (αс = αг) контролируется специальными приборами – ламповыми и стрелочными синхроноскопами.
Ламповые синхроноскопы применяют для синхронизации генераторов малой мощности и обычно используют в лабораторной практике. Этот прибор представляет собой три лампочки, включенные между фазами генератора и сети (рис. 1.31, а). На каждую лампу действует напряжение Δu = uс–и, которое при fc ≠ fг изменяется с частотой Δf = fс–fг, называемой частотой биений (рис. 1.31, б). В этом случае лампы будут мигать. При fс ≈ fг разность Δи будет изменяться медленно, вследствие чего лампы будут постепенно загораться и погасать. Обычно генератор подключают к сети в момент, когда разность напряжений Δи на короткое время становится близкой нулю, т.е. в середине периода погасания ламп; в этом случае выполняется условие совпадения по фазе векторов Ùс и Ù. Для более точного определения этого момента часто применяют нулевой вольтметр, имеющий растянутую шкалу в области нуля. После включения генератора в сеть дальнейшая синхронизация частоты вращения ротора, т.е. поддержание условия n2 = n1, происходит автоматически.
Генераторы большой мощности синхронизируют с помощью стрелочных синхроноскопов, работающих по принципу вращающегося магнитного поля. В этом приборе при fc ≠ fг стрелка вращается с частотой, пропорциональной разности частот fc – fг в одну или другую сторону в зависимости от того, какая из этих частот больше. При fc = fг она устанавливается на нуль; в этот момент и следует подключать генератор к сети. На электрических станциях обычно используют автоматические приборы для синхронизации генераторов без участия обслуживающего персонала.
Часто также применяют метод самосинхронизации, при котором генератор подключается к сети при отсутствии возбуждения (обмотка возбуждения замыкается на активное сопротивление). При самосинхронизации ротор разгоняется до частоты вращения, близкой к синхронной (допускается скольжение s до 2%), за счет вращающего момента первичного двигателя и асинхронного момента, обусловленного индуктированием тока в успокоительной обмотке и замкнутой обмотке возбуждения. После этого в обмотку возбуждения подается постоянный ток, что приводит к втягиванию ротора в синхронизм. При методе самосинхронизации в момент включения генератора возникает сравнительно большой толчок тока, который не должен превышать 3,5Iа ном.
Рис. 1.31 – Схема подключения синхронного генератора к сети с помощью лампового синхроноскопа (а) и кривые изменения напряжений ис и и перед включением (б) генератора
Регулирование активной мощности. После включения генератора в сеть его напряжение U становится равным напряжению сети Uc. По отношению к внешней нагрузке напряжения U и Uс совпадают по фазе, а по контуру «генератор – сеть» находятся в противо-фазе, т.е. Ù = – Ùc (рис. 1.32, а). Так как перед включением в сеть генератор работал вхолостую, то при выполнении указанных ранее трех условий, необходимых для синхронизации генератора, его ток Iа после подключения к сети также будет равен нулю. Рассмотрим, какими способами можно регулировать ток Iа при работе генератора параллельно с сетью на примере неявно-полюсной машины.
Ток, проходящий по обмотке якоря неявнополюсного генератора, можно определить из уравнения (1.19в):
. (1.30)
Так как Ù = – Ùc = const, то величину тока İа можно изменять только двумя способами: изменяя э.д. с. Ė0 по величине или по фазе.
Если к валу генератора приложить внешний момент, больший момента, необходимого для компенсации потерь мощности в стали и механических потерь, то ротор приобретает ускорение, вследствие чего вектор Ė0 смещается относительно вектора Ù на некоторый угол θ в сторону вращения векторов (рис. 1.32, б). При этом возникает разность векторов Ė0 – Ù, приводящая согласно (1.30) к появлению тока İа. Вектор этого тока опережает на 90° вектор – jİаxсн и сдвинут относительно вектора Ù на некоторый угол φ, меньший 90°. При работе в рассматриваемом режиме генератор отдает в сеть активную мощность P = mUIa cosφ и на вал его действует электромагнитный тормозной момент, который уравновешивает вращающий момент первичного двигателя, вследствие чего частота вращения ротора остается неизменной. Чем больший внешний момент приложен к валу генератора, тем больше будет угол θ, а следовательно, ток и мощность, отдаваемые генератором в сеть.
Рис. 1.32
– Упрощенные векторные диаграммы неявнополюсной синхронной машины при параллельной работе с сетью в режимах:
а – холостого хода; б–генераторном; в-двигательном
Если к валу ротора приложить внешний тормозной момент, то вектор Ė0 будет отставать от вектора напряжения Ù на угол θ (рис. 1.32, в). При этом возникает ток Iа, вектор которого опережает на 90° вектор – jİахсн и сдвинут на некоторый угол φ относительно вектора напряжения Ù. Так как угол φ>90°, активная составляющая тока находится в противофазе с напряжением Ù машины. Следовательно, в рассматриваемом режиме активная мощность Р= тÙİасоsφ забирается из сети и машина работает двигателем, создавая электромагнитный вращающий момент, который уравновешивает внешний тормозной момент; частота вращения ротора при этом снова остается неизменной.
Таким образом, для увеличения нагрузки генератора необходимо увеличивать приложенный к его валу внешний момент (т.е. вращающий момент первичного двигателя), а для уменьшения нагрузки – уменьшать этот момент. При изменении направления внешнего момента (если вал ротора не вращать, а тормозить) машина автоматически переходит из генераторного режима в двигательный.
Регулирование реактивной мощности. Если в машине, подключенной к сети и работающей в режиме холостого хода (рис. 1.33, а), увеличить ток возбуждения Iв, то возрастет э. д. с. Е0 (рис. 1.33, б) и по обмотке якоря будет проходить ток Iа, величина которого согласно (1.30) определяется только индуктивным сопротивлением хсн машины. Следовательно, ток İa будет реактивным: он отстает по фазе от напряжения Ù на угол 90е или опережает на тот же угол напряжение сети Ùс.
Рис. 1.33 – Упрощенные векторные диаграммы неявнополюсной синхронной машины при параллельной работе с сетью, отсутствии активной нагрузки и изменении э. д. с. Е0 путем регулирования тока возбуждения:
а – при E0 = Uс; б – при Е0 > Uс; в-при E0 < Uc
При уменьшении тока возбуждения ток İа изменит свое направление: он будет опережать на 90° напряжение Ù (рис. 1.33, в) и отставать на 90° от напряжения Ùс. Таким образом, при изменении тока возбуждения изменяется лишь реактивная составляющая тока İа, т.е. реактивная мощность машины Q= mUIasinφ. Активная составляющая тока İa в рассматриваемых случаях равна нулю. Следовательно, активная мощность Рэл = 0, и машина работает в режиме холостого хода.
При работе машины под нагрузкой имеют место те же условия: при изменении тока возбуждения изменяется лишь реактивная составляющая тока Iа, т.е. реактивная мощность машины Q. Режим возбуждения синхронной машины, при котором реактивная составляющая тока İa равна нулю, называют режимом полного или нормального возбуждения. Если ток возбуждения Iв больше тока Iв.п, при котором имеет место режим полного возбуждения, то ток Iа содержит отстающую от U реактивную составляющую, что соответствует активно-индуктивной нагрузке генератора. Такой режим называют режимом перевозбуждения. Если ток возбуждения Iв меньше тока Iв.п, то ток Iа содержит реактивную составляющую, опережающую напряжение U, что соответствует активно-емкостной нагрузке генератора. Такой режим называют режимом недовозбуждения.
Рис. 1.34 – Определение активной и реактивной мощностей по упрощенным векторным диаграммам неявнополюсного (а) и явнополюсного (б) синхронных генераторов
Возникновение реактивной составляющей тока Ia физически объясняется тем, что при работе синхронной машины на сеть бесконечно большой мощности суммарный магнитный поток, сцепленный с каждой из фаз
, не зависит от тока возбуждения и при всех условиях остается неизменным, так как
. (1.31)
Следовательно, если ток возбуждения Iв (т.е. поток Фв и э. д. с. Е0) становится большим, чем это требуется для полного возбуждения, то возникает отстающая составляющая тока Iа, которая создает размагничивающий поток реакции якоря Фа; при Iв меньшем, чем необходимо для полного возбуждения, возникает опережающая составляющая тока Iа, которая создает подмагничивающий поток реакции якоря Фа. Во всех случаях суммарный поток машины ∑Ф автоматически поддерживается неизменным.
1.10 Мощность и электромагнитный момент синхронной машины. статическая устойчивость
Активная мощность. Чтобы установить, как зависит активная мощность Р синхронной машины от угла нагрузки θ, рассмотрим упрощенные векторные диаграммы (рис. 1.34), построенные при rа = 0. Для неявнополюсной машины из диаграммы (рис. 1.34, а) можно установить, что общая сторона АВ треугольников ОАВ и АСВ
или с учетом модулей соответствующих векторов
. (1.32)
Следовательно, активная мощность машины
. (1.33а)
Для явнополюсной машины следует исходить из векторной диаграммы, приведенной на рис. 1.34, б. Так как φ = ψ – θ, то активная мощность
. (1.33б)
Чтобы определить токи Id и Iq, спроектируем модули векторов э. д. с. Ė0, напряжения Ù и падений напряжения – jİdxd и – jİqxq на оси, параллельную и перпендикулярную вектору Ė0 (см. рис. 1.34, б). Тогда получим E0 = U cosθ + Idxd и U sinθ = Iqxq, откуда
;
. (1.34)
Подставляя значения Id и Iq в (1.33б), получим
или, используя формулу sin2θ = 2 sinθ·cosθ,
.
Электромагнитный момент. В синхронных машинах большой и средней мощности потери мощности в обмотке якоря ΔPaэл = mIa2ra малы по сравнению с электрической мощностью Р, отдаваемой (в генераторе) или потребляемой (в двигателе) обмоткой якоря. Поэтому если пренебречь величиной ΔPаэл, то можно считать, что электромагнитная мощность машины Рэм = Р.
Электромагнитный момент пропорционален мощности Рэм. Поэтому для неявнополюсной и явнополюсной машин:
; (1.35а)
. (1.35б)
Первый член формулы (1.35б) физически представляет собой основной момент, получающийся в результате взаимодействия вращающегося магнитного поля с током ротора, а второй член–так называемый реактивный момент, возникающий из-за стремления ротора ориентироваться по оси результирующего поля. Последний существует даже при отсутствии тока возбуждения (когда E0 = 0). В частном случае неявнополюсной машины, когда xd = xq = хсн, формула (1.35б) принимает вид формулы (1.35а).
При неявнополюсной машине зависимость М = f(θ) представляет собой синусоиду, симметричную относительно осей координат (рис. 1.35, кривая 1). При явнополюсной машине из-за неодинаковой магнитной проводимости по различным осям (хd ≠ хq) возникает реактивный момент
, (1.36)
в результате чего зависимость М = f (θ) несколько искажается (кривая 2). Реактивный момент, как следует из (1.35б), пропорционален sin2θ (кривая 3). Так как электромагнитная мощность Рэм пропорциональна моменту, то приведенные на рис. 1.35 характеристики представляют собой в другом масштабе зависимости Рэм = f(θ) или при принятом предположении (ΔРаэл = 0) зависимости P = f(θ); их называют угловыми характеристиками.
Рис. 1.35 – Угловые характеристики электромагнитного момента М для явнополюсной и неявнополюсной машин
Форма кривой М = f(θ) обусловлена тем, что потоки
и
сдвинуты между собой на тот же угол θ, что и векторы Ė0 и Ù (векторы
и
опережают Ė0 и Ù на 90°). Поэтому если угол θ = 0 (холостой ход), то между ротором и статором существуют только силы притяжения f, направленные ра-диально (рис. 1.36, а), и электромагнитный момент равен нулю. При θ > 0 (генераторный режим) ось потока возбуждения Фв (полюсов ротора) опережает ось суммарного потока ∑Ф на угол θ (рис. 1.36, б), вследствие чего электромагнитные силы f, возникающие между ротором и статором, образуют тангенциальные составляющие, которые создают тормозной момент М. Максимум момента соответствует значению θ = 90°, когда ось полюсов ротора расположена между осями суммарного потока статора.
При θ < 0 (двигательный режим) ось потока возбуждения отстает от оси суммарного потока (рис. 1.36, в), вследствие чего тангенциальные составляющие электромагнитных сил, возникающих между ротором и статором, создают вращающий момент.
Условия статической устойчивости. Угловая характеристика синхронной машины имеет важное значение для оценки ее статической устойчивости и степени перегружаемости. Под статической устойчивостью
Рис. 1.36 – Картина взаимодействия потоков Фв и ∑Ф в синхронной машине
синхронной машины, работающей параллельно с сетью, понимается ее способность сохранять синхронное вращение (т.е. условие n2 = n1) при изменении внешнего вращающего момента Мвн, приложенного к его валу. Статическая устойчивость обеспечивается только при углах θ, соответствующих М < Ммакс.
Рис. 1.37 – Зоны устойчивой и неустойчивой работы на угловой характеристике синхронного генератора (а) и угловые характеристики при различных токах возбуждения (б)
Рассмотрим более подробно этот вопрос. Допустим, что генератор работает при некотором внешнем моменте Мвн, передаваемом его ротору от первичного двигателя. При этом ось полюсов ротора сдвинута на некоторый угол θ относительно оси суммарного потока ∑Ф и машина развивает электромагнитный момент М, который можно считать равным Мвн (рис. 1.37, а, точки А и С). Если момент Мвн возрастает, то ротор генератора ускоряется, что приводит к увеличению угла θ до θ + Δθ. При работе машины в точке А возрастание угла θ вызывает увеличение электромагнитного момента до величины М + ΔМ (точка В); в результате равновесие моментов, действующих на вал ротора, восстанавливается и машина после некоторого колебательного процесса продолжает работать с синхронной частотой вращения. Аналогичный процесс имеет место и при уменьшении Мвн; при этом соответственно уменьшаются угол θ и момент М, а следовательно, равновесие моментов также восстанавливается. Однако если машина работает при π/2 < θ < π
(точка С), то увеличение угла θ вызывает уменьшение электромагнитного момента до величины М – ΔM (точка D). В результате равновесие моментов, действующих на вал ротора, нарушается, ротор продолжает ускоряться, а угол θ–возрастать. Возрастание угла θ может привести к двум результатам: 1) машина перейдет в точку устойчивой работы (аналогичную точке А) на последующих положительных полуволнах; 2) ротор по инерции проскочит устойчивые положения и произойдет выпадение из синхронизма, т.е. ротор начнет вращаться с частотой, отличающейся от частоты вращения магнитного поля статора.
Выпадение из синхронизма является аварийным режимом, так как оно сопровождается протеканием по обмотке якоря больших токов. Это объясняется тем, что э.д. с. генератора Е и напряжение сети Uc при указанном режиме могут складываться по контуру «генератор–сеть», а не вычитаться, как при нормальной работе.
Если внешний момент по какой-либо причине снижается, то при работе машины в точке С угол θ уменьшается, возрастает электромагнитный момент, что приводит к дальнейшему уменьшению угла θ и переходу к работе в устойчивой точке А.
Из рассмотрения рис. 1.37, а следует, что синхронная машина работает устойчиво, если dM/dθ > 0, и неустойчиво, если dM/dθ < 0; чем меньше угол θ, тем более устойчиво работает машина.
Если машина работает в установившемся режиме при некотором угле θ, то малое отклонение Δθ от этого угла сопровождается возникновением момента ΔM = (dM/dθ)Δθ, который стремится восстановить исходный угол θ. Этот момент называют синхронизирующим. Ему соответствует понятие синхронизирующей мощности ΔPэм = (dPэм/dθ)Δθ.
Производные dM/dθ и dPэм/dθ называют соответственно коэффициентами синхронизирующего момента и синхронизирующей мощности (иногда их называют удельным синхронизирующим моментом и удельной синхронизирующей мощностью). При неявнополюсной машине
;
.
Коэффициент синхронизирующего момента имеет максимальное значение при θ = 0 и уменьшается с возрастанием θ; при θ ≈ π/2 он обращается в нуль, поэтому синхронные машины обычно работают с θ = 20÷35°, что соответствует двукратному или несколько большему запасу по моменту.
Статическая перегружаемость синхронной машины оценивается отношением
. (1.37)
Согласно ГОСТу это отношение для турбогенераторов и гидрогенераторов должно быть не менее 1,6–1,7, а для синхронных двигателей большой и средней мощности – не менее 1,65.
Коэффициент синхронизирующего момента имеет максимальное значение при θ = 0 и уменьшается с возрастанием θ; при θ ≈ π/2 он обращается в нуль, поэтому синхронные машины обычно работают с θ = 20 ÷ 35°, что соответствует двукратному или несколько большему запасу по моменту.
Статическая перегружаемость синхронной машины оценивается отношением
Согласно ГОСТу это отношение для турбогенераторов и гидрогенераторов должно быть не менее 1,6 – 1,7, а для синхронных двигателей большой и средней мощности – не менее 1,65.
Влияние тока возбуждения на устойчивость. Устойчивость генератора при заданной величине активной мощности, отдаваемой в сеть, зависит от тока возбуждения. При увеличении тока возбуждения возрастает э.д.с. Е0 и, следовательно, момент Ммакс; при этом увеличивается устойчивость машины.
На рис. 1.37, б изображены угловые характеристики М = f (θ) при различных токах возбуждения (при различных Е0), откуда следует, что чем больше ток возбуждения, тем меньше угол θ при заданной нагрузке, а следовательно, тем больше отношение Ммакс/Мном и перегрузочная способность генератора.
Обычно электрическая сеть, на которую работают синхронные генераторы, создает для них активно-индуктивную нагрузку (генераторы отдают как активную Р, так и реактивную Q мощности). При этом синхронные генераторы должны работать с некоторым перевозбуждением, обеспечивающим повышение перегрузочной способности. Так, например, согласно ГОСТ в синхронных генераторах при номинальном режиме ток İa должен опережать напряжение сети Ùс (т.е. отставать от напряжения Ù) и иметь cosφ = 0,8. Однако если сеть создает активно-емкостную нагрузку (например, при подключении к ней большого числа статических или вращающихся компенсаторов), то генератор для поддержания стабильного напряжения должен будет работать с недовозбуждением, т.е. потреблять реактивную мощность. Такой режим будет для него весьма неблагоприятным, так как при уменьшении тока возбуждения и заданной активной мощности Р возрастает угол θ и снижается перегрузочная способность Ммакс/Мном, определяющая статическую устойчивость машины.
Реактивная мощность. Для установления зависимости реактивной мощности Q от угла нагрузки θ в неявнополюсной машине рассмотрим треугольник ОАВ (см. рис. 1.34, а). Сторона этого треугольника
или с учетом модулей соответствующих векторов
. (1.38)
Следовательно, реактивная мощность машины
. (1.39а)
При явнополюсной машине (см. рис. 1.34, б)
. (1.39б)
Подставляя в (1.39б) значения токов Id и Iq из (1.34), имеем
.
Заменив cos2θ и sin2θ их значениями через функции двойного угла 2θ, получим
. (1.39в)
На рис. 1.38 показаны зависимости величин активной Р и реактивной Q мощностей от угла θ для неявнополюсной машины в пределах изменения угла – π/2 < θ < π/2.
В формуле (1.39в) и на рис. 1.38 положительному значению реактивной мощности соответствует режим, когда реактивная составляющая тока якоря отстает от вектора напряжения генератора, т.е. когда машина работает с перевозбуждением. В этом режиме по отношению к сети реактивная мощность генератора эквивалентна реактивной мощности конденсатора.
Максимальная реактивная мощность неявнополюсной машины соответствует θ = 0, т.е. имеет место при холостом ходе машины:
. (1.40)
Рис. 1.38 – Зависимости мощностей Р и Q от угла нагрузки θ для неявнополюсной машины
1.11 Режимы работы синхронного генератора при параллельном включении с сетью
Изменение активной и реактивной мощностей синхронного генератора, работающего параллельно с сетью большой мощности, происходит при изменении внешнего момента и тока возбуждения.
Для того чтобы обеспечить требуемый режим работы генератора, обычно одновременно регулируется и ток возбуждения, и вращающий момент.
Методически проще разобрать два предельных случая регулирования:
а) момента при неизменном токе возбуждения;
б) тока возбуждения при неизменном внешнем моменте.
Работа генератора с неизменным током возбуждения при различных значениях момента. Для генератора с неявно выраженными полюсами векторную диаграмму (рис. 1.39, а) строят по уравнению
.
На векторной диаграмме показан вектор напряжения сети Ùс, который по контуру обмотки генератора имеет направление, встречное к вектору напряжения генератора, т.е. Ù = – Ùс.
Если генератор работает с cosφ = 1, то вектор тока якоря İa1 совпадает по направлению с вектором напряжения Ù, а вектор э. д. с. Ė02 опережает эти векторы на угол θ1. При изменении нагрузки, например при ее возрастании, угол θ должен увеличиться до какого-то значения θ2 в соответствии с возрастанием мощности от PI до РII.
Принимая полезную мощность (отдаваемую в сеть) равной электромагнитной
для соотношения мощностей РI и РII получим
.
Таким образом, при увеличении мощности с РI до РII вектор э. д. с. Ė0 повернется в сторону опережения и образует с вектором Ù угол θ2. Легко заметить, что при изменении нагрузки конец вектора Ė0 будет скользить по окружности, радиус которой равен модулю Е0, так как ток возбуждения остается неизменным.
Соединив конец вектора Ù с концом вектора Ė01, получим вектор jİa2xсн, после чего построим вектор тока İа2; он будет перпендикулярен падению напряжения jİa2xсн, а его модуль определится из соотношения
.
Если момент, приложенный к валу генератора, уменьшен по сравнению с моментом в исходном режиме, то новый угол θ, будет меньше угла θ1. Построение всех векторов (рис. 1.39, а) на диаграмме и в этом случае производится аналогично описанному в предшествующем примере.
Приведенные диаграммы показывают, что при изменении внешнего момента, приложенного к валу синхронного генератора, работающего параллельно с сетью, изменяется не только активная мощность, но и реактивная. Поэтому обычно, для того чтобы обеспечить наиболее благоприятный или требуемый режим работы, при изменении активной мощности приходится регулировать и ток возбуждения.
Рис. 1.39 – Векторные диаграммы синхронного генератора при Iв = const, М = var и Iв = var, М = const
Работа генератора с неизменным моментом при различных значениях тока возбуждения. Неизменность внешнего момента на валу генератора эквивалентна неизменности его мощности:
.
При работе на сеть большой мощности Ù = – Ùc = const, следовательно, при изменении тока возбуждения останется постоянной активная составляющая тока якоря Ia cosφ = const.
На векторной диаграмме (рис. 1.39, б) это условие выразится в том, что конец вектора тока будет скользить по прямой АВ, перпендикулярной вектору напряжения Ù.
Однако при неизменной мощности (для машины с неявно выраженными полюсами) справедливо будет условие
.
При изменении тока возбуждения остаются неизменными все величины, кроме Е0 и sinθ; следовательно, условие неизменной мощности приводит к условию
.
На диаграмме (рис. 1.39, б) конец вектора Ė0 скользит по прямой CD, параллельной вектору напряжения Ù. Чем меньше ток возбуждения, тем меньше по модулю вектор Ė0, но зато больше угол θ.
Вектор тока İа перпендикулярен направлению вектора падения напряжения jİaxсн, поэтому его можно построить, если задаться углом θ. Легко заметить, что минимальному значению тока Iа соответствует режим работы при cosφ = 1, чему отвечает вполне определенный ток возбуждения.
Рис. 1.40 – U-образные характеристики синхронного генератора
Зависимость тока якоря от тока возбуждения, называемая U-образной характеристикой, представлена на рис. 1.40. Для каждой мощности имеется вполне определенный ток возбуждения, которому соответствует минимум тока якоря. Чем больше мощность, тем большим должен быть ток возбуждения, отвечающий минимальному току якоря. Штриховая кривая, проведенная через точки минимумов, соответствует режимам работы генератора с соsφ = 1.
1.12 Особенности работы синхронного генератора на выпрямительную нагрузку
В последнее время все более часто генератор постоянного тока заменяют синхронным генератором, на выходе которого включен полупроводниковый выпрямитель (рис. 1.41). Замена генератора постоянного тока синхронным дает возможность выполнить его более быстроходным, что в свою очередь позволяет существенно уменьшить габариты и массу машины. Это объясняется тем, что в машинах постоянного тока для обеспечения удовлетворительной коммутации (см. гл. X) приходится ограничивать окружную скорость коллектора, а следовательно, и ротора. Кроме того, эксплуатация синхронного генератора, в котором отсутствует коллектор, существенно проще, а надежность выше, чем у генератора постоянного тока.
Рис. 1.41 – Схемы синхронного генератора, работающего на выпрямитель при трехфазной нулевой (а) и мостовой (б) схемах выпрямления
При работе генератора в схеме, на выходе которой включен выпрямитель, ток в фазах обмотки якоря является несинусоидальным. В зависимости от схемы включения вентилей этот ток будет представлять собой ряд или однополярных, или двухполярных импульсов, форма которых близка к трапеции (рис. 1.42, а, б). В ряде случаев выпрямитель, включенный на выход синхронного генератора, выполняют управляемым (на тиристорах). Задерживая моменты открытия тиристоров на некоторый угол α (угол регулирования) относительно моментов, соответствующих началу прохождения тока через вентили в схеме неуправляемого выпрямителя (на диодах), можно по желанию изменять среднюю величину выпрямленного напряжения. Применение управляемого выпрямителя позволяет осуществлять быстродействующее регулирование синхронного генератора, так как при этом не требуется изменять его ток возбуждения. В этом случае можно также питать от одного генератора несколько нагрузок, регулируя напряжение на каждой из них независимо от других.
Рис. 1.42 – Графики изменения э. д. с. и тока в фазе обмотки якоря при работе синхронного генератора на выпрямительную нагрузку
Обычно нагрузка (на стороне постоянного тока) имеет большую индуктивность, вследствие чего ток нагрузки Id в большинстве случаев может быть принят постоянным. Переход тока от одной фазы обмотки якоря к другой не может происходить мгновенно из-за индуктивности этих фаз. Поэтому в течение времени, соответствующего углу коммутации γ, ток проходит одновременно через два вентиля и две фазы: в одной он возрастает от нуля до Id, а в другой уменьшается (рис. 1.43). В результате первая гармоника тока фазы отстает от напряжения генератора на угол, примерно равный (0,5 ÷ 0,6) γ. При включении на выход генератора управляемого выпрямителя первая гармоника тока фазы отстает от э. д. с. на угол α + 0,5γ. Угол коммутации γ может быть вычислен по формуле
,
где хк – сопротивление фазы в режиме коммутации; Ек – действующее значение фазной э.д.с. за сопротивлением хк.
При коммутации одновременно открыты однополярные вентили двух фаз (рис. 1.43), вследствие чего эти фазы оказываются замкнутыми накоротко и ток из одной фазы переходит в другую под действием разности фазных э.д.с.
Так как время коммутации вентилей очень мало (доли периода), электромагнитные процессы в машине протекают в это время так же, как и на начальном этапе внезапного двухфазного короткого замыкания (см. 1.18). При этом в качестве сопротивления хк следует принимать индуктивное сопротивление для этого режима
.
Физически это означает, что несииусоидальный ток в обмотке якоря создает высшие гармоники м. д с якоря и соответствующие потоки, которые индуктируют в демпферной обмотке и обмотке возбуждения высшие гармоники э. д. с. и токов. В результате этого форма и величина результирующего магнитного потока остаются практически неизменными.
Векторная диаграмма неявнополюсного синхронного генератора, работающего на выпрямительную нагрузку, показана на рис. 1.44, а и соответствует уравнению:
. (1.41)
В данном случае берется первая гармоника тока Ia, a э. д. с. Е0 и Ек практически синусоидальны, так как индуктируются синусоидальным магнитным потоком.
Для машины с явно выраженными полюсами векторная диаграмма (рис. 1.44, б) строится по уравнению:
. (1.41)
Вектор первой гармоники напряжения на диаграмме обычно не показывают, так как для генератора, нагруженного на выпрямитель, важным является среднее значение выпрямленного напряжения Ud.
Рис. 1.43 – Графики изменения э д с, напряжения и тока в фазах обмотки якоря с учетом коммутации тока в выпрямителе
Рис. 1.44 – Векторные диаграммы синхронного генератора, работающего на выпрямительную нагрузку
При рассмотрении рис. 1.43 легко заметить, что в период коммутации вентилей, включенных, например, в фазы А и В, мгновенное значение выпрямленного напряжения ud = 0,5 (еА – еВ), т.е. меньше, чем при отсутствии коммутации. Следовательно, наличие индуктивного сопротивления хк приводит к уменьшению среднего значения выпрямленного напряжения Ud по сравнению с его значением Ud0 при отсутствии коммутации и к увеличению пульсаций в кривой выпрямленного напряжения (показана жирной линией на рис. 1.43).
Величина среднего выпрямленного напряжения с учетом коммутации тока в выпрямителе при Id = const
,
где Ud0–среднее значение выпрямленного напряжения без учета коммутации тока в выпрямителе (идеализированные условия); ΔUк=mnIdxк/(2π) – среднее значение падения напряжения, обусловленного коммутацией тока в выпрямителе; n – число последовательно включенных коммутационных групп вентилей («1» – при нулевой и «2» – при мостовой схемах).
При этом в общем случае
.
При включении выпрямителя по трехфазной нулевой схеме Ud0=1,17Eк, а по трехфазной мостовой схеме Ud0 = 2,34Eк, так как к вентилям приложена линейная э. д. с. и схема выпрямления эквивалентна шестифазной.
Использование мощности. При работе синхронного генератора на выпрямитель реализуемая мощность становится меньше номинальной мощности или, как говорят, использование генератора ухудшается. Рассмотрим этот вопрос применительно к двум наиболее распространенным схемам выпрямления, заменив для простоты реальную форму тока прямоугольной с высотой Id, как это показано на рис. 1.42, а штриховой линией.
При трехфазной нулевой схеме выпрямления (рис. 1.41, а) мощность одной фазы генератора
. (1.42)
При прямоугольной форме тока действующее значение тока в любой фазе
, где τ = T/3-время прохождения тока через данную фазу; Т – период изменения тока. Следовательно, мощность фазы
. (1.42)
Поскольку мощность одной фазы синхронного генератора при работе без выпрямителя Рф = IaEacosφ, то коэффициент использования генератора при трехфазной нулевой схеме выпрямления
.
Таким образом, при cosφ =l и α = 0, т.е. при отсутствии регулирования, мощность генератора, работающего на выпрямитель, снижается примерно на 1/3 по сравнению с мощностью генератора, работающего на чисто активную нагрузку. Объясняется это тем, что ток проходит через фазу только в течение 1/3 периода.
Лучшее использование генератора обеспечивается при применении трехфазной мостовой схемы выпрямления (рис. 1.41, б), при которой ток проходит через фазу в течение 2/3 периода. В этом случае мощность одной фазы генератора
, (1.42в)
а действующее значение тока фазы Ia = Id√ 2/3. Следовательно, мощность фазы генератора
, (1.42 г.)
а коэффициент использования
.
При увеличении угла регулирования α использование ухудшается, так как уменьшается среднее значение выпрямленного напряжения. Одновременно в этом случае первая гармоника тока якоря İа все более отстает по фазе от э. д. с. Ėк, вследствие чего возрастает размагничивающее действие реакции якоря. При построении векторной диаграммы синхронного генератора, работающего на выпрямительную нагрузку, вектор якоря Iа будет отставать на угол α + 0,5γ от вектора э. д. с. Ėк, а величина cos (α + 0,5γ) будет играть приблизительно такую же роль, как и cosφ при работе генератора на активно-индуктивную нагрузку (без выпрямителя).
Потери мощности. Высшие гармоники тока якоря создают дополнительные электрические потери в проводниках обмотки якоря (из-за явления вытеснения тока), увеличивая на 5–8% основные электрические потери в ней. Дополнительные магнитные потери в стали магнитопровода, появляющиеся от высших гармоник поля, очень невелики, так как высшие гармоники м.д. с. существенно уменьшаются токами демпферной обмотки. Генераторы, работающие на выпрямитель, целесообразно снабжать мощными демпферными обмотками еще и потому, что это уменьшает сверхпереходные индуктивности (см. 1.18), от которых зависит угол коммутации γ, влияющий на использование генератора.
1.13 Синхронный двигатель
Как было показано ранее, синхронная машина, работающая параллельно с сетью, автоматически переходит в двигательный режим, если к валу ротора приложен тормозной момент. При этом машина начинает потреблять из сети активную мощность и возникает электромагнитный вращающий момент. Частота вращения ротора остается неизменной, жестко связанной с частотой сети соотношением n2, = n1 = 60f1/p, что является важнейшим эксплуатационным свойством синхронных двигателей.
Векторные диаграммы. По основным комплексным уравнениям синхронной машины (1.19в) и (1.23б) могут быть построены векторные диаграммы. Однако для синхронного двигателя в указанные уравнения вместо величины Ù надо подставить – Ùс, так как не принято говорить о «напряжении двигателя»; при этом для не-явнополюсной и явнополюсной машин будем иметь:
. (1.43)
Построение векторных диаграмм (рис. 1.45, а, б) по формулам системы (1.43) рекомендуется начинать с изображения векторов Ùс и – Ùс. Далее строится вектор тока İа, активная составляющая которого совпадает с направлением вектора Ùc, и определяют вектор Ė0. При построении диаграммы для явнополюсной машины (рис. 1.45, б) нужно так же, как это делалось в диаграмме для генератора (см. рис. 1.25, в), вначале определить направление вектора Ė0, прибавив к – Ùc вспомогательный вектор
Рис. 1.45 – Упрощенные векторные диаграммы синхронного неявнополюсного (а) и явнополюсного (б) двигателя
Для выяснения свойств синхронного двигателя рассмотрим его работу при изменении нагрузочного момента Мвн и постоянном токе возбуждения; при этом для простоты будем пользоваться векторной диаграммой неявнополюсной машины. Допустим, что двигатель работает при cosφ = l, чему на векторной диаграмме (рис. 1.46, а) соответствуют ток İа1 и угол θ1. С повышением нагрузки увеличивается угол между векторами Ė0 и – Ùс до какого-то значения θ2, так как согласно (1.35а) вращающий момент М = Мвн пропорционален sinθ. При этом конец вектора Ė0 перемещается по окружности с радиусом, равным Е0, и при принятых условиях (Iв = const; E0 = const и Uc = const) вектор тока İа2 также поворачивается вокруг точки 0, располагаясь перпендикулярно вектору – jİа2xсн Из диаграммы видно, что в рассматриваемом случае ток двигателя İа2 будет иметь отстающую реактивную составляющую.
Если нагрузка двигателя снизится по сравнению с исходной, то угол θ уменьшится до значения θ3. При этом ток двигателя İа3 будет иметь опережающую реактивную составляющую.
Следовательно, изменение активной мощности синхронного двигателя приводит к изменению его cosφ: при уменьшении нагрузки вектор тока поворачивается в сторону опережения и двигатель может работать с cosφ = 1 или с опережающим током; при увеличении нагрузки вектор тока поворачивается в сторону отставания.
Рис. 1.46 – Упрощенные векторные диаграммы синхронного двигателя:
а – при изменении нагрузочного момента на валу; б – при изменении э. д. с. Е0 путем регулирования тока возбуждения
Если при неизменной активной мощности менять ток возбуждения, то будет меняться только реактивная мощность, т.е. величина cosφ. Векторная диаграмма для этого случая изображена на рис. 1.46, б. Если двигатель работает при cosφ = l, то этому режиму соответствует э.д.с. Ė01 и некоторый угол θ1. При уменьшении тока возбуждения э.д.с. Ė0 снижается до Ė02. Поскольку активная мощность остается неизменной, из условия Р = Рэм = mUc (E0/xсн) sinθ = const получим, что Е01 sin θ1 = Е02 sinθ2 Отсюда следует, что конец вектора Ė0 при изменении тока возбуждения будет перемещаться по прямой ВС, параллельной вектору Ùc и проходящей через конец вектора Ė01 Из векторной диаграммы (рис. 1.46, б) видно, что угол θ2 будет больше θ1.
Аналогично строится диаграмма при увеличении тока возбуждения. В этом случае э д с Ė0 возрастает до величины Ė03 и угол θ3 становится меньшим θ1. Вектор – jİа3xсн поворачивается вокруг точки А и соответственно ему изменяет направление вектор тока İa3, перпендикулярный вектору – jİa3xсн
При этом из условия равенства активных мощностей имеем: Ia1 cosφ1 = Iа2 cosφ2 = Ia3 cosφ3, конец вектора тока İа перемещается по прямой DE, перпендикулярной вектору Ùc По диаграмме, приведенной на рис 1.46, б, можно построить U-образные характеристики для двигателя Iа = f(Iв), которые будут иметь такую же форму, как и характеристики для генератора (см рис 1.40), с той лишь разницей, что для двигателя угол сдвига фаз φ принято отсчитывать от вектора напряжения сети Ùc Поэтому при недовоз-буждении ток İа будет отставать от напряжения сети Ùc, т.е. двигатель будет потреблять из сети реактивную мощность Q, а при перевозбуждении ток будет опережать напряжение сети Ùc, т.е. двигатель будет отдавать в сеть реактивную мощность
Рабочие характеристики (рис 1.47) Представляют собой зависимости тока Iа, электрической мощности P1 поступающей в обмотку якоря, к п д η и соsφ от отдаваемой механической мощности Р2 при Uc = const, fc = const и Iв = const Поскольку частота вращения двигателя постоянна, зависимость n = f(P2) обычно не приводится; не приводится также и зависимость M = f(P2), так как вращающий момент М пропорционален Р2. Зависимость Р1 = f(Р2) имеет характер, близкий к линейному
Ток двигателя при холостом ходе является практически реактивным По мере роста нагрузки растет активная составляющая тока, в связи с чем зависимость тока Ia от мощности Р2 является нелинейной Кривая η = f(P2) имеет характер, общий для всех электрических машин. Синхронные двигатели могут работать с соsφ = 1, но обычно их рассчитывают на работу при номинальной нагрузке с опережающим током, при этом cosφном = 0,9 ÷ 0,8 В этом случае улучшается суммарный cosφ сети, от которой питаются синхронные двигатели, так как создаваемая ими опережающая реактивная составляющая тока Iа компенсирует отстающую реактивную составляющую тока асинхронных двигателей. Зависимость cosφ = f(P2) при работе машин с перевозбуждением имеет максимум в области Р2 > Рном. При снижении Р2 величина cosφ уменьшается, а отдаваемая в сеть реактивная мощность возрастает.
Рис. 1.47 – Рабочие характеристики синхронного двигателя
Достоинства и недостатки синхронного двигателя в сравнении с асинхронным. Синхронные двигатели имеют следующие достоинства:
а) возможность работы при cosφ = l; это приводит к улучшению cosφ сети, а также к сокращению размеров самого двигателя, так как его ток меньше тока асинхронного двигателя той же мощности. При работе с опережающим током синхронные двигатели служат генераторами реактивной мощности, поступающей в асинхронные двигатели, что снижает потребление этой мощности от генераторов электростанций;
б) меньшую чувствительность к колебаниям напряжения, так как его максимальный момент пропорционален напряжению в первой степени (а не квадрату напряжения);
в) строгое постоянство частоты вращения независимо от механической нагрузки на валу.
Недостатками синхронных двигателей являются:
а) сложность конструкции;
б) сравнительная сложность пуска в ход;
в) трудности с регулированием частоты вращения, которое возможно только путем изменения частоты питающего напряжения.
Указанные недостатки синхронных двигателей делают их менее выгодными, чем асинхронные двигатели, при ограниченных мощностях до 100 кВт. Однако при более высоких мощностях, когда особенно важно иметь высокий cosφ и уменьшенные габаритные размеры машины, синхронные двигатели предпочтительнее асинхронных.
1.14 Пуск в ход синхронного двигателя
Метод асинхронного пуска. Синхронный двигатель не имеет начального пускового момента. Если его подключить к сети переменного тока, когда ротор неподвижен, а по обмотке возбуждения проходит постоянный ток, то за один период изменения тока электромагнитный момент будет дважды менять свое направление, т.е. средний момент за период будет равен нулю. При этих условиях двигатель не сможет прийти во вращение, так как ротор его, обладающий определенной инерцией, не может быть в течение одного полупериода разогнан до синхронной частоты вращения. Следовательно, для пуска в ход синхронного двигателя необходимо разогнать его ротор с помощью внешнего момента до частоты вращения, близкой к синхронной.
В настоящее время для этой цели применяют метод асинхронного пуска. При этом методе синхронный двигатель пускают в ход как асинхронный, для чего его снабжают специальной короткозамкнутой пусковой обмоткой, выполненной по типу беличьей клетки. Обычно эту клетку изготовляют из латуни с целью увеличения сопротивления стержней При включении трехфазной обмотки якоря в сеть образуется вращающееся магнишое поле, которое, взаимодействуя с током Iп в пусковой обмотке (рис. 1.48, а), создает электромагнитные силы F и увлекает за собой ротор. После разгона ротора до частоты вращения, близкой к синхронной, постоянный ток, проходящий по обмотке возбуждения, создает синхронизирующий момент, который втягивает ротор в синхронизм.
Рис. 1.48 – Устройство пусковой обмотки синхронного двигателя (а) и схемы его асинхронного пуска (б, в): 1-обмотка возбуждения, 2 – пусковая обмотка, 3 – ротор, 4 – обмотка якоря, 5-гасящий резистор, 6 – якорь возбудителя, 7 – кольца и щетки
В настоящее время применяют две основные схемы пуска синхронного двигателя. При схеме, изображенной на рис. 1.48, б, обмотку возбуждения вначале замыкают на гасящий резистор, сопротивление которого rдоб в 8–12 раз превышает активное сопротивление rв обмотки возбуждения. После разгона ротора до частоты вращения, близкой к синхронной (при s = 0,05), обмотку возбуждения отключают от гасящего сопротивления и подключают к источнику постоянного тока (возбудителю), вследствие чего ротор втягивается в синхронизм. Осуществить пуск двигателя с разомкнутой обмоткой возбуждения нельзя, так как во время разгона ротора при s > 0 в ней индуктируется вращающимся магнитным полем э. д. с.
,
где Фm–амплитуда магнитного потока вращающегося поля; ωв – число витков обмотки возбуждения; f2 = f1s-частота изменения тока в обмотке возбуждения.
В начальный момент пуска при s ≈ 1 из-за большого числа витков ωв обмотки возбуждения э.д.с. Ев может достигать весьма большой величины и вызвать пробой изоляции.
При схеме, изображенной на рис. 1.48, в, обмотка возбуждения постоянно подключена к возбудителю, сопротивление которого по сравнению с сопротивлением rв весьма мало, поэтому эту обмотку в режиме асинхронного пуска можно считать замкнутой накоротко. С уменьшением скольжения до s = 0,3 4–0,4 возбудитель возбуждается и в обмотку возбуждения подается постоянный ток, обеспечивающий при s ≈ 0,05 втягивание ротора в синхронизм.
Различие пусковых схем обусловлено тем, что не во всех случаях может быть применена более простая схема с постоянно подключенной к возбудителю обмоткой возбуждения (рис. 1.48, в), так как она имеет худшие пусковые характеристики, чем более сложная схема, приведенная на рис. 1.48, б. Главной причиной ухудшения пусковых характеристик является возникновение одноосного эффекта – влияния тока, индуктируемого в обмотке возбуждения при пуске, на характеристику пускового момента.
Для анализа этого явления предположим вначале, что в двигателе отсутствует пусковая обмотка, а обмотка возбуждения замкнута накоротко. В результате при асинхронном пуске двигателя в обмотке возбуждения индуктируется э.д.с. с частотой f2 = f1s и по обмотке проходит переменный ток, создающий пульсирующее магнитное поле (обмотка возбуждения в этом случае является однофазной обмоткой переменного тока). Пульсирующее магнитное поле можно разложить на две составляющие: прямое и обратное вращающиеся магнитные поля ротора, которые характеризуются потоками Фпр и Фобр. Частота вращения каждого из этих полей относительно ротора
.
Относительно статора прямое поле вращается с частотой
, (1.44)
где n2 = n1(1-s) – частота вращения ротора.
Следовательно, оно вращается синхронно с полем статора; образуемый этим полем с током статора электромагнитный момент Мпр изменяется в зависимости от скольжения так же, как и в трехфазном асинхронном двигателе (рис. 1.49, кривая 2). Обратное поле ротора вращается относительно статора с частотой
, (1.45)
При частотах вращения ротора n2 < 0,5n1, т.е. при s > 0,5, обратное поле, как видно из формулы (1.45), перемещается относительно статора в сторону, противоположную направлению вращения ротора; при n2 = 0,5n1 это поле неподвижно относительно статора; при n2 > 0,5 (т.е. при s < 0,5) оно перемещается в ту же сторону, что и ротор.
В обмотке статора обратным полем индуктируется э.д.с. с частотой f1(1–2s), для которой обмотка статора является коротко-замкнутой. При этом по обмотке статора протекает соответствующий ток. Взаимодействуя с обратным полем ротора, этот ток создает электромагнитный момент Mобр. Так как направление момента зависит от направления вращения поля nр.обр относительно статора, то из формулы (1.45) следует, что он является знакопеременным и изменение его направления происходит при s = 0,5 (рис. 1.49, кривая 3).
Таким образом, ток, индуктируемый в обмотке возбуждения при пуске двигателя, создает электромагнитный момент, который при частоте вращения, меньшей 0,5n1, является ускоряющим, а при большей частоте вращения–тормозящим.
Рис. 1.49 – Зависимость электромагнитного момента от скольжения при асинхронном пуске синхронного двигателя
Особенно резко проявляется действие обратного поля при n ≈ 0,5n1.
Наличие пусковой обмотки на роторе существенно уменьшает обратное магнитное поле и величину создаваемого им момента. Однако этот момент, складываясь с асинхронным моментом пусковой обмотки (кривая 1), создает в кривой результирующего пускового момента провал при частоте вращения, равной половине синхронной (кривая 4). Этот провал будет тем больше, чем больше ток в обмотке возбуждения. Очевидно, что включение сопротивления в цепь обмотки возбуждения (см. рис. 1.48, б) на период пуска уменьшает ток в этой обмотке и улучшает форму кривой пускового момента.
Следует отметить, что если обмотку возбуждения при пуске не отключить от возбудителя, то по якорю возбудителя в период пуска проходит переменный ток; последнее может вызвать искрение щеток. Поэтому такую схему пуска применяют в случае небольшого нагрузочного момента – не более 50% от номинального – при сравнительно небольшой мощности двигателя.
1.15 Регулирование частоты вращения синхронных двигателей
Частота вращения синхронного двигателя n2 равна частоте вращающегося магнитного поля n1 = 60f1/р, следовательно, ее можно регулировать путем изменения частоты питающего напряжения или числа полюсов 2 р. Регулировать частоту вращения путем изменения числа полюсов в синхронном двигателе нецелесообразно, так как, в отличие от асинхронного, здесь требуется изменять число полюсов как на статоре, так и на роторе, что приводит к значительному усложнению конструкции ротора. Поэтому практически используют лишь изменение частоты питающего напряжения.
К синхронному двигателю применимы все основные положения теории частотного регулирования асинхронного двигателя, в том числе необходимость одновременного изменения как частоты, так и питающего напряжения. Однако в чистом виде частотное регулирование частоты вращения синхронных двигателей применяется только при очень малых мощностях, когда нагрузочные моменты невелики, а инерция приводного механизма мала (см. гл. 2). При больших мощностях такие условия имеют место только в некоторых типах электроприводов, например в электроприводах вентиляторов.
Для синхронных двигателей, применяемых в электроприводах с большим моментом инерции приводного механизма, необходимо очень плавно изменять частоту питающего напряжения, чтобы двигатель не выпал из синхронизма. Особенно сложным является пуск в ход двигателя, когда начальная частота должна составлять доли герца, а затем постепенно повышаться до максимального значения. Для таких электроприводов наиболее пригодным является метод частотного регулирования с самосинхронизацией, при котором двигатель в принципе не может выпасть из синхронизма. Последнее достигается тем, что управление преобразователем частоты осуществляется от системы датчиков положения ротора, вследствие чего напряжение подается на каждую фазу двигателя при углах нагрузки θ, меньших 90°. При таком регулировании автоматически обеспечиваются условия устойчивой работы двигателя и его перегрузочная способность определяется только перегрузочной способностью преобразователя частоты.
Синхронные двигатели, регулируемые путем изменения частоты с самосинхронизацией, называют вентильными двигателями; иногда их называют бесколлекторными двигателями постоянного тока. Однако первое название является более правильным, так как такие двигатели могут получать питание от сети как постоянного, так и переменного тока.
Частотное регулирование без самосинхронизации. Электромагнитный момент синхронного двигателя может быть выражен в виде
. (1.46)
При частотном регулировании обычно стремятся получить режим работы двигателя с cosφ = 1, когда в обмотке якоря имеют место минимальные потери энергии. Для этого ток якоря Iа должен поддерживаться постоянным и минимальным:
Из (1.47) следует, что при неизменных нагрузочном моменте (Мн = М = const) и потоке возбуждения (Фв = const), т.е. токе
. (1.47)
возбуждения (Iв = const), угол θ в процессе регулирования частоты не должен изменяться. Однако при изменении частоты f1 изменяются э. д. с. Е0, угловая скорость ротора ω1 и индуктивное сопротивление хсн (или сопротивления xd и xq при явнополюсном роторе), т.е.
. (1.48)
Поэтому при частотах питающего напряжения f1 отличных от номинальной частоты f1ном, формула электромагнитного момента [см. (1.35)] принимает вид:
,
где с = mE0 номf1 ном/(ω1номхсн ном) – постоянная.
Из (1.49) следует, что при неизменных значениях нагрузочного момента Мн = М и тока якоря 1а = [а мин необходимо выдерживать условие
, (1.50)
т.е. изменять напряжение Uп, подаваемое к электродвигателю от преобразователя частоты, пропорционально изменению частоты f1. При соблюдении условия (1.50) все стороны треугольника ОАВ (рис. 1.50, а) будут изменяться пропорционально частоте, а угол θ останется неизменным. При изменении нагрузки необходимо в соответствии с (1.46) изменять поток возбуждения Фв, т.е. ток возбуждения Iв.
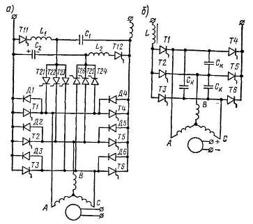
Вентильный двигатель. При питании вентильного двигателя от сети постоянного тока в преобразователе частоты должны применяться тиристоры с узлами принудительной коммутации. В двигателях малой мощности допустимо применение транзисторов. На рис. 1.51, а показана принципиальная схема питания вентильного двигателя от тиристорного преобразователя частоты.
Преобразователь частоты представляет собой автономный инвертор напряжения, который подключен к источнику постоянного тока и формирует трехфазное напряжение изменяющейся частоты; это напряжение подается на фазы А, В и С обмотки якоря двигателя. К каждой фазе может быть подведено положительное (тиристорами Т1, Т2 и Т3) и отрицательное (тиристорами Т4, Т5 и Т6) напряжения.
Рис. 1.50 – Векторные диаграммы синхронного двигателя, питаемого от преобразователя частоты при постоянном нагрузочном моменте: а – при постоянном угле θ и cosφ=l; б – при изменении угла θ
Если вначале пропускать ток через фазы А и В (открыты тиристоры Т1 и Т5), затем через фазы В и С (открыты тиристоры Т2 и Т6), далее через фазы С и А (открыты тиристоры Т3 и Т4) и т.д. в указанной последовательности, то в машине создается вращающееся магнитное поле. При изменении частоты переключения тиристоров изменяется частота напряжения, подаваемого на фазы обмотки якоря, а следовательно, и частота вращения ротора. Для замыкания реактивной составляющей тока якоря в преобразователе имеются диоды Д1-Д6, включенные параллельно тиристорам, но и в обратном направлении.
Коммутация тока в тиристорном преобразователе (переключение тока с одной фазы на другую) требует применения специальных коммутирующих узлов, так как тиристор является не полностью управляемым прибором. Для закрытия тиристора, включенного в цепь постоянного тока, необходимо кратковременно подать на него обратное напряжение определенной величины.
Рис. 1.51 – Принципиальные схемы питания вентильного двигателя от тиристорного преобразователя частоты с инвертором напряжения (а) и инвертором тока (б)
В рассматриваемом преобразователе применены два таких узла принудительной (или искусственной) коммутации – по одному для всех тиристоров, присоединяемых соответственно к положительному и отрицательному полюсам источника постоянного тока. Каждый узел состоит из контура L-C и вспомогательных тиристоров.
Закрытие тиристоров T1, Т2 и ТЗ, присоединенных к положительному полюсу, производится контуром L1-C1. При открытии вспомогательного тиристора Т11 конденсатор С1 заряжается через индуктивность L1 до величины двойного напряжения сети и запрает тиристор Т11. Затем открываются вспомогательные тиристоры Т21, Т22 или Т23 и подают на тиристоры T1, T2 или Т3 обратное (положительное) напряжение. При этом соответствующий тиристор запирается, а конденсатор С1 разряжается через нагрузку.
Аналогично запираются тиристоры Т4, Т5 и Т6. Вначале открывают вспомогательный тиристор Т12 и через индуктивность L2 заряжают конденсатор С2. Затем, открывая вспомогательные тиристоры Т24, Т25 или Т26, присоединяют аноды тиристоров Т4, Т5 или Т6 к отрицательной обкладке конденсатора С2.
Напряжение, подаваемое к якорю вентильного двигателя от преобразователя частоты, является, так же как и при частотном регулировании асинхронного двигателя, несинусоидальным. Поэтому, чтобы уменьшить вредные воздействия высших гармоник напряжения, тока и потока, двигатель необходимо снабдить мощной демпферной обмоткой с малыми активным и индуктивным сопротивлениями (см. 1.17). В этом случае высшие гармоники оказывают на синхронный двигатель сравнительно небольшое воздействие. При наличии такой обмотки режимы работы вентильного двигателя можно рассматривать с учетом только первых гармоник тока и напряжения.
Режим работы вентильного двигателя зависит не только от величины тока возбуждения и соотношения между напряжением и частотой, как в обычном синхронном двигателе, регулируемом путем изменения частоты. Большое значение имеют также момент подачи напряжения на фазу двигателя и свойства преобразователя частоты.
В преобразователе частоты, основанном на использовании инвертора напряжения (рис. 1.51, а), величина выходного напряжения почти не зависит от режима работы двигателя. Поэтому регулирование необходимо вести при постоянстве угла θ (см. рис. 1.50, а). Последнее можно осуществить, определяя с помощью какого-либо датчика положение оси полюсов ротора (а следовательно, и направление вектора Ė0) и регулируя подачу управляющих импульсов на тиристоры преобразователя так, чтобы напряжение Ùп подавалось на соответствующие фазы двигателя с некоторым углом опережения β0 ≈ θ (угол регулирования) по отношению к положению вектора Ė0 для данной фазы. Можно также определять ось результирующего магнитного потока и подавать питание на соответствующую фазу с требуемым углом β0. Оба эти метода имеют свои преимущества и недостатки, обусловленные в основном особенностями применяемых датчиков и управляющих устройств.
В рассматриваемой схеме питания вентильного двигателя угол регулирования β0 практически полностью определяет угол θ. Если приближенно положить β0 ≈ θ, то при постоянных значениях частоты питающего напряжения и тока возбуждения (т.е. ω1 и э. д. с. Е0) формула (1.35) принимает вид
. (1.51)
Следовательно, при изменении угла регулирования β0 ≈ θ для поддержания неизменным момента М нужно регулировать величину подводимого к двигателю от преобразователя напряжения Uп.
На рис. 1.50, б показано несколько положений векторов Ùп,
Iа и – jİaxсн при Е0 = const и различных значениях угла опережения β0 ≈ θ преобразователя частоты. При угле опережения β01 ≈ θ1 векторы Ùп1, İа1 и – jIalxсн направлены так, что ток İа1 совпадает по фазе с напряжением Ùп1 и является минимальным; при уменьшении угла β0 до β02 = θ2 напряжение, подводимое к двигателю, необходимо увеличить до Uп2; при этом ток İа2 будет отставать от Ùп2 на угол φ2; при увеличении угла β0 до β03 = θ3 необходимо уменьшать напряжение, подводимое к двигателю до Uп3, при этом ток İа3 будет опережать Ùп3 на угол φ3. Так как величина Uпsinθ на векторной диаграмме (рис. 1.50, б) выражается отрезком АВ, то при изменении угла опережения конец вектора напряжения – Ùп перемещается по прямой ВАС, проходящей через точку А и параллельной вектору Ė0. Ток якоря Iа при таком регулировании может существенно увеличиться, а максимальный момент двигателя в режиме, когда ток İа отстает от напряжения Ùп преобразователя (например, в положениях İа2 и Ùп2), уменьшится.
В преобразователе частоты, основанном на использовании инвертора тока, большая индуктивность L в цепи постоянного тока (рис. 1.51, б) позволяет считать ток якоря Iа практически неизменным (ток Iа имеет прямоугольную форму). Вследствие этого угол опережения β0 определяет положение вектора тока İа на диаграмме двигателя относительно положения вектора э. д. с. Ė0.
Для того чтобы двигатель работал при соsφ = 1, вектор тока İа должен опережать вектор э. д. с. Ė0 на угол β0, который в зависимости от нагрузки составляет 30–60°. Пусковой момент вентильного двигателя максимален при β0 = 0, поэтому в электроприводах с тяжелыми условиями пуска сначала регулирование ведут при β0 = 0, а с ростом частоты вращения начинают задавать некоторый угол опережения.
При необходимости питания вентильного двигателя от сети трехфазного тока могут применяться преобразователи частоты с непосредственной связью, т.е. без промежуточного выпрямления (рис. 1.52, а). Преимуществом таких преобразователей является отсутствие узлов принудительной коммутации, так как тиристоры перестают проводить ток после изменения направления напряжения в соответствующей фазе. Однако достаточно хорошее приближение формы выходного напряжения к синусоиде и четкое прекращение тока (в необходимый момент) может быть получено только в том случае, если источник трехфазного тока имеет частоту, в два-три раза большую, чем выходная частота преобразователя (рис. 1.52, б).
Рис. 1.52 – Принципиальная схема питания вентильного двигателя от преобразователя частоты с непосредственной связью (а) и форма кривой выходного напряжения преобразователя (б)
Рис. 1.53 – Схема электротрансмиссии автомобиля с вентильными двигателями
В качестве примера рассмотренного способа питания вентильного двигателя на рис. 1.53 приведена принципиальная схема электротрансмиссии мощного автомобиля. Дизель Д вращает вал трехфазного синхронного генератора СГ повышенной частоты (800 Гц) примерно с постоянной частотой. Напряжение генератора СГ, величина которого регулируется изменением тока возбуждения подается на тиристорный преобразователь частоты ПЧ, от которого пониженная частота подается к вентильным тяговым двигателям ВД, каждый из которых вращает ось соответствующего колеса. Частота тока на выходе преобразователя при этом регулируется в пределах от 0 до 400 Гц.
Рис. 1.54 – Принципиальная схема питания вентильного двигателя от однофазной сеги (а) и графики изменения э. д. с. и тока в фазе двигателя (б)
На рис 1.54, а приведена схема питания вентильного двигателя от однофазной сети, разработанная для мощных электровозов переменного тока. Однофазный трансформатор электровоза имеет две вторичные обмотки: а1 – х1 и а2 – х2, средние точки которых соединены между собой через дроссель L. К каждой вторичной обмотке подключены шесть тиристоров Т, которые позволяют питать обмотку якоря двигателя трехфазным током, создавая вращающееся магнитное поле. При малой частоте вращения, когда частота выходного напряжения (машинная частота) не превосходит 10 Гц коммутация тиристоров (их запирание) происходит под действием'напряжения сети. При повышенных частотах коммутация осуществляется за счет э.д.с, индуктируемых в фазах якоря двигателя, так как включение тиристора, питающего очередную фазу производится с опережением– в момент времени t1 (рис. 1.54, б). Иными словами, включение тиристора произойдет раньше, чем э д с в этой фазе приблизится к значению, при котором происходит естественная коммутация вентилей, включенных в соседние фазы (момент времени t2). Разность э.д.с. по контуру двух фаз, замкнутых накоротко включенными тиристорами одной полярности, обеспечивает закрытие тиристора, питающего ту фазу, в которой индуктируется большая э. д. с. Для нормального закрытия тиристоров практически приходится делать угол опережения β0 равным 30–60°, так как индуктивность фаз довольно велика и ток в тиристорах нарастает и спадает плавно.
Использование рассмотренного способа коммутации тиристоров вентильного двигателя дает возможность обеспечить работу при частоте, равной частоте питающей сети или даже большей ее (при так называемых «сверхсинхронных частотах вращения»). Для того чтобы при повышенных частотах вращения форма кривой тока в фазах двигателя была близка к прямоугольной, между вторичными обмотками трансформатора включают мощный дроссель L, обтекаемый током одного направления. Недостатками рассмотренной схемы питания вентильного двигателя являются сложность системы управления и пониженный к. п. д. (из-за наличия большого дросселя).
Следует отметить, что все типы вентильных двигателей не обладают еще достаточно высокой надежностью из-за сложности преобразователей частоты и их схем управления, которые имеют большое количество вентилей и других элементов, весьма чувствительных к перегрузкам. Тем не менее вентильные двигатели, как и асинхронные двигатели с частотным регулированием, являются весьма перспективными и в будущем можно ожидать широкое применение их в электроприводе. В настоящее время происходит быстрое совершенствование мощных тиристоров, интегральных схем и других полупроводниковых приборов, которое позволит обеспечить надежную работу преобразователей частоты.
1.16 Синхронный компенсатор
Синхронный компенсатор представляет собой синхронный двигатель, работающий без нагрузки на валу; при этом по обмотке якоря проходит практически только реактивный ток. Синхронный компенсатор может работать в режиме улучшения соsφ или в режиме стабилизации напряжения.
Обычно электрическая сегь, питающая электроэнергией промышленные предприятия, нагружена током Iн отстающим по фазе от напряжения сети Uc (рис. 1.55, а). Это объясняется тем, что от сети получают питание асинхронные двигатели, у которых реактивная составляющая тока довольно велика. Для улучшения cosφ сети синхронный компенсатор должен работать в режиме перевозбуждения. При этом ток возбуждения регулируется так, чтобы ток якоря İа синхронного компенсатора опережал на 90° напряжение сети Ùс (рис. 1.55, а) и был примерно равен реактивной составляющей İн.р тока нагрузки İн. В результате сеть загружается только активным током нагрузки İс = İн.а.
При работе в режиме стабилизации напряжения ток возбуждения синхронного компенсатора устанавливается постоянным, причем такой величины, чтобы э. д. с. компенсатора Е0 была равна номинальному напряжению сети Uс.ном (рис. 1.55, б). В сети при этом имеется некоторый ток Iн создающий падение напряжения
,
где rс и хс–активное и индуктивное сопротивления сети; φ–угол сдвига фаз между векторами напряжения и тока сети.
Рис. 1.55 – Векторные диаграммы синхронного компенсатора:
а–в режиме улучшения cos ф сети; б, в, г–в режиме стабилизации напряжения
Если напряжение сети в точке подключения синхронного компенсатора несколько понизится из-за возрастания тока нагрузки Iн и станет меньше Uс.ном, то синхронный компенсатор начнет забирать из сети реактивный опережающий ток İа (рис. 1.55, в). Это уменьшает падение напряжения в ней на величину ΔUк = Iaxc. При повышении напряжения в сети, когда Uc > Uс.ном, синхронный компенсатор загружает сеть реактивным отстающим током İа (рис. 1.55, г), что приводит к увеличению падения напряжения на величину ΔUк = Iaxc. При достаточной мощности синхронного компенсатора колебания напряжения в сети не превышают 0,5 – 1,0%. Недостатком указанного метода стабилизации напряжения является то, что синхронный компенсатор загружает линию реактивным током, увеличивая потери в ней.
1.17 Однофазная синхронная машина
Однофазная синхронная машина может работать в качестве генератора и двигателя. При этом на статоре машины укладывают обмотку якоря (рис. 1.56, а), занимающую примерно 2/3 его окружности. Располагать обмотку якоря по всей окружности статора нецелесообразно, так как при этом расход меди увеличится в 1,5 раза, а мощность повысится незначительно – примерно на 15%. Это объясняется тем, что по мере увеличения числа пазов уменьшается обмоточный коэффициент, который для машины с равномерно распределенной обмоткой якоря составляет около 0,64. Однако из-за уменьшения числа пазов, заполненных обмоткой, мощность однофазной машины примерно в 1,4 раза меньше мощности трехфазной машины с одинаковым диаметром статора и при одинаковых потерях мощности в его обмотке.
Рис. 1.56 – Схематический разрез однофазной синхронной машины (а) и векторная диаграмма м. д. с. и э. д. с, создаваемых обратным полем (б): 1-статор, 2-обмотка якоря, 3 – ротор, 4 – обмотка возбуждения
При протекании однофазного тока по обмотке якоря возникает как прямое Фпр, так и обратное Фобр магнитные поля. Прямое поле относительно ротора неподвижно; обратное же вращается с угловой скоростью 2ω1 и индуктирует в обмотке возбуждения э. д. с, частота которой в два раза больше частоты э. д. с. в обмотке якоря. Протекающий при этом ток двойной частоты может вызвать искрение на щетках возбудителя и ряд других нежелательных последствий. Для устранения этих явлений на роторе однофазной машины обязательно размещают короткозамкнутую демпферную обмотку типа беличьей клетки. В стержнях демпферной обмотки обратное поле индуктирует э. д. с. двойной частоты, вследствие чего создаваемая этой обмоткой м. д. с. Fд будет вращаться с той же частотой и в том же направлении, что и обратное поле, созданное м. д. с. Fобр обмотки статора. Векторная диаграмма (рис. 1.56, б), иллюстрирующая взаимодействие этих м. д. с, сходна с векторной диаграммой трансформатора тока. Так же как и в трансформаторе тока, м. д. с. Fд оказывает размагничивающее действие на м. д. с. Fобр, при этом результирующая м. д. с. Fрез и создаваемый ею поток Фрез, а также э. д. с. Ед в демпферной обмотке и э. д. с. Ев в обмотке возбуждения резко уменьшаются. Таким образом, при наличии демпферной обмотки обратное поле почти полностью гасится и через обмотку возбуждения переменный ток практически не проходит.
1.18 Понятие о переходных процессах в синхронных машинах
Процессы, возникающие в синхронных машинах при переходных режимах, например при внезапном коротком замыкании или резком изменении нагрузки, весьма сложны, что вызывает значительные
трудности при их точном количественном расчете. Однако поведение синхронной машины при указанных режимах имеет очень большое практическое значение, так как переходные процессы могут вызвать повреждение машины, а следовательно, и значительные убытки, связанные с перерывом энергоснабжения промышленных предприятий. Поэтому необходимо иметь общее представление о физических процессах, возникающих при переходных режимах, и установить хотя бы приближенно величину аварийных токов, имеющих место при коротком замыкании.
Рис. 1.57. Графики изменения токов в обмотках якоря (а), возбуждения (б) и демпферной (в) при коротком замыкании
Внезапное короткое замыкание синхронного генератора. Рассмотрим трехфазное короткое замыкание синхронного генератора, работающего предварительно в режиме холостого хода.
Осциллограмма тока якоря в одной из фаз генератора показана на рис. 1.57. На первый взгляд изменение тока якоря напоминает закон изменения тока трансформатора при коротком замыкании, описываемый формулой (2–98):
,
где iк.п и iк.а – периодическая и апериодическая составляющие тока короткого замыкания; Iуст m–амплитуда установившегося тока короткого замыкания; α0 – начальная фаза напряжения при t = 0, т.е. в момент начала короткого замыкания; rк и Lк – сопротивление и индуктивность трансформатора при коротком замыкании.
Однако более подробный анализ показывает, что процесс короткого замыкания в синхронном генераторе значительно сложнее, чем в трансформаторе.
Рис. 1.58 – График изменения тока в обмотке якоря при коротком замыкании
При коротком замыкании генератора с течением времени постепенно уменьшается амплитуда периодической составляющей Iк, п тока генератора (рис. 1.58) и в конце концов она становится равной амплитуде установившегося тока короткого замыкания:
.
В первом полупериоде амплитуда периодической составляющей в 5–8 раз превышает величину Iкm. Это происходит из-за того, что в начальный момент процесса короткого замыкания э. д. с. синхронного генератора близка к э. д. с. холостого хода Е0 и только через 0,6–1,5 с становится равной
.
Быстрому уменьшению э. д. с. Е и потока Фрез препятствует появление переходного тока в обмотке возбуждения (рис. 1.57, б), который возникает из-за того, что в обмотке возбуждения индуктируется э. д. с.
. (1.52)
Переходный ток в обмотке возбуждения имеет максимум в начальный период короткого замыкания и постепенно затухает, уменьшаясь до установившегося значения тока, предшествовавшего короткому замыканию. В соответствии с уменьшением тока возбуждения снижаются результирующий поток, э. д. с. генератора и амплитуда периодической составляющей тока короткого замыкания. Наибольшее значение этой амплитуды















