150898 (598894), страница 7
Текст из файла (страница 7)
. (1.53)
где x'd–продольное переходное индуктивное сопротивление обмотки якоря.
Поскольку амплитуда тока постепенно затухает, приближаясь к установившемуся значению тока короткого замыкания Iкm, периодическая составляющая тока короткого замыкания может быть представлена в виде
, (1.54)
так как индуктивное сопротивление синхронной машины значительно больше активного и φк ≈ arctg (хк/rк) ≈ π/2.
Переходная постоянная времени T'd обусловлена не только параметрами обмотки якоря, но и главным образом параметрами обмотки возбуждения и составляет 0,4 – 3,0 с.
Обычно величина продольного переходного индуктивного сопротивления в относительных единицах x'd* = 0,2 ÷ 0,5.
Еще большей бывает амплитуда тока короткого замыкания, если машина имеет успокоительную (демпферную) обмотку, в которой также возникает переходный ток, замедляющий уменьшение результирующего потока. При наличии успокоительной обмотки
, (1.55)
где x"d–сверхпереходное индуктивное сопротивление по продольной оси. Обычно x"d* = 0,12 ÷ 0,35.
Затухание тока якоря, соответствующее затуханию переходного тока в демпферной обмотке, определяется сверхпереходной постоянной времени T"d = 0,03-=-0,15 с, которая зависит в основном от параметров демпферной (успокоительной) обмотки.
С учетом сказанного периодическая составляющая тока короткого замыкания принимает вид
. (1.56)
Поскольку э. д. с. в фазах обмотки статора сдвинуты по времени, начальный угол α0 для них различен, а следовательно, различны и токи фаз в переходном процессе.
Апериодические составляющие тока якоря создают неподвижное в пространстве магнитное поле, которое пересекает вращающийся ротор. Вследствие этого в обмотках ротора возникают периодические э. д. с. и токи. Так как по продольной и поперечной осям ротор несимметричен (из-за разных величин воздушного зазора в явнополюсных машинах; из-за того, что по продольной оси имеется обмотка возбуждения, а успокоительные обмотки по этим осям могут также иметь различие), то в апериодическом токе якоря iка появляется переменная составляющая двойной частоты. При этом
, (1.57)
где x"q – поперечное сверхпереходное индуктивное сопротивление обмотки якоря; Та = (х"d + х"q)/(ωrа) – постоянная времени апериодического тока якоря.
При наличии успокоительной обмотки x"q обычно мало отличается от x"d и тогда
. (1.58)
Полный ток короткого замыкания
. (1.59)
Значение тока короткого замыкания будет максимальным в той фазе, где α0 = 0, примерно через полупериод после начала короткого замыкания (см. рис. 1.58). Эту величину называют ударным током. Если в формуле (1.59) пренебречь затуханием тока, то
.
Поскольку постоянные времени T"d, T'd и Та малы, некоторое затухание все же происходит.
По ГОСТу значение ударного тока определяется по формуле
,
где коэффициентами 1,8 и 1,05 учитывается соответственно затухание и возможность работы при повышенном напряжении.
Величина ударного тока не должна превышать амплитуду номинального тока якоря более чем в 15 раз. Так как значения x"d и x'd сравнительно малы, то для ограничения величины ударного тока в цепь якоря иногда приходится ставить специальный реактор.
При коротком замыкании синхронного генератора возникает также знакопеременный момент на валу ротора, который образуется в результате взаимодействия неизменного по направлению магнитного поля, создаваемого апериодической составляющей тока якоря, с м.д. с. возбуждения. В наиболее неблагоприятных случаях мгновенные значения этого момента достигают 10-кратной величины по сравнению с номинальным значением, что необходимо учитывать при механических расчетах деталей машины и ее крепления к фундаменту.
Гашение магнитного поля. При коротких замыканиях во внешней цепи срабатывает релейная защита, которая отключает синхронный генератор от присоединенной к нему нагрузки или от сети. Однако при внутренних коротких замыканиях в генераторе отключение его от внешней цепи не ликвидирует режим короткого замыкания, так как в обмотке якоря индуктируется э.д.с. и по ней продолжает протекать большой ток. Для устранения режима короткого замыкания в этом случае требуется резко уменьшить магнитный поток машины, для чего следует прекратить протекание тока по ее обмотке возбуждения. Операции, необходимые для прекращения протекания тока по обмотке возбуждения синхронной машины при аварийных режимах, называют гашением магнитного поля.
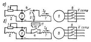
Рис. 1.59 – Схемы возбуждения синхронных генераторов с устройствами гашения поля:
а – с гасящим резистором; б – с автоматом гашения поля и дугогасительной решеткой:
1-регулировочный реостат, 2 – обмотка возбуждения возбудителя,
3-якорь возбудителя, 4, 5, 10 – контакты автомата гашения поля,
6 – гасящий резистор, 7-обмотка возбуждения генератора,
8 – якорь генератора, 9~~выключатель в цепи якоря,
11 – дугогасительная решетка автомата гашения поля
Гашение магнитного поля в принципе возможно путем быстрого размыкания цепи обмотки возбуждения с помощью соответствующего контакта автоматического выключателя (автомата гашения поля). Однако при этом в обмотке возбуждения индуктируется э.д. с. самоиндукции ев = – Lвdiв/dt. Так как обмотка возбуждения имеет значительную индуктивность Lв, то э. д. с. ев может создавать большие перенапряжения, опасные для изоляции обмотки.
По этой причине приходится применять способы гашения магнитного поля, обеспечивающие уменьшение тока возбуждения с некоторой ограниченной скоростью, при которой не возникают чрезмерные перенапряжения.
В настоящее время применяют две схемы гашения поля. В одной из них (рис. 1.59, а) обмотка возбуждения отключается автоматом гашения поля от возбудителя и замыкается на гасящий резистор, сопротивление которого в 4–5 раз больше сопротивления обмотки возбуждения. При такой величине сопротивления резистора ток короткого замыкания не создает в генераторе значительных внутренних повреждений, а возникающие перенапряжения находятся в допустимых пределах. Гасящий резистор должен быть рассчитан на длительный ток, равный 0,2 Iв.ном для турбогенераторов и 0,05 Iв.ном для гидрогенераторов. В другой схеме (рис. 1.59, б) скорость уменьшения тока возбуждения ограничивается удлинением времени горения дуги в автомате гашения поля, который размыкает цепь обмотки возбуждения. Этот автомат имеет кроме главных контактов 4 специальные дугогасительные контакты 10, при размыкании которых возникающая дуга выдувается на дугога-сительную решетку и гасится в ней. Соответствующим выбором конструкции дугогасительной камеры удается получить умеренную скорость уменьшения тока. При использовании указанных схем гашения поля требуется усиливать изоляцию обмотки возбуждения, на которую в нормальных условиях подается напряжение порядка 50–400 В.
Гашение поля мало сказывается на характере переходного процесса нарастания тока якоря при коротких замыканиях, так как этот ток достигает максимального значения Iуд примерно через полпериода (при частоте 50Гц через 0,01 с), а за это время защита не успевает сработать. Оно лишь уменьшает время, в течение которого по обмотке якоря проходит ток короткого замыкания и, следовательно, снижает вероятность повреждения машины этим током.
Резкие изменения нагрузки. При резких изменениях нагрузки синхронной машины, работающей параллельно с сетью, возникают колебания ротора около установившегося значения угла θ, называемые качаниями. Допустим, что машина работает при некоторой нагрузке и развивает электромагнитный момент М1 = Мвн1, соответствующий углу θ1 (рис. 1.60). Если резко увеличить внешний момент, приложенный к валу ротора, до величины Мвн2, при которой возрастает отдаваемая машиной электрическая (в генераторе) или механическая (в двигателе) мощность, то угол θ будет постепенно увеличиваться до величины θ2, соответствующей новому значению электромагнитного момента М2 = Мвн2. Однако из-за инерции ротора угол θ, увеличиваясь, достигнет значения θ3 > θ2, а затем под действием синхронизирующего момента начнет уменьшаться до величины θ4 < θ2. В результате возникают колебания угла θ вокруг установившегося значения θ2, которые сопровождаются колебаниями угловой скорости вращения ротора (качаниями). Опасность таких качаний заключается в том, что из-за инерции ротора угол θ может существенно превзойти 90°, и машина выпадет из синхронизма.
Частота собственных колебаний синхронных машин невелика (0,5–2,0 Гц), что объясняется большим моментом инерции ротора. Так как изменения угла θ сопровождаются изменениями мощности машины и тока якоря, на наличие колебаний в машине указывают колебания стрелок приборов (амперметра и вольтметра), включенных в цепь якоря. Собственные колебания в синхронных машинах наблюдаются не только при резких изменениях нагрузок, но и в стационарных режимах, так как у машин, работающих параллельно с сетью, всегда имеются небольшие возмущения. Особенно часто такие колебания возникают при холостом ходе, когда на валу нет внешнего момента.
Рис. 1.60 – Угловая характеристика синхронного генератора при качаниях ротора
Уменьшения амплитуды качаний и ускорения их затухания достигают применением на роторе короткозамкнутой обмотки, называемой демпферной или успокоительной. Успокоительное действие демпферной обмотки при качаниях объясняется тем, что в ее стержнях при изменении частоты вращения ротора индуктируется э. д. с. и по ним проходит ток, что сопровождается потерей энергии. Эта обмотка получила свое название потому, что ее действие подобно действию механического демпфера, потери на трение в котором успокаивают колебания механизма (например, сельсина).
Колебания ротора синхронной машины могут быть вынужденными, если на него действует периодически изменяющийся внешний момент. Такие колебания образуются в синхронных генераторах, приводимых во вращение от поршневых машин, например от двигателей внутреннего сгорания, а также в синхронных двигателях, служащих для привода поршневых компрессоров. Поэтому для уменьшения неравномерности вращающего момента двигатели внутреннего сгорания, предназначенные для вращения синхронных генераторов, и поршневые компрессоры часто снабжают маховиками. Генераторы и электродвигатели должны в этом случае иметь достаточно мощную демпферную обмотку.
1.19 Несимметричные режимы работы синхронных генераторов
Работа генератора при несимметричной нагрузке. Наличие однофазных нагрузок (осветительной сети, тяговых трансформаторов электрифицированных железных дорог и т.п.) вызывает несимметрию фазных токов синхронных генераторов. Анализ несимметричных режимов, как и для трехфазных трансформаторов, производится методом симметричных составляющих, при котором трехфазная несимметричная система токов IА, IB и IC разлагается на системы токов прямой, обратной и нулевой последовательностей.
Система токов прямой последовательности İA1, İB1, İC1 создает в трехфазной синхронной машине м.д.с. якоря, вращающуюся синхронно с ротором, т.е. неподвижную относительно обмоток ротора. Этот режим подробно рассмотрен в предшествующих параграфах настоящей главы. Индуктивное сопротивление фазы для токов прямой последовательности хпр=хсн.
Система токов обратной последовательности İА2, İВ2, İC2 создает м.д.с. якоря, вращающуюся в сторону, противоположную вращению ротора, так как имеет место чередование максимумов тока в фазах, обратное по отношению к токам прямой последовательности. Следовательно, магнитное поле токов обратной последовательности пересекает обмотки ротора с двойной частотой и индуктирует в обмотке возбуждения и демпферной обмотке э. д. с, имеющую в два раза большую частоту, чем э. д. с. обмотки якоря. Наличие э.д. с. и токов двойной частоты в обмотках ротора заставляет при расчете токов обратной последовательности пользоваться сверхпереходными (или переходными) индуктивными сопротивлениями. Другими словами, для потоков обратной последовательности короткозамкнутая демпферная клетка играет ту же роль, что и короткозамкнутая обмотка ротора асинхронной машины по отношению к вращающемуся потоку.
Поток обратной последовательности равномерно пересекает то продольную, то поперечную ось ротора. Вследствие этого среднее значение индуктивного сопротивления машины для токов обратной последовательности можно принять равным
. (1.60)
Если демпферная обмотка расположена по всей окружности якоря, то можно считать, что
. (1.61)















