150216 (598860), страница 56
Текст из файла (страница 56)
4.3 Внутренние соединения
4.3.1 Внутренние соединения должны быть выполнены так, чтобы исключить возможность воздействия на них механических нагрузок. Допускаются только следующие способы соединения проводов:
а) винтовые крепления с блокировкой;
б) обжатие;
в) пайка, если сами провода не имеют спаянных соединений;
г) пайка угольной дугой;
д) сварка и
е) любые соединения других видов, удовлетворяющие требованиям 4.2.
Примечание - Необходимо принимать меры, исключающие коррозию от электролита.
4.3.2 Выводы должны подвергаться испытаниям в соответствии с 6.9.
4.4 Электрические зазоры
Электрические зазоры между неизолированными токоведущими частями, имеющими различный потенциал, должны соответствовать значениям, указанным в таблице 1. Для наружных соединений минимальное значение электрического зазора принимают равным 3 мм.
Таблица 1 - Пути утечки и электрические зазоры
| Напряжение постоянного тока или | Минимальные пути утечки, мм | Минимальный | ||
| действующее значение переменного | Группа материала | электрический | ||
| тока (см. примечание 1), В | I | II | IIIa | зазор, мм |
| 10 (см. примечание 2) | 1,6 | 1,6 | 1,6 | 1,6 |
| 12,5 | 1,6 | 1,6 | 1,6 | 1,6 |
| 16 | 1,6 | 1,6 | 1,6 | 1,6 |
| 20 | 1,6 | 1,6 | 1,6 | 1,6 |
| 25 | 1,7 | 1,7 | 1,7 | 1,7 |
| 32 | 1,8 | 1,8 | 1,8 | 1,8 |
| 40 | 1,9 | 2,4 | 3,0 | 1,9 |
| 50 | 2,1 | 2,6 | 3,4 | 2,1 |
| 63 | 2,1 | 2,6 | 3,4 | 2,1 |
| 80 | 2,2 | 2,8 | 3,6 | 2,2 |
| 100 | 2,4 | 3,0 | 3,8 | 2,4 |
| 125 | 2,5 | 3,2 | 4,0 | 2,5 |
| 160 | 3,2 | 4,0 | 5,0 | 3,2 |
| 200 | 4,0 | 5,0 | 6,3 | 4,0 |
| 250 | 5,0 | 6,3 | 8,0 | 5,0 |
| 320 | 6,3 | 8,0 | 10,0 | 6,0 |
| 400 | 8,0 | 10,0 | 12,5 | 6,0 |
| 500 | 10,0 | 12,5 | 16,0 | 8,0 |
| 630 | 12,0 | 16,0 | 20,0 | 10,0 |
| 800 | 16,0 | 20,0 | 25,0 | 12,0 |
| 1000 | 20,0 | 25,0 | 32,0 | 14,0 |
| 1600 | 23,0 | 27,0 | 32,0 | 20,0 |
| 2000 | 25,0 | 28,0 | 32,0 | 23,0 |
| 2500 | 32,0 | 36,0 | 40,0 | 29,0 |
| 3200 | 40,0 | 45,0 | 50,0 | 36,0 |
| 4000 | 50,0 | 56,0 | 63,0 | 44,0 |
| 5000 | 63,0 | 71,0 | 80,0 | 50,0 |
| 6300 | 80,0 | 90,0 | 100,0 | 60,0 |
| 8000 | 100,0 | 110,0 | 125,0 | 80,0 |
| 10000 | 125,0 | 140,0 | 160,0 | 100,0 |
| Примечания | ||||
| 1 Для всех напряжений фактическое рабочее напряжение может превышать значение, приведенное в таблице, на 10% | ||||
| 2 При напряжениях 10 В и ниже значения сравнительных индексов трекингостойкости (СИТ) недостоверны, и допускается использование материалов, не отвечающих требованиям, предъявляемым к материалам группы IIIa | ||||
Расстояния между выводами для соединений должны соответствовать сечению провода, которое обеспечивает минимальный электрический зазор.
Примечание - Требования к лампам с резьбовыми цоколями изложены в 5.3.3.1.4.
Электрические зазоры зависят от рабочего напряжения, указываемого изготовителем электрооборудования в нормативно-технической документации. Если электрооборудование рассчитано для работы с различными значениями напряжения, за рабочее напряжение принимают наибольшее значение номинального напряжения.
При определении зазоров необходимо учитывать факторы, указанные на рисунке 2.
| | | |||
| Пример 1 | Пример 2 | |||
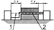
| Условие. | Данный отрезок содержит паз с параллельными или сходящимися краями любой глубины и шириной менее X | Условие. | Паз с параллельными краями глубиной и шириной равной или больше X | |
| Правило. | Путь утечки и электрические зазоры измеряют непосредственно поперек паза, как показано | Правило. | Электрический зазор находится по линии визирования. Путь утечки повторяет контуры паза | |
| | | |||
| Пример 3 | Пример 4 | |||
| Условие. | V-образный паз шириной большей X | Условие. | Рассматриваемый отрезок имеет форму выступа | |
| Правило. | Электрический зазор находится на линии визирования. Путь утечки повторяет контуры паза, но “укорачивает” низ паза за счет отрезка X | Правило. | Электрическим зазором является наикратчайшее расстояние через вершину выступа по воздуху. Путь утечки повторяет контуры выступа | |
| 1 - электрический зазор; 2 - путь утечки; X = 2,5 мм | ||||
| Рисунок 2 - Определение путей утечки и электрических зазоров, лист 1 | ||||
| | | |||
| Пример 5 | Пример 6 | |||
| Условие. | Рассматриваемый отрезок имеет форму выступа | Условие. | Негерметизированное соединение с канавками с двух сторон | |
| Правило. | Электрический зазор и путь утечки находятся по линии визирования | Правило. | Электрический зазор находится по линии визирования. Путь утечки повторяет контуры канавок | |
| | | |||
| Пример 7 | Пример 8 | |||
| Условие. | Негерметизированное соединение с канавками с двух сторон | Условие. | Путь утечки через негерметизированное соединение меньше пути утечки через барьер | |
| Правило. | Электрические зазоры и пути утечки - как показано | Правило. | Электрический зазор - наикратчайшее прямое расстояние по воздуху через верх барьера | |
| 1 - электрический зазор; 2 - путь утечки; X=2,5 мм | ||||
| Рисунок 2, лист 2 | ||||
| | | |||
| Пример 9 | Пример 10 | |||
| Электрический зазор между головкой винта и стенкой углубления достаточно широкий, и его надо учитывать | Электрический зазор между головкой винта и стенкой углубления слишком узкий, и его не учитывают. | |||
| Измерение пути утечки - от винта до стенки, когда это расстояние равно X | ||||
| | ||||
| Пример 11 | ||||
| Электрический зазор и путь утечки равны d + D. | ||||
| C - изменяемая часть | ||||
| 1 - электрический зазор; 2 - путь утечки; X = 2,5 мм | ||||
| Рисунок 2, лист 3 | ||||
4.5 Пути утечки
4.5.1 Нормируемые значения путей утечки зависят от рабочего напряжения, сопротивления трекингу электроизоляционного материала и профиля его поверхности.












