150216 (598860), страница 55
Текст из файла (страница 55)
ГОСТ Р 51330.17-99 (МЭК 60079-18-92) Электрооборудование взрывозащищенное. Часть 18. Взрывозащита “герметизация компаундом (m)”
ГОСТ Р МЭК 61056.1-99 Портативные свинцовые аккумуляторы и батареи (типы, регулирующиеся с помощью клапана). Часть 1. Общие требования, функциональные характеристики, методы испытаний
ГОСТ Р МЭК 61195-99 Люминесцентные лампы с двойными цоколями. Спецификации безопасности
3 ОПРЕДЕЛЕНИЯ
В настоящем стандарте используются некоторые термины и определения из ГОСТ Р 51330.0, а также следующие термины с соответствующими определениями.
3.1 защита вида e: Вид защиты электрооборудования, использующий дополнительные меры против возможного превышения допустимой температуры, а также возникновения дуговых разрядов, искрения в нормальном или ненормальном режимах работы, указанных изготовителем электрооборудования в нормативно-технической документации.
Примечание - Электрооборудование, вызывающее в нормальном режиме работы дуговые разряды или искрение, по определению не может быть отнесено к защите вида e.
3.2 предельная температура: Максимально допустимая температура для электрооборудования или его частей, равная меньшей из двух температур, определяемых по:
а) опасности воспламенения взрывоопасной газовой среды;
б) термической стойкости используемых материалов.
Примечание - В качестве предельной температуры может быть принята максимальная температура поверхности (см. 3.8 и раздел 5 ГОСТ Р 51330.0) или меньшая температура (см. 4.8 настоящего стандарта).
3.3 начальный пусковой ток IA: Наибольшее действующее значение тока, потребляемое заторможенным электродвигателем с короткозамкнутым ротором или магнитом переменного тока, у которого якорь установлен гак, что создается максимальный воздушный зазор при номинальных напряжении и частоте.
Примечание - Переходные процессы не принимают во внимание.
3.4 отношение IA/IN: Отношение начального пускового тока IA к номинальному току IN.
3.5 время tE: Время нагрева начальным пусковым током IA обмотки переменного тока ротора или статора от номинальной температуры в условиях эксплуатации до предельной температуры при максимальной окружающей температуре (см. приложение А, рисунок A.1).
3.6 номинальный термический ток короткого замыкания Ith: Действующее значение тока, требуемое для нагрева проводника от номинальной рабочей температуры до предельной температуры за 1 с при максимальном значении температуры окружающей среды.
3.7 номинальный динамический ток Idyn: Амплитудное значение тока, динамическое воздействие которого электрооборудование может выдержать без повреждения.
3.8 ток короткого замыкания Isc: Максимальное действующее значение тока короткого замыкания, воздействию которого электрооборудование может подвергаться во время эксплуатации.
Примечание - Значение тока короткого замыкания согласно 23.2 ГОСТ Р 51330.0 должно быть указано в нормативно-технической документации.
3.9 путь утечки: Наикратчайшее расстояние между двумя токоведущими частями по поверхности электроизоляционного материала.
3.10 электрический зазор: Наикратчайшее расстояние по воздуху между двумя токоведущими частями.
3.11 наибольшее рабочее напряжение: Наибольшее действующее значение напряжения переменного или постоянного тока, которое может возникнуть (локально) по любой изоляции при номинальном напряжении питания в условиях разомкнутой цепи или в нормальном режиме работы. При этом переходные процессы не принимают во внимание.
3.12 Элементы или батареи
3.12.1 элемент: Система электродов, других деталей и электролит, образующие наименьший электрический блок батареи.
Примечания
1 Если в термине слово, например “батарея”, взято в скобки, то его можно опустить при условии, что это не приведет к разночтению.
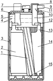
2 На рисунке 1 показаны различные части элемента. Схема приведена только для иллюстрации и не отражает каких-либо требований к конструкции.
1 - сепаратор; 2 - положительно заряженная пластина; 3 - контейнер элемента; 4 - уровень электролита (макс./мин.); 5 - свободное пространство; 6 - уплотнение, непроницаемое для электролита; 7 - втулка для залива и слива; 8 - герметизированная оболочка держателя;
9 - соединитель между элементами; 10 - держатель вывода; 11 - уплотнение держателя, непроницаемое для электролита; 12 - стержень; 13 - опора пластины; 14 - отрицательно заряженная пластина; 15 - пространство для конденсата
Рисунок 1 - Части элемента
3.12.2 первичный элемент или батарея: Электрохимическая система, способная вырабатывать электроэнергию путем химической реакции.
3.12.3 аккумулятор или батарея: Электрически перезаряжаемая электрохимическая система, способная накапливать электроэнергию и выдавать ее путем химической реакции.
3.12.4 открытый элемент и батарея: Аккумулятор или батарея, имеющие крышку с отверстием, через которое выходят газы.
3.12.5 элемент или батарея с редуктором давления: Элемент или батарея, закрываемые в нормальных условиях и имеющие устройство выпуска газа, которое срабатывает при превышении установленного значения внутреннего давления. В нормальных условиях подача электролита в элемент невозможна.
3.12.6 уплотнительный элемент или батарея: Элемент или батарея, которые остаются закрытыми и не выпускают газ или жидкость, если не превышаются уровни зарядки или температуры, указанные изготовителем.
Примечание - Такой элемент или батарея могут быть снабжены защитным устройством, предотвращающим опасный рост внутреннего давления. Они не требуют добавления электролита и рассчитаны на работу в течение срока службы в первоначальном уплотненном состоянии.
3.12.7 батарея: Узел из двух или более элементов, соединенных электрически для увеличения напряжения или емкости.
Примечание - Термин “элемент(ы)” означает отдельные элементы, а термин “батарея(и)” - элементы и батареи.
3.12.8 емкость: Количество электричества или электрический заряд, который в обозначенных условиях обеспечивает полностью заряженная батарея.
Примечание - В системе СИ электрический заряд измеряют в кулонах (1 Кл=1 А·с), но на практике емкость батареи выражают в ампер-часах (А·ч).
3.12.9 номинальное напряжение: Напряжение элемента или батарей, указанное изготовителем.
3.12.10 максимальное напряжение разомкнутой цепи: Максимальное напряжение элемента или батареи в нормальном режиме работы, т.е. от нового первичного элемента или аккумулятора сразу же после зарядки (см. таблицы 9 и 10).
3.12.11 зарядка: Пропускание тока через первичный элемент для восстановления первоначально накопленной энергии в направлении, противоположном току, проходящему через первичный элемент в нормальном режиме работы.
3.12.12 обратная зарядка: Пропускание через первичный элемент или аккумулятор (например, через выработавшую свой ресурс батарею) тока, имеющего такое же направление, как и ток в нормальном режиме работы.
3.12.13 глубокая разрядка: Снижение напряжения элемента ниже значения, рекомендованного изготовителем элемента или батареи.
3.12.14 контейнер (элемента): Контейнер узла пластины и электролита из материала, устойчивого к воздействию электролита.
3.12.15 контейнер (батареи): Корпус батареи.
Примечание - Крышка является частью корпуса батареи.
3.12.16 узел пластины: Узел положительных и отрицательных групп с разделителями.
3.12.17 перегородка: Часть контейнера батареи, делящая его на отдельные секции и увеличивающая его механическую прочность.
3.12.18 изолирующий барьер: Электрически изолирующий материал между группами элементов внутри батареи.
3.12.19 соединитель между элементами: Электрический проводник, проводящий ток между элементами.
3.13 Резистивные нагревательные устройства и блоки
3.13.1 резистивное нагревательное устройство: Узел резистивного нагревательного блока, содержащий один или более нагревательных резисторов, которые состоят из металлических проводников или электропроводящего компаунда, соответствующим образом изолированного и защищенного.
3.13.2 резистивный нагревательный блок: Оборудование, содержащее узел из одного или более резистивных нагревательных устройств, соединенных с устройствами, исключающими повышение температуры выше заданной.
Примечание - Если устройство, предотвращающее превышение температуры, находится за пределами взрывоопасной зоны, то оно может не иметь защиту вида e.
3.13.3 рабочий объект: Объект, на котором применяют резистивное нагревательное устройство.
3.13.4 свойство самоограничения: Свойство резистивного нагревательного устройства, которое при номинальном напряжении питания и при повышении окружающей температуры обеспечивает снижение его выходной тепловой мощности до значения, при котором не происходит дальнейшее повышение температуры.
Примечание - Температура поверхности элемента становится равной температуре окружающей среды.
3.13.5 стабилизированная конструкция резистивного нагревательного устройства или блока: Конструкция резистивного нагревательного устройства или блока, при которой его температура благодаря конструктивным особенностям и условиям эксплуатации стабилизируется на уровне ниже предельной температуры при наиболее неблагоприятных условиях без применения защитной системы для ограничения температуры.
3.14 наружные соединения: Соединения, выполняемые в условиях эксплуатации.
3.15 внутренние соединения: Соединения, выполняемые изготовителем в контролируемых условиях.
3.16 нормальный режим работы электродвигателя: Режим, предусматривающий непрерывную работу электродвигателя при номинальных характеристиках, указанных на табличке, включая условия пуска.
3.17 электрическая нагревательная система, питаемая от сети: Система, состоящая из электрических нагревателей, питаемых от сети, кабелей, прокладок, панелей и опорных устройств, предназначенная для повышения и поддержания температуры продуктов, содержащихся в трубопроводах, резервуарах и сопряженном оборудовании, и устанавливаемая снаружи технологического оборудования.
4 ОБЩИЕ КОНСТРУКТИВНЫЕ ТРЕБОВАНИЯ
4.1 Общие положения
4.1.1 Требования данного раздела распространяются, если нет других указаний, на все электрооборудование с защитой вида e. Они дополняют ГОСТ Р 51330.0 и уточняют требования к некоторым видам электрооборудования (см. раздел 5).
4.2 Выводы для наружного соединения
4.2.1 Выводы для подсоединения внешних цепей должны иметь достаточный размер для надежного подсоединения проводов с поперечным сечением, соответствующим номинальному току электрооборудования.
Количество и размер проводов, которые могут подсоединяться к выводам согласно 23.2 ГОСТ Р 51330.0, должны быть указаны в нормативно-технической документации на конкретное электрооборудование.
Примечание - Из-за трудности контроля критических путей утечки и электрических зазоров при использовании антиоксидантов следует обратить особое внимание на алюминиевый провод. Подсоединение алюминиевого провода к наружным выводам можно производить с помощью биметаллических муфтовых соединений, выполненных из меди.
4.2.2 Выводы должны быть подвергнуты испытаниям согласно 6.9.
4.2.3 Выводы должны:
а) быть прочно закреплены на основании таким образом, чтобы исключить возможность их самоослабления;
б) иметь конструкцию, исключающую самоотсоединение и самоослабление провода во время затяжки вывода;
в) обеспечивать хороший контакт без повреждения проводов и нарушения их функциональных характеристик даже в случае, если используются многожильные провода, непосредственно зажимаемые на выводах.
Примечание - Допускается подсоединение путем обжатия жил кабеля при условии соблюдения указанных требований.
4.2.4 Выводы не должны:
а) иметь острых краев, которые могли бы повредить провода;
б) поворачиваться, скручиваться или длительно деформироваться во время нормального затягивания с усилием, указанным изготовителем электрооборудования, которое не должно быть меньше приведенного в ГОСТ Р 50043.1;
в) быть выполнены из алюминия.
4.2.5 Выводы должны быть выполнены таким образом, чтобы контакт, который они обеспечивают, не нарушался температурными изменениями в нормальном режиме работы. Давление контакта не должно передаваться через изолирующий материал.
4.2.6 Выводы для зажима многожильных проводов должны иметь гибкий промежуточный элемент.
4.2.7 Выводы для подсоединения многожильных проводов с номинальным поперечным сечением не более 4 мм2 (12 AWG) должны быть пригодны и для надежного соединения проводов, сечение которых меньше не менее чем на два размера (см. приложение Ж).
Примечания
1 Могут потребоваться специальные меры против вибрации и механического удара.
2 Необходимо принимать меры, исключающие коррозию от электролита.
3 При использовании материалов, содержащих железо, необходимо применять меры против коррозии.















