123888 (598595), страница 4
Текст из файла (страница 4)
Тогда
…,
…,
.
Определим изменение углов поворота (
или
) при возвратно-качательном законе движения с постоянной угловой скоростью
:
,
Тогда
,
…,
…,
,
где G – максимальный угол размаха звена.
Определим изменение подъема входного звена при возвратно-поступательном законе движения с постоянной линейной скоростью v. Имеем:
,
.
Тогда
,
,
,
,
где S – максимальная высота подъема входного звена.
При вращательном и возвратно-качательном законах движения входного звена с меняющейся угловой скоростью
углы поворота (
или
) этого звена будут определяться следующим образом:
,
, …,
,
,
где
,
,
– функции изменения угла поворота входного звена с изменяющейся линейной скоростью v; изменение высоты подъема звена будет определяться следующим образом:
,
,
,
,
где
,
,
– функции изменения высоты подъема входного звена.
На основании вышесказанного произведем формирование массива матриц законов движения входных звеньев:
;
;
;
;
;
;
;
.
Обозначим массив всех полученных матриц:
При этом следует заметить, что законы движения выходных звеньев полученных матриц также могут представлять из себя сочетания по формулам ….
Пятый этап предусматривает проверку входимости матрицы скорости изменения текущих координат перемещения рабочего органа во множество массива матриц.
.
При реализации этого алгоритма возможно определение типов структурных схем исполнительных органов робототехнического средства текстильной машины. Осуществляться данный процесс может следующим образом.
На лист чертежа наносятся изображения исполнительных механизмов текстильной машины согласно их конструктивным размерам и взаимосвязей, а также положения рабочих тел, подлежащих транспортированию или какой-либо другой операции над ними, и крайние положения взаимодействующих исполнительных механизмов РС. Исходя из последовательности выполнения технологической операции по обслуживанию данной текстильной машины выявляются характерные точки. Далее выбирают базовую систему координат, относительно которой будут производиться расчеты, задаются траекторией транспортируемого тела и порядком ее прохождения. В данном случае выходное звено механизма сопла при своем движении должно пройти несколько характерных точек, а именно: исходную точку, находясь в которой, сопло имеет возможность передвижения вдоль фронта машины; точку входа сопла в зону обрезки и захвата нити; точку, определяющую продолжительность выстоя сопла в зоне обрезки и захвата нити; крайнюю верхнюю точку сопряжения поверхности сопла с поверхностью рычага захвата и смены патронов при совместном движении механизма сопла с механизмом захвата и смены патронов; точку прохождения соплом около поверхности патрона, установленного в рычаги бобинодержателя, опускающего патрон на мотальный вал; точку, находящуюся в зоне захвата нити между мотальным валом и установленным патроном; точку, совпадающую с исходной точкой.
Далее лист чертежа 1, с нанесенными на него узловыми точками 2, крепят на столе 3 координатной измерительной машины. В программно-управляющий пульт 4 машины вводят характеристики узловых точек траектории транспортируемого тела, последовательность их прохождения, временные характеристики узловых точек, а также предполагаемые конструктивные и технологические параметры устройства. Исходя из этого и ранее введенной программы сопряжения узловых точек программно-управляющий пульт 4 перемещает измерительную головку 5 со сменным наконечником 6 с установленным в нем самописцем 7 с требуемой скоростью от одной узловой точки к другой, вычерчивая при этом траекторию транспортируемого рабочего тела. При этом все промежуточные точки траектории вычисляются программно-управляющим пультом 4 и могут быть выведены на дисплей или принтер. Далее программно-управляющий пульт 4 выводит на дисплей или принтер законы движения входных звеньев и рекомендуемую структурную схему устройства их реализации.
Выявим универсальную структурную схему исполнительного механизма, которую можно применить для автоматизации практически любого технологического процесса текстильной машины, в связи с чем повышается степень унификации всего РС, а следовательно, повышается надежность его работы и снижается стоимость изготовления.
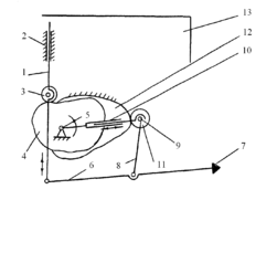
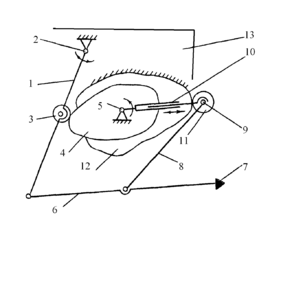
Данный механизм для воспроизведения траектории транспортируемых рабочих тел содержит входное звено 1, установленное на неподвижном звене 2. На звене 1 зафиксирован ролик 3, находящийся во фрикционном контакте с кулачком 4, имеющем возможность поворота вокруг кулачкового вала, установленного на неподвижном звене 5. На свободном конце звена 1 шарнирно закреплено выходное звено 6 с установленным на нем рабочим органом 7. Выходное звено 6 посредством шарнирно связанного с ним промежуточного звена 8 шарнирно соединено с осью 9, зафиксированной на втором входном звене – кривошипе 10, выполненном телескопическим и установленном на неподвижном звене 5. На оси 9 кривошипа 10 зафиксирован также ролик 11, находящийся во фрикционном контакте с кулачком 12, неподвижно установленным на раме 13 устройства. В другом варианте исполнения входное звено 1 установлено в неподвижных направляющих 2.
Рис. 7. Функциональная блок-схема алгоритма работы вычислительного устройства
Рис. 8. Механизм для воспроизведения траектории транспортируемых рабочих тел
Рис. 9. Вариант устройства по рис. 8
Работает устройство следующим образом. Посредством фрикционного контакта ролика 3 и кулачка 4 вращательное движение от последнего вокруг кулачкового вала, установленного на неподвижном звене 5, передается входному звену 1, которое при этом получает возвратно-качательный закон движения относительно неподвижного звена 2 и служит коромыслом. В результате этого выходному звену 6 с установленным на нем рабочим органом 7 также сообщается этот закон движения. В то же время выходное звено 6, а следовательно, и рабочий орган 7 получают еще два закона движения посредством шарнирно связанного с ним промежуточного звена 8, шарнирно соединенного с осью 9, зафиксированной на втором входном звене – кривошипе 10, которому сообщается вращательное движение относительно неподвижного звена 5. При этом ролик 11, установленный на оси 9, совершает возвратно-поступательное движение относительно звена 5 посредством фрикционного контакта с кулачком 12, неподвижно установленным на раме 13 устройства. В результате этого длина входного звена – кривошипа 10, выполненного телескопическим, изменяется. При суммировании всех законов движения рабочий орган 7 воспроизводит заданную траекторию, необходимую для выполнения требуемой технологической операции по обслуживанию текстильной машины.
Работа варианта исполнения данного устройства отличается от вышеприведенной тем, что входное звено 1 выполняет функцию толкателя, получая при этом возвратно-поступательное движение относительно неподвижных направляющих 2.
Сочетание различных законов движения входных звеньев данного устройства позволяет получить широкий спектр всевозможных траекторий выходного звена, на котором установлен рабочий орган РС.
1.4 Выбор критериев оптимизации при проектировании робототехнических средств
При проектировании робототехнических средств текстильных машин необходимо решить задачу многокритериальной оптимизации, определяемой наличием множества целевых функций, которые выявляются по следующим критериям:
-
определяется максимальное число исполнительных механизмов РС в соответствии с выполняемыми технологическими операциями по обслуживанию текстильной машины;
-
определяется минимальное число характерных точек траектории отдельного исполнительного механизма РС соответственно выполняемой им вспомогательной технологической текстильной операции;
-
выбирается последовательность обхода этих точек выходным звеном исполнительного механизма РС в соответствии с выполняемой технологической текстильной операцией;
-
выбирается тип траектории выходного звена исполнительного механизма РС в соответствии с числом характерных точек, последовательностью их обхода и выполняемой технологической текстильной операцией;
-
выбирается в соответствии с типом траектории необходимая структурная схема исполнительного механизма РС;
-
выявляются общие характерные точки траекторий выходных звеньев исполнительных механизмов РС в пространстве и во времени, т.е. производится синхронизация работы РС и обслуживаемой им текстильной машины;
-
определяются законы движения выходных звеньев исполнительных механизмов РС между характерными точками, которые соответствуют выполняемой технологической текстильной операции;
-
определяются максимальные конструктивные размеры исполнительных механизмов РС по выявленным законам движения;
-
определяются в соответствии с конструктивными размерами исполнительных механизмов РС кинематические и динамические параметры их выходных звеньев;
-
производится оценка допуска позиционирования, кинематических и динамических параметров выходных звеньев исполнительных механизмов РС в соответствии с обслуживаемой текстильной машиной;
-
производится оценка габаритных размеров РС по отношению к обслуживаемой им текстильной машине.
В данной многокритериальной задаче встречаются все четыре типа целевых критерия: больше или равно; меньше или равно; равенство и диапазон. В соответствии с вышеприведенными критериями запишем условия задачи:
Цель
;
Цель
;
Цель
;
Цель
;
Цель
;
Цель
;
Цель
;
Цель
;
Цель
;
Цель
;
Цель
;














