99975 (598093), страница 8
Текст из файла (страница 8)
Чистый денежный поток прогнозируют, оценив производственные показатели предприятия и некоторые факторы внешней среды, влияющие на объем продаж, ценовую политику и т. п.
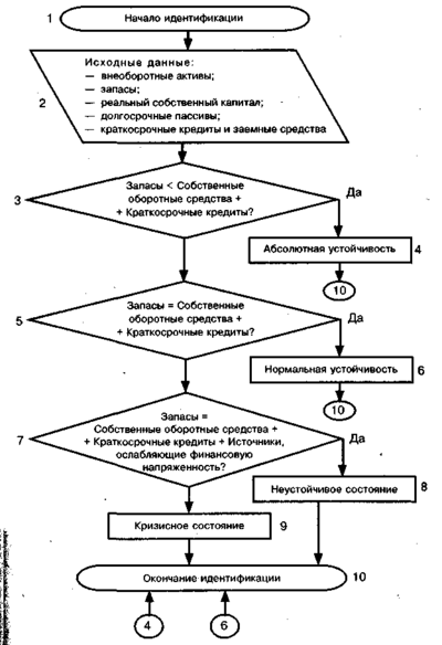
При оценке финансового состояния используют следующие принципиальные характеристики финансовой ситуации:
1. абсолютная устойчивость финансового состояния, встречающаяся редко, представляет собой крайний тип финансовой устойчивости;
2. нормальная устойчивость финансового состояния, гарантирующая платежеспособность предприятия;
3. неустойчивое финансовое состояние связано с нарушением платежеспособности, при котором сохраняется возможность восстановления равновесия за счет пополнения реального собственного капитала и увеличения собственных оборотных средств, а также за счет дополнительного привлечения долгосрочных кредитов и заемных средств;
4. кризисное финансовое состояние, при котором предприятие находится на грани банкротства.
Алгоритм идентификации типа финансовой устойчивости представлен на рис. 1.
В зависимости от масштабов кризисного состояния разрабатываются пути возможного выхода из него. При легком кризисе, как правило, проводят меры по нормализации текущей деятельности предприятия, при глубоком кризисе включают механизм полного использования внутренних резервов финансовой стабилизации, при катастрофическом положении прибегают к санации либо реорганизации или ликвидации предприятия.
Таким образом, основной целью политики антикризисного финансового управления является разработка и реализация мер, направленных на быстрое возобновление платежеспособности и восстановление достаточного уровня финансовой устойчивости предприятия, обеспечивающие его выход из кризисного финансового состояния.
Реализация политики антикризисного финансового управления предприятием при угрозе банкротства предусматривает:
1. Постоянный мониторинг финансового состояния предприятия с целью раннего обнаружения признаков его кризисного развития.
2. Определение масштабов кризисного состояния предприятия.
3. Исследование основных факторов, обусловливающих кризисное развитие предприятия.
4. Формирование системы целей выхода предприятия из кризисного состояния, адекватных его масштабам.
5. Выбор и использование действенных внутренних механизмов финансовой стабилизации предприятия, соответствующих масштабам его кризисного финансового состояния.
6. Выбор эффективных форм санации предприятия.
7. Контроль за проведением мероприятий по выводу предприятия из финансового кризиса.
В системе стабилизационных мер, направленных на вывод предприятия из кризисного финансового состояния, важная роль отводится его финансовому оздоровлению (санации). Наиболее широкий диапазон форм имеет досудебная санация, инициируемая самим предприятием.
Досудебная санация носит упреждающий характер, полностью согласуется с целями и интересами предприятия, подчинена задачам антикризисного управления и сочетается с осуществляемыми мерами внутренней финансовой стабилизации.
Опыт преодоления кризисных ситуаций многих предприятий как в индустриально развитых странах, так и в современной России позволяет выделить две наиболее распространенные тактики проведения санации предприятий:
1. Защитная (оборонительная) тактика направлена на сокращение объемов операционной и инвестиционной деятельности предприятия, привлечение внешней финансовой помощи для соответствующей реструктуризации предприятия с целью сокращения персонала, закрытия отдельных структурных подразделений, уменьшения объемов производства и т. п.
2. Наступательная тактика направлена на диверсификацию операционной и инвестиционной деятельности предприятия, привлечение внешней финансовой помощи для расширения ассортимента конкурентоспособной продукции, выхода на другие региональные рынки, быстрое завершение реальных инвестиционных проектов и т. п.
Помимо различий в тактике санации различают и сложившиеся на практике ее формы (рис. 2). Остановимся подробнее на формах санации, связанных с реорганизацией предприятия. Главная особенность реорганизационных процедур состоит в том, что они направлены на обеспечение нормального функционирования предприятия и восстановление его платежеспособности.
Слияние осуществляется путем объединения предприятия-должника с другим финансово устойчивым предприятием. В результате такого объединения предприятие-должник теряет свой самостоятельный юридический статус. Различают:
- горизонтальное слияние, при котором объединяются предприятия одной отрасли;
- вертикальное слияние, которое объединяет предприятия смежных отраслей (например, производителей и потребителей сырья);
- конгломератное слияние, в процессе которого объединяются предприятия, не связанные между собой ни отраслевыми, ни технологическими особенностями.
Поглощение происходит путем приобретения предприятия-должника предприятием-санатором, при этом санируемое предприятие может сохранить юридическое лицо в виде дочернего предприятия.
Рис. 2. Формы финансового оздоровления предприятия
Разделение может быть применено для предприятий, осуществляющих многоотраслевую хозяйственно-производственную деятельность. Предприятия, выделенные в процессе разделения, получают статус нового юридического лица, а имущественные права и обязанности переходят к каждому из них на основе разделительного баланса.
Преобразование в открытое акционерное общество осуществляется по инициативе группы учредителей и позволяет существенно расширить финансовые возможности предприятия, обеспечить пути его выхода из кризиса и дать новый импульс его экономическому развитию. Условием такой санации выступает необходимость обеспечения учредителями минимального размера уставного фонда, установленного законодательством.
Передача в аренду характерна в настоящее время для санирования государственных предприятий, при этом предприятие передается в аренду членам трудового коллектива. Условием осуществления такой формы санации является принятие на себя коллективом арендаторов долгов санируемого предприятия. Принципиально такая форма санации может быть использована и для предприятий негосударственных форм собственности.
В форме приватизации санируются государственные предприятия, условия и формы приватизации регулируются обширной системой законодательных актов.
При формах санации, направленных на реорганизацию предприятия, основными санаторами могут быть собственники предприятия, предприятия-кредиторы, сторонние хозяйствующие субъекты, трудовой коллектив санируемого предприятия.
Сравнение эффективности различных схем реорганизации предприятия на базе перечисленных нами форм санации позволяет определить целесообразность всего процесса санации, оценить различные альтернативные ее формы, выбрать наиболее оптимальный вариант ее осуществления. Цель санации считается, достигнутой, если удалось за счет внешней финансовой помощи или реорганизационных мероприятий нормализовать хозяйственную деятельность предприятия и избежать объявления предприятия-должника банкротом с последующей его ликвидацией.
В отличие от реорганизационных процедур применение ликвидационных процедур ведет к прекращению деятельности предприятия. Различают принудительную ликвидацию предприятия-должника по решению арбитражного суда и добровольную ликвидацию несостоятельного предприятия под контролем кредиторов. Цель ликвидационных процедур — удовлетворение обоснованных требований кредиторов к предприятию-должнику. Порядок проведения ликвидации (конкурсного производства) и очередность удовлетворения требований кредиторов определены в Федеральном законе «О несостоятельности (банкротстве)».
Алгоритм процедур банкротства
Федеральный закон «О несостоятельности (банкротстве)» №127-ФЗ устанавливает основания для признания должника банкротом или для объявления о своем банкротстве, регулирует порядок и условия мер по предупреждению и реализации процедур банкротства: наблюдение, финансовое оздоровление, внешнее управление, конкурсное производство, мировое соглашение. Алгоритм процедур банкротства в соответствии с Федеральным законом «О несостоятельности (банкротстве)» представлен на рис. 3.
Процедуры банкротства реализуются при неспособности должника удовлетворить в полном объеме требования кредиторов по денежным обязательствам и (или) исполнить обязательства по уплате обязательных платежей в бюджет и государственные внебюджетные фонды в течение 3 месяцев с момента наступления даты их исполнения.
Алгоритм процедур банкротства начинается с анализа финансового состояния предприятия, чтобы спрогнозировать вероятности банкротства (см. блок 1 рис. 3). В результате анализа выявляются формальные и неформальные признаки банкротства. Дело о банкротстве может быть возбуждено арбитражным судом при условии, что требования к должнику — юридическому лицу в совокупности составляют не менее 100 тыс. руб., к должнику-гражданину не менее 10 тыс. руб., а также наблюдается задержка исполнения денежных обязательств и уплаты обязательных платежей в течение 3 месяцев.
Правом на обращение в арбитражный суд с заявлением о признании должника банкротом обладают должник, конкурсный кредитор, уполномоченные органы.
Чтобы предупредить банкротство предприятия, учредители (участники) должника, собственник имущества должника — унитарного предприятия до момента подачи в арбитражный суд заявления о признании должника банкротом принимают меры по восстановлению платежеспособности предприятия, которые могут быть согласованы кредиторами или иными лицами с должником.
Рис. 3. Алгоритм реализации процедур банкротства (начало)
Как мера по предупреждению банкротства должнику может быть оказана финансовая помощь в размере, достаточном для погашения денежных обязательств и обязательных платежей и восстановления платежеспособности должника, т. е. проведена досудебная санация предприятия (см, блок 3 рис. 3). Предоставление финансовой помощи может сопровождаться принятием на себя должником или иными лицами обязательств в пользу лиц, предоставивших финансовую помощь.
Должник вправе подать в арбитражный суд заявление должника в случае предвидения банкротства при обстоятельствах, очевидно свидетельствующих о том, что он не в состоянии будет исполнить денежные обязательства и (или) уплату обязательных платежей в установленный срок (см. блок 5 рис. 3).
В заявлении должника должны быть указаны:
-
наименование арбитражного суда, в который подается указанное заявление;
-
сумма требований кредиторов по денежным обязательствам в размере, который не оспаривается должником;
-
сумма задолженности по возмещению вреда, причиненного жизни и здоровью граждан, оплате труда работников должника и выплате им выходных пособий, сумма вознаграждения, причитающегося для выплаты вознаграждений по авторским договорам;
-
размер задолженности по обязательным платежам;
-
обоснование невозможности удовлетворить требования кредиторов в полном объеме или существенного осложнения хозяйственной деятельности при обращении взыскания на имущество должника;
-
сведения о принятых к производству судами общей юрисдикции, арбитражными судами, третейскими судами исковых заявлениях к должнику, исполнительных документах, а также об иных документах, предъявленных для списания денежных средств со счетов должника в безакцептном порядке;
-
сведения об имеющемся у должника имуществе, в том числе о денежных средствах, и о дебиторской задолженности;
-
номера счетов должника в банках и иных кредитных организациях, адреса банков и иных кредитных организаций;
-
наименование и адрес саморегулируемой организации, из числа членов которой арбитражный суд утверждает временного управляющего;
-
размер вознаграждения арбитражного управляющего.
Конкурсные кредиторы вправе объединить свои требования к должнику и обратиться в суд с одним заявлением кредитора. Такое заявление подписывается конкурсными кредиторами, объединившими свои требования.
К заявлению уполномоченного органа по обязательным платежам должно быть приложено решение налогового органа или таможенного органа о взыскании задолженности за счет имущества должника, а также сведения о размере задолженности по обязательным платежам.
При возбуждении дела о банкротстве на основании заявления должника арбитражный суд вводит процедуру наблюдения и утверждает временного управляющего (см. блок 6 рис. 3). Решение о наблюдении выносится судьей арбитражного суда единолично. В случае если невозможно сразу назначить временного управляющего, вопрос о его утверждении может быть рассмотрен в течение 15 дней с момента вынесения определения о введении процедуры наблюдения.
При подготовке дела к судебному разбирательству арбитражный суд рассматривает заявление, жалобы и ходатайства лиц, участвующих в деле о банкротстве, устанавливает обоснованность требований кредиторов. Арбитражный суд может назначить экспертизу для выявления признаков фиктивного или преднамеренного банкротства (см. блок 7 рис. 3). В случае если выявлено отсутствие признаков банкротства или в ходе экспертизы установлено фиктивное банкротство, арбитражный суд выносит решение об отказе в признании должника банкротом (см. блок 9 рис. 3).
Временный управляющий анализирует финансовое состояние должника, проводит инвентаризацию его имущества, составляет реестр требований кредиторов, готовит предложения о возможности или невозможности восстановления платежеспособности должника (см. блок 10 рис. 3). Временный управляющий назначает дату первого собрания кредиторов, которое должно состояться не позднее чем за 10 дней до окончания процедуры наблюдения, и проводит его (см. блок 11 рис. 3). К компетенции первого собрания кредиторов относится:
-
принятие решения о процедуре финансового оздоровления или внешнего управления и об обращении в арбитражный суд с соответствующим ходатайством;
-
принятие решения об обращении в арбитражный суд с ходатайством о признании должника банкротом и об открытии конкурсного производства;
-
образование комитета кредиторов;
-
список требований к кандидатуре административного управляющего, внешнего управляющего, конкурсного управляющего;
-
назначение саморегулируемой организации, которая должна представить в арбитражный суд кандидатуру арбитражного управляющего;
-
выбор реестродержателя.
Арбитражный суд на основании решения первого собрания кредиторов выносит определение либо о введении финансового оздоровления (см. блок 18 рис. 3) или внешнего управления (см. блок 20 рис. 3), либо принимает решение о признании должника банкротом и об открытии конкурсного производства (см. блоки 15,16 рис. 3), либо утверждает мировое соглашение и прекращает производство по делу о банкротстве (см. блок 14 рис. 3).
Финансовое оздоровление и внешнее управление как комплекс мероприятий по восстановлению платежеспособности и поддержке эффективной хозяйственной деятельности
Арбитражный суд может вынести определение о введении финансового оздоровления, даже если первое собрание кредиторов приняло другое решение, при условии предоставления ходатайства учредителей (участников) должника, собственника имущества должника — унитарного предприятия, уполномоченного государственного органа, а также третьих лиц и предоставления банковской гарантии в качестве обеспечения исполнения обязательств должника в соответствии с графиком погашения задолженности. Сумма, на которую выдана банковская гарантия, должна превышать размер обязательств должника, включенных в реестр требований кредиторов, не менее чем на 20 процентов. График погашения задолженности должен предусматривать начало погашения задолженности не позднее чем через месяц после вынесения арбитражным судом определения о введении финансового оздоровления и погашение требований кредиторов пропорционально равными долями в течение одного года с даты начала удовлетворения требований кредиторов.
















