62681 (597568)
Текст из файла
Передающая система РЛС. Канал обзора (передатчик обзора)
НАЗНАЧЕНИЕ.
Система передающая предназначена для формирования и генерирования мощных СВЧ сигналов в импульсном режиме с линейно частотной модуляцией и в режиме квазинеприрывного излучения, гетеродинирующего сигнала для приемной системы, а также генерирования сигнала подсвета цели в режиме ЛРК, КНИ-К и непрерывном ре жиме.
Передающее устройство служит для формирования радиочастотного зондирующего импульса с заданными характеристиками. Применяются два типа построения передающих устройств: с использованием мощного автогенератора СВЧ колебаний (однокаскадная схема) и с использованием усилителей мощности СВЧ колебаний (многокаскадная схема).
Передающее устройство первого типа представляет собой автогенератор СВЧ, который преобразовывает энергию источника питания в энергию электромагнитных СВЧ колебаний заданной мощности и частоты.
Рабочая частота такого передатчика изменяется с помощью устройства управления частоты, осуществляющего перестройку автогенератора.
ДОСТОИНСТВА:
простота
компактность
экономичность (дешевизна)
НЕДОСТАТКИ:
трудно обеспечить необходимую стабильность частоты
трудно обеспечить быструю перестройку частоты.
В передающем устройстве второго типа формирование зондирующих сигналов осуществляется путем усиления колебаний малой мощности поступающие от задающего устройства.
Для обеспечения необходимого усиления используется несколько усилителей соединенных последовательно или параллельно и образующих усилительную цепочку.
ДОСТОИНСТВА:
легко обеспечить стабильность частоты
быстро осуществляется перестройка частоты
можно формировать сложные сигналы.
НЕДОСТАТКИ:
большой вес, значительные габариты
сложность устройства, высокая стоимость.
Передающая система состоит из:
передатчика ОБЗОРА-О;
передатчика ПОДСВЕТА-П.
КАНАЛ ОБЗОРА. СОСТАВ.
ШКАФ Р-2К.
Р-2КИ - оконечный усилитель мощности.
Р-2КМ - модулятор.
Р-20К-1,Р-20К-111 - блоки питания.
ШКАФ Р-2Г.
Устройство ВЧ.
Р-18ГМ - блок питания
Фильтр.
ОСНОВНЫЕ ТЕХНИЧЕСКИЕ ДАННЫЕ.
Диапазон рабочих частот определяет диапазон рабочих частот РЛС и характеризуется:
количеством частот и их разносом
скоростью и программой перестройки
точностью установки и стабильностью
Высокая точность установки fраб позволяет уменьшить полосу пропускания приемника и тем самым повысить его чувствительность, что ведет к увеличению дальности обнаружения и повышению помехозащищенности. Стабильность fраб влияет на качество работы СДЦ.
Зондирующие сигналы различаются:
по типу:
простые не модулированные узкополосные
сложные с внутриимпульсной модуляцией (ЛЧМ)
когерентные, у которых фаза меняется по известному закону или не меняется
не когерентные, фаза у которых меняется случайным образом от импульса к импульсу
с постоянной частотой следования
с переменным периодом (частотой) следования.
по структуре:
форма и длительность огибающей
вид внутри импульсной модуляции
частотный спектр.
Средняя выходная мощность передатчика "Обзора:
в режиме ИМП - не менее 1,0КВт;
в режиме КНИ - не менее 1,0КВт.
Увеличение энергии зондирующего сигнала может осуществляться либо увеличением мощности в импульсе, либо увеличение длительности импульса. В первом случае возникает опасность появления электрических пробоев в волноводном тракте из-за высокой пиковой мощности.
Использование сложных сигналов большой длительности позволяет получить необходимую энергию зондирования, при относительно малой импульсной (пиковой) мощности.
Время готовности к работе - не более 3 мин.
Время непрерывной работы передатчика
"Обзора" - 24 часа.
Количество частот передатчика "Обзора" - 4.
Количество программ - 6.
ОРГАНЫ УПРАВЛЕНИЯ.
Блок Р-19М1:
1. Тумблер "Изл. О" - включение передатчика "О".
2. Переключатель "Литер О" - выбор частоты передатчика "О".
3. Тумблер "КНИ-ИМП-СДЦ" - включение режима работы передатчика "О".
4. Табло "ГОТ-О" - готовность к работе передатчика "О" на излучение.
5. Тумблер "ИЗЛ-О" - работа передатчика "О" на излучение.
6. Переключатель "Частоты 1,2,3" - смена частоты повторения в режиме КНИ.
7. Тумблер "ИЗЛ-П" - включение передатчика "П".
8. Табло "ГОТ-П" - готовность к работе передатчика "П".
9. Табло "ИЗЛ-П" - работа передатчика "П" на излучение.
Блок Р-19КМ:
1. Тумблер "ИЗЛ-УПР с КП-ВЫКЛ" - выбор режима работы включением передатчика "О".
2. Табло "УПР ИЗП с КП" - управление излучением производится с КП.
3. Табло "ВЫКЛ. ИЗЛ" - излучение выключено.
4. Переключатель "Барабан 1-4" - выбор узла задающих генераторов
передатчика "П".
5. Переключатель "Литер 1-; " - выбор частоты "П" в одном из барабанов.
6. Табло "Бар КП","Литер КП" - рекомендуемая частота "П".
Блок Р-36:
1. Тумблер "Оптимизатор "О" ("П") - автоматический вывод на режим передатчиков "О" и"П".
2. Потенциометр "Рег. мощн. fо (fп) - ручной вывод на режим передатчиков "О" и "П".
3. Переключатель "Т. К.28-Р-2Г-мощн"П" - для проверки режимов работы передатчиков.
УСТРОЙСТВО КАНАЛА "ОБЗОР".
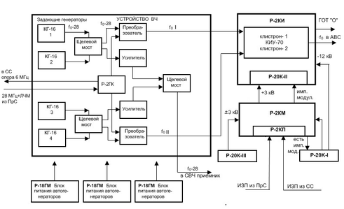
Передатчик "О" работает на любом одном из 4 литеров. Он имеет два идентичных канала, каждый из которых обеспечивает работу на двух литерах (Рис.1). Первый канал работает на литерах 1,2 - второй на литерах 3,4. Для перекрытия всего диапазона (24 литерных точки) используется 6 программных (сменных) шкафов Р-2Г и 6 программных (сменных) блоков Р-2КИ. Установленная программа контролируется на табло бл. Р-19М1. Переключение литеров внутри программы дистанционное и осуществляется с бл. Р-19М1. Переход с канала на канал осуществляется в ручную в приборе Р-20К-II бл. Р-2КИ переключением питания выходного усилителя мощности.
Передатчик "О" работает в двух режимах:
в ИР с ЛЧМ
в режиме КНИ.
Рис.1. Структурно-функциональная схема передатчика ОБЗОРА
РАБОТА КАНАЛА "ОБЗОРА" В ИР с ЛЧМ.
Сигнал с задающего генератора 1 (2,3,4) на частоте f (o) - 28 МГц в зависимости от выбранного литера через щелевой мост 1 (2) подается на:
усилитель 1 (2) с выхода которого усиленный сигнал в качестве сигнала 1-го гетеродина через щелевой мост 3 поступает на ВЧ блоки Р-7М1;
преобразователь частоты 1 (2), куда одновременно поступает 28-МГц с ЛЧМ с бл. Р-3 - IM1, прошедший усилители бл. Р-2ГК.
С выхода преобразователя сигнал на частоте f (o) с ЛЧМ поступает на ВХОД 1 (2) бл. Р-2КИ.
С выхода бл. Р-2КИ мощный импульсный сигнал СВЧ (ВЫХОД "О") подается в бл. Р-1А.
Импульсная модуляция сигнала в бл. Р-2КИ осуществляется модулирующими импульсами (ИМП. МОД), поступающими с бл. Р-2КМ. Временная расстановка модулирующих импульсов определяется импульсами запуска передатчика, поступающими на прибор Р-2КП с бл. Р-3-1М1.
РАБОТА КАНАЛА "ОБЗОРА" В РЕЖИМЕ КНИ.
Работа передатчика "О" в реж. КНИ отличается от работы в ИР с ЛЧМ тем, что на преобразователи 1 (2) поступает сигнал 28МГц с автогенератора бл. Р-2ГК, а временная расстановка модулирующих импульсов определяется импульсом запуска передатчика поступающими на прибор Р-2КП с бл. Р-8-1.
Для формирования ИЗП в реж. КНИ с устройства ВЧ (в бл. Р-2ГК) поступает сигнал 6 МГц (меандр.) в бл. Р-8-1. Режим излучения (ИР с ЛЧМ или КНИ) устанавливается с бл. Р-19М1.
Включение канала производится по командам с устройства временных задержек Р-2РЩП и командам с бл. Р-19М1.
По команде 27В 2ПРЕДВА. ВКЛ 0с бл. Р-19М1 включается бл. Р-2ГК, по команде +27В 2ЗАД.3 МИН 0с Р-2РЩП, прошедшей блокировки устройства охлаждения Р-2УО и бл. Р-1А, напряжения питания подаются на задающий генератор 1 (2,3,4), усилитель 1 (2) и преобразователь 1 (2), включается блок Р-20К-III и подается напряжение питания 3 КВ на бл. Р-2КМ и Р-2КИ.
При наличии напряжения с бл. Р-20К-III и исправности коммутатора АНТ-ЭКВ блока Р-1А, блок Р-2КИ выдает на бл. Р-19М1 сигнал готовности +27В ГОТ К ИЗЛ О, разрешающий включение высокого напряжения.
По команде +27В ВКЛ ИЗЛ О приходящей с бл. Р-19М1 на бл. Р-20К-I, последний выдает команду 27В ВКЛ КАН О на включение импульсных цепей блока Р-2КМ.
При включении бл. Р-2КМ выдает сигнал 27В ЕСТЬ ИМП МОД в бл. Р-20К-I, разрешающий включение высокого напряжения.
Блок Р-20К-I выдает высокое напряжение в бл. Р-2КИ.
ОСОБЕННОСТИ ПОСТРОЕНИЯ УСТРОЙСТВА ВЧ.
Устройство ВЧ является задающим генератором передатчика обзора и первым гетеродином приемного канала, может работать на одном любом из четырех литеров и состоит из следующих элементов:
Задающий генератор 1 (2,3,4) выполнен на приборе КГ-16 (отражательный клистрон).
Задающие генераторы настроены на частоту fo-28 и поочередно подключаются к смесителю (преобразователю) с помощью схемы переключения.
К задающему устройству предъявляются следующие требования:
высокая стабильность частоты
когерентность формируемой последовательности импульсов
возможность формирования простых и сложных зондирующих сигналов (ЛЧМ).
Отражательный клистрон (Ри.2) - маломощный генератор СВЧ колебаний. Принцип его работы основан на преобразовании энергии постоянного электронного потока в энергию СВЧ - колебаний при кратковременном взаимодействии потока с СВЧ - полем.
В отличии от пролетного клистрона, в отражательном клистроне имеется только один резонатор, который должен выполнять две функции:
модулировать скорость электронного потока
отбирать СВЧ - энергию от модулированного по плотности электронного потока.
Чтобы обеспечить выполнение обеих функций, необходимо вернуть в резонатор электронный поток, прошедший через сетки резонатора при движении от катода. Поток поворачивают с помощью отражателя, имеющего отрицательный потенциал Uотр по отношению к катоду.
В пространстве между резонатором и катодом электроны тормозятся до нулевой скорости и начинают обратное движение к резонатору под действием того же электрического поля, которое для них теперь является ускоряющим.
Так как поле резонатора в определенные моменты времени является ускоряющим, для пролетающих через него электронов, а для других тормозящим, то произойдет формирование сгустков электронного потока.
Рис. 2 Отражательный клистрон.
Сгруппированный электронный поток (Рис.3) возвращаясь в резонатор в момент тормозящего полупериода часть своей энергии отдаст полю резонатора, тем самым поддержит колебания в резонаторе. При этом следует помнить, что полупериод поля ускоряющий для электронов идущих от катода, одновременно будет тормозящим для электронов идущих от отражателя.
Рис.3
Усилитель 1 (2) выполнен на приборе КУ-143-1 (АБ, ВГ, ДЕ) (клистронный усилитель).
Клистронный усилитель (пролетный клистрон) (Рис.4) используется для генерирования и умножения частоты в диапазоне сантиметровых и дециметровых волн.
Действия их основаны на управлении электронными пучками по скорости.
Электроны двигающиеся от катода к коллектору на первоначальном этапе обладают одинаковой скоростью. Если на вход усилителя подан ВЧ сигнал, то электроны пролетая сетки входного резонатора, взаимодействуют с переменных полем, которое обеспечивает, в один момент времени увеличение скорости пролетающих электронов, в другой момент - уменьшение скорости.
Рис. 4 Пролетный клистрон.
Таким образом под воздействием входного сигнала происходит модуляция скоростей в электронном луче. В положительный полу-период, когда ВЧ потенциал сетки входного резонатора положительный, электроны ускоряются, в отрицательный - замедляются. Следовательно, источник входного сигнала не расходует мощность на модуляцию скорости электронов.
Характеристики
Тип файла документ
Документы такого типа открываются такими программами, как Microsoft Office Word на компьютерах Windows, Apple Pages на компьютерах Mac, Open Office - бесплатная альтернатива на различных платформах, в том числе Linux. Наиболее простым и современным решением будут Google документы, так как открываются онлайн без скачивания прямо в браузере на любой платформе. Существуют российские качественные аналоги, например от Яндекса.
Будьте внимательны на мобильных устройствах, так как там используются упрощённый функционал даже в официальном приложении от Microsoft, поэтому для просмотра скачивайте PDF-версию. А если нужно редактировать файл, то используйте оригинальный файл.
Файлы такого типа обычно разбиты на страницы, а текст может быть форматированным (жирный, курсив, выбор шрифта, таблицы и т.п.), а также в него можно добавлять изображения. Формат идеально подходит для рефератов, докладов и РПЗ курсовых проектов, которые необходимо распечатать. Кстати перед печатью также сохраняйте файл в PDF, так как принтер может начудить со шрифтами.















