46642 (597295), страница 6
Текст из файла (страница 6)
Таким образом, выбор простой и стабильной по принципу действия схемы является одной из главных мер обеспечения высокой безотказности системы как при внезапных, так и при постепенных отказах.
Иногда выбор простой по количеству элементов и в то же время стабильной схемы связан с преодолением определенных противоречий. В качестве примера можно привести задачу проектирования усилительного устройства системы. Известно, что для обеспечения стабильности коэффициента усиления в автоматических системах применяются отрицательные обратные связи.
Применение отрицательной обратной связи для получения требуемого общего заданного коэффициента усиления связано с увеличением числа каскадов в разомкнутой цепи усиления, т. е. с увеличением общего количества элементов системы. Таким образом, повышение стабильности коэффициента усиления приводит к увеличению потенциальной возможности внезапного отказа в схеме.
Вероятность отказа нерезервированной системы в первом приближении равна сумме вероятностей отказов элементов. Следовательно, безотказность нерезервированных систем зависит не только от количества элементов, но и от качества элементов. Для обеспечения высокой безотказности при проектировании системы надо выбирать наиболее качественные и перспективные элементы.
В свою очередь показатели безотказности элементов зависят в сильной степени от режимов работы элементов. Поэтому при проектировании для повышения безотказности системы режимы работы элементов можно выбирать значительно меньшими, чем номинальные, при этом степень уменьшения нагрузок зависит от конкретных задач.
Большое влияние на безотказность системы оказывают условия ее работы, а именно: воздействующие на систему и элементы механические, климатические нагрузки и т. д. При проектировании системы необходимо максимально уменьшить влияние внешних и внутренних нагрузок на систему и ее элементы. Эта задача в основном решается правильным выбором конструкции узлов, приборов и системы в целом.
В качестве дополнительных конструктивных мер, обеспечивающих повышение безотказности, можно указать на методы снижения влияния механических нагрузок путем применения специальных конструктивных форм устройств, амортизаторов и т. д. Влияние климатических “нагрузок” может быть в значительной степени ослаблено при правильном конструктивном оформлении узлов и блоков, например, с таким расчетом, чтобы обеспечить повышенную теплоотдачу (искусственное охлаждение), защиту от влаги (герметизация).
При разработке схемы и конструкции должны также быть предусмотрены меры, позволяющие повысить надежность системы при эксплуатации, а именно: блочная конструкция системы, применение стандартных и унифицированных узлов и блоков, удобство проверок и обслуживания и др.
Таким образом, на стадии проектирования надежность нерезервированной системы обеспечивается следующими основными методами:
1) выбором простых и стабильных схем, учитывающих также возможности повышения надежности системы при эксплуатации;
2) применением качественных и перспективных элементов и выбором режимов работы элементов, соответствующих пониженным электрическим нагрузкам;
3) разработкой конструкции системы и приборов, обеспечивающей минимальные нагрузки на систему и элементы, а также удобство обслуживания системы.
Рекомендуемая литература для дополнительного чтения:
1. Надежность АСУ. Учеб. пособие для ВУЗов. / под ред. Я.А. Хетагурова. – М.: Высшая школа, 1979. – 287 с.
2. Курочкин Ю.А. Надежность и диагностирование цифровых устройств и систем. – М.: Энергоатомиздат, 1993. – 240 с.
3. Северцев Н.А. Надежность систем в эксплуатации и отработке. Учебник для ВУЗов. – М.: Энергоатомиздат, 1989. – 140 с.
Лекция 8
ПОВЫШЕНИЕ НАДЕЖНОСТИ СИСТЕМ ПРИ ЭКСПЛУАТАЦИИ.
Если в результате проектирования нерезервированной системы не удается обеспечить требуемую безотказность, можно применять следующие методы повышения надежности системы при эксплуатации:
1) обратные связи;
2) резервирование.
Применение отрицательных обратных связей позволяет стабилизировать параметры отдельных узлов, блоков и приборов системы, т. е. уменьшать вероятность отказа системы вследствие постепенных отказов. В ряде случаев полезно применять положительные обратные связи.
Повышение надежности изделий и систем может быть достигнуто с помощью резервирования.
Резервирование бывает информационное, временное, функциональное, аппаратурное и структурное. Рассмотрим два последних вида резервирования. Аппаратурное резервирование обеспечивается применением нескольких одинаковых устройств для достижения заданной цели, например, прием и запись уникальной информации одновременно на 2—3 устройства. Структурное (схемное) резервирование состоит в применении специальных схем соединений основного и резервного элементов.
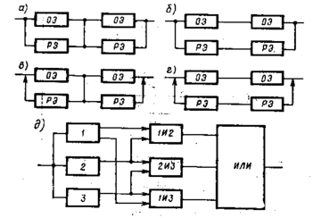
Используют поэлементное резервирование и резервирование всей цепи основных элементов (нагруженный резерв) (рис. 8.1 а, б). В полностью резервированной системе отказ одного или нескольких элементов не приводит к отказу всей системы. При постоянном резервировании, которое иногда называют пассивным, резервные устройства постоянно включены в схему, при этом до момента ремонта включенными в схему остаются и отказавшие устройства. Постоянное резервирование отличается простотой схем, возможностью применения к различным конструкциям (системам, приборам, узлам, элементам) и даже к внутриэлементным связям. Наиболее эффективно постоянное резервирование для элементов и внутриэлементных связей.
Существенным недостатком постоянного резервирования является изменение параметров схемы и режимов работы при отказах резервных устройств, что в некоторых случаях недопустимо. Определенные технические трудности встречаются также при резервировании устройств, характеризующихся двумя типами отказов (обрыв и короткое замыкание). Кроме того, для ряда устройств автоматических систем постоянное резервирование технически трудно осуществить, а в некоторых случаях даже невозможно.
Как и всякому способу повышения безотказности, связанному с применением большего количества элементов, чем это требуется функциональной схемой, постоянному резервированию присущи также недостатки, связанные с увеличением веса, объема, стоимости аппаратуры и усложнением эксплуатации. Вес системы с постоянным резервированием может быть значительно уменьшен благодаря применению микроминиатюрных и молекулярных элементов.
Рис. 8.1 Схемы резервирования:
а — поэлементного; б — общего; в — поэлементного замещением; г -т
общего замещением; д — мажоритарного; ОЭ — основной элемент;
РЭ — резервный элемент
Резервирование с поэлементным замещением (ненагруженный резерв). Достоинство — в сохранении ресурса резервных элементов. Недостаток — в дополнительной возможности отказа переключающего элемента (рис. 8.1 в).
Резервирование с общим замещением (ненагруженный резерв (рис. 8.1 г)). Общее правило, которое можно применять в схемном резервировании, гласит: чем мельче масштаб резервирования, тем больше надежность.
Широко используется схема мажоритарного резервирования, которая носит также название «схема голосования из трех по два». Неисправный канал автоматически исключается из линии передачи информации (рис. 8.1 д).
Резервирование осуществляют также с применением логических схем. Такое резервирование называют активным. Применение логических схем обеспечивает неизменность параметров схемы при отказах элементов, повышает безотказность системы при их использовании для устройств, характеризующихся отказами двух типов, позволяет сохранять ресурс резервных устройств, находящихся в режиме ожидания в ненагруженном состоянии. Резервирование с логическими схемами неизбежно связано с применением дополнительных устройств в виде индикаторов отказа, переключателей и т. д.
Надежность автоматической системы может в значительной степени снизиться также под воздействием внешних помех, перемежающихся или самовосстанавливающихся отказов и др., приводящих к искажению передаваемой информации. В этих случаях эффективным средством повышения надежности систем является применение, особенно в дискретных информационных системах, самокорректирующих кодов и избыточности передаваемой информации. Применение того или иного метода резервирования зависит от конкретных условий, от назначения и особенностей работы системы.
В общем случае невозможно применением только одного метода резервирования добиться высокой надежности автоматической системы. Высокая надежность системы может быть обеспечена только в результате комбинированного применения методов резервирования. Одним из направлений создания высоконадежных автоматических систем на основе комбинированных методов резервирования является применение самонастраивающихся и самоорганизующихся систем. При помощи постоянного резервирования можно обеспечить функционирование системы с вероятностью, весьма близкой к единице. Однако при отказах резервных элементов в значительной степени могут измениться выходные параметры, при этом отклонения параметров могут быть такими, что, несмотря на отсутствие отказа системы, она не удовлетворяет предъявляемым требованиям. Комбинированное применение постоянного резервирования и метода самонастройки параметров при отказе резервных элементов позволяет избежать недостатков, присущих только постоянному резервированию. Еще большие возможности повышения надежности могут представиться в результате применения самоорганизующихся систем, в которых при отказах отдельных элементов или изменении внешних условий изменяется структура системы, перераспределяются функции между ее отдельными элементами.
Одним из наиболее важных средств обеспечения высокой безотказности системы на стадии эксплуатации является строгое соблюдение условий технологических процессов. Соблюдение установленных технологических процессов должно начинаться с входного контроля материалов и изделий, применяемых в системе, обеспечении при необходимости качественной замены материалов. В ряде случаев причиной низкой безотказности выпускаемых систем может быть загрязненное содержание оборудования и рабочих мест. Важным методом повышения безотказности систем является правильная организация производственного контроля и уровень культуры производства.
Особый вред качеству системы наносится скрытыми производственными дефектами в результате нарушения технологического процесса. Обычно скрытые дефекты представляют наибольшие технические трудности при производственном контроле.
Наряду с производственным контролем безотказность сложных систем может быть существенно повышена, особенно для начального периода эксплуатации, проведением тренировочных испытаний системы (приработки) в производственных условиях. Это позволяет устранить большинство производственных и скрытых отказов, если приработка системы проходит при больших, по сравнению с номинальными, нагрузками.
Правильная организация эксплуатации системы является одним из решающих факторов обеспечения высокой надежности. Большое значение имеет и своевременное проведение профилактических мероприятий, позволяющих предупредить появление отказов системы в рабочий период времени. Одним из современных методов профилактики является прогнозирование отказов, позволяющее своевременно заменить так называемые критические элементы и тем самым исключить их отказы. Естественно, что полностью исключить отказы в рабочий период не удается, поэтому необходимо проектировать систему и правила ее эксплуатации таким образом, чтобы обеспечить минимальное время восстановления отказавшей системы. В этой связи большое значение имеет разработка схем автоматической проверки и обнаружения отказов (системы диагностирования), а также, если это возможно, и схем самовосстановления отказов.
Из эксплуатационных факторов важная роль в поддержании высокой надежности автоматических систем принадлежит обслуживающему персоналу, его технической подготовке, опыту и другим качествам.
Большое значение для повышения надежности системы имеет организация эксплуатации, в частности снабжение систем запасными элементами и материалами, техническими описаниями и инструкциями по эксплуатации, организация ремонтных органов и др.
Таким образом, высокая надежность автоматических систем может быть обеспечена только комплексом методов, применяемых на всех фазах создания и эксплуатации системы.
Рекомендуемая литература для дополнительного чтения:
1. Надежность АСУ. Учеб. пособие для ВУЗов. / под ред. Я.А. Хетагурова. – М.: Высшая школа, 1979. – 287 с.
2. Курочкин Ю.А. Надежность и диагностирование цифровых устройств и систем. – М.: Энергоатомиздат, 1993. – 240 с.
3. Северцев Н.А. Надежность систем в эксплуатации и отработке. Учебник для ВУЗов. – М.: Энергоатомиздат, 1989. – 140 с.
















