36696 (597257), страница 10
Текст из файла (страница 10)
Протокол TCP разбивает поток байт на пакеты; он не сохраняет границ между записями. Например, если один прикладной процесс делает 5 записей в TCP-порт, то прикладной процесс на другом конце виртуального канала может выполнить 10 чтений для того, чтобы получить все данные. Но этот же процесс может получить все данные сразу, сделав только одну операцию чтения. Не существует зависимости между числом и размером записываемых сообщений с одной стороны и числом и размером считываемых сообщений с другой стороны.
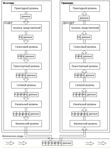
Рис. 6. Семиуровневая реализация протокола открытых систем
Таким образом, можно заключить, что обработка информации в компьютерной системе есть циклический процесс хранения и передачи данных во времени и пространстве, что накладывает особенные требования к физической целостности данных. Что касается защиты от несанкционированного получения конфиденциальной информации при ее автоматизированной обработке, то считалось, что автономность работы ЭВМ первых поколений, индивидуальность алгоритмической реализации процедур обработки информации, представление информации в запоминающих устройствах ЭВМ и на машинных носителях в закодированном виде и относительная простота организационного контроля всего процесса обработки обеспечивают надежную защиту информации от несанкционированного доступа к ней.
Однако, по мере развития электронной вычислительной техники, форм, способов и масштабов ее использования использовавшиеся защитные механизмы стали терять свою эффективность, повысилась уязвимость информации. Это подтверждается конкретными фактами несанкционированного получения информации в злоумышленных целях.
2.4 Подсистема обеспечения информационной безопасности
Составляющая по обеспечению информационной безопасности (ИБ) должна быть реализована в виде комплексной системы информационной безопасности технических систем обработки информации (ТСОИ), обеспечивающей современные методы и средства защиты информации в процессах ее электронной обработки, передачи и хранения, защиту информационных и сервисных ресурсов системы.
Вышеперечисленные особенности информационных технологий по мере своего проявления обусловливают уязвимость информации, в том числе:
- подверженность физическому или логическому искажению или уничтожению;
- возможность несанкционированной (случайной или злоумышленной) модификации;
- опасность несанкционированного (случайного и преднамеренного) получения информации лицами, для которых она не предназначалась.
Кроме этого, информационным технологиям присуща подверженность различным видам воздействий, снижающих информационную безопасность (см. рис.7). Эти воздействия принято называть угрозами безопасности информации и информационной безопасности. Вполне очевидно, что понятия таких угроз формируются с учетом соответствующих понятий безопасности. Наиболее общие понятия безопасности и угроз сформулированы в Законе Российской Федерации «О безопасности».
| УГРОЗЫ БЕЗОПАСНОСТИ | |||||
| По природе возникновения | По ориентации на ресурсы | ||||
| Стихийные бедствия природного, техногенного и социального характера | Угрозы персоналу | ||||
| Несчастные случаи | Угрозы материальным ресурсам | ||||
| Ошибки обслуживающего персонала, пользователей | Угрозы финансовым ресурсам | ||||
| Злоупотребления персонала, пользователей | Угрозы информации | ||||
| Противоправные действия со стороны злоумышленников | Угрозы информационным ресурсам | ||||
| Сбои и отказы в программном обеспечении и оборудовании | Угрозы информационным системам | ||||
| Другие | Другие | ||||
Рис. 7. Виды угроз безопасности
Безопасность – состояние защищенности жизненно важных интересов личности, общества, государства от внешних и внутренних угроз.
Угроза безопасности – совокупность условий, факторов, создающих опасность жизненно важным интересам личности, общества и государства.
Таким образом, независимо от вида объекта безопасности, угроза безопасности представляет совокупность факторов, явлений, условий и действий, создающих опасность для нормального функционирования объектов, реализующих определенные цели и задачи. С учетом этих понятий, для ТСОИ можно представить следующее определение угрозы.
Угроза информационной безопасности – реальные или потенциально возможные действия или условия, приводящие к овладению, хищению, искажению, изменению, уничтожению информации, обрабатываемой в ТСОИ, и сведений о самой системе, а также к прямым материальным убыткам.
Подсистемы защиты информации должны преследовать достижение следующих целей37.
1) обеспечение физической целостности защищаемой информации, т.е. заданной синтаксической ее структуры;
2) обеспечение логической целостности, т.е. семантических характеристик информации и установленных взаимосвязей между ее элементами;
3) обеспечение доверия к информации в прагматическом плане, т.е. предупреждения несанкционированной ее модификации с изменением или без изменения синтаксических или семантических характеристик;
4) предупреждение несанкционированного получения защищаемой информации лицами или программами (процессами), не имеющими на это специальных полномочий, т.е. обеспечения установленного статуса ее секретности (конфиденциальности);
5) предупреждение несанкционированного копирования (размножения) информации, объявленной чьей-либо собственностью;
6) защита от демаскирования, т.е. скрытия назначения, архитектуры, технологии и самого факта функционирования системы обработки информации;
7) защита личности, общества, государства, в т.ч. их информационных ресурсов, информации, информационных систем от воздействия информации, наносящей ущерб, внешних и внутренних угроз.
Для достижения рассмотренных целей комплексной защиты информации необходимо предусмотреть адекватные по содержанию и достаточные по количеству способы и средства защиты, как отдельных образцов ТСОИ и в целом любой системы обработки информации.
Проблему защиты информации усугубляет бурное развитие мобильных технологий. Исследования аналитиков в области информационной безопасности говорят о безответственности людей в обращении со своими мобильными устройствами. Именно этот тип утечек приводит к серьезным убыткам пользователей гаджетов38.
Благодаря высоким коммуникационным возможностям современные мобильные устройства получают все большее распространение.
Функции почты, управление контактами, Интернет, создание документации делает современные портативные устройства незаменимыми помощниками. Наличие bluetooth, IrDA, Wi-Fi – все это идеально подходит для массового использования. Вследствие резкого роста «мобильного потенциала» общества существенно повышается риск утечки информации. Подавляющее большинство (более 70%) пользователей хранят на мобильном устройстве конфиденциальные данные, причем как свои, так и своего работодателя. И при этом 17% пользователей хотя бы раз теряли мобильный телефон, карманный персональный компьютер (КПК), смартфон, а то и ноутбук. Организации, служащие которых применяют мобильные устройства, входят в группу повышенного риска.
Около 90% компаний сегодня не в состоянии предотвратить неавторизованное подключение мобильных накопителей к корпоративной сети, при этом только половина компаний осознает существующий риск утечек. Инциденты по утечке корпоративной информации случаются все чаще и чаще, носят глобальный характер. От потери данных страдают банки, сотовые операторы, хостинг-провайдеры, малый бизнес и большие корпорации, коммерческие фирмы и государственные учреждения - все эти организации зафиксировали массу утечек в 2006 году. Многие из этих компаний теперь могут стать жертвой мошенников, лишиться всех сбережений и навсегда испортить кредитную историю.
Из года в год убытки от утечек конфиденциальной информации растут на 20-25%, по оценкам специалистов по ИБ в 2006 году только в США потеряли более 60-65 млрд. долларов вследствие утечек приватных сведений. По прогнозам, совокупные потери мировой экономики из-за кражи коммерческих секретов достигнут в 2008 году 1 трлн. долларов.
Нельзя не отметить и то, что в последнее время недобросовестные конкуренты стали прибегать к услугам должностных лиц правоохранительных и контролирующих органов, которые, используя имеющиеся у них властные полномочия и оперативно-технические возможности, получают информацию о деятельности коммерческих структур. Так, в Калининграде было возбуждено уголовное дело в отношении сотрудника уголовного розыска и работника таможни, которые пытались передать коммерческой организации электронную базу конфиденциальных данных Калининградской таможни39.Фактам тайного хищения информации, совершенных при разных обстоятельствах, сопутствует лишь одно общее обстоятельство – «отсутствие свободного доступа на законном основании», которое собственник должен обеспечивать самостоятельно, организуя защиту информации «от неправомерного доступа, уничтожения, модифицирования, блокирования, копирования, предоставления, распространения, а также от иных неправомерных действий в отношении такой информации». При этом выбор способов осуществляется с учетом обеспечения рассмотренных выше целей комплексной защиты информации или защиты системы от воздействий разрушающей информации. К таким способам можно отнести:
- препятствие – создание на пути возникновения или распространения дестабилизирующего фактора определенного барьера, не позволяющего соответствующему фактору принять опасные размеры;
- управление, определение и выработка на каждом шагу функционирования системы обработки информации управляющих воздействий на элементы системы, в результате которых будет обеспечено решение одной или нескольких задач защиты информации;
- маскировка преобразования информации, исключающая или существенно затрудняющая доступ к ней злоумышленников;
- регламентация – способ защиты информации, состоящий в разработке и реализации в процессе функционирования системы обработки информации комплекса мероприятий, создающих условия обработки информации, существенно затрудняющих проявление и воздействие дестабилизирующих факторов;
- принуждение – способ защиты, обеспечивающий соблюдение пользователями и обслуживающим персоналом правил и условий обработки информации под угрозой материальной, административной или уголовной ответственности;
- побуждение – способ защиты информации, при котором пользователи и обслуживающий персонал систем обработки информации побуждаются (материально, морально, этически, психологически) к соблюдению всех правил ее обработки.
Как правило, перечисленные способы предотвращения угроз реализуются следующими видами защит:
- организационно-правовой защитой, основывающейся на реализации системы общегосударственных законодательных актов, нормативно-правовых актов отдельных министерств и ведомств, органов управления, а также на системе разработанных на их базе организационных, организационно-технических и иных мероприятий, используемых для защиты информации;
- технической (инженерно-технической) защитой, основывающейся на использовании технических устройств, узлов, блоков, элементов, систем, как в виде отдельных средств, так и встроенных в процессе единого технологического цикла создания средств обработки информации, сооружений и т.д.;
- программно-аппаратной защитой, предполагающей использование программного обеспечения ЭВТ, комплексов и систем, а также аппаратных устройств, встроенных в состав технических средств и систем обработки информации.
Контрольные вопросы
1. Что называется сообщением?
2. Что называется сигналом?
3. Какие сообщения называются аналоговыми, а какие – дискретными?
4. Что называется линией связи, каналом связи, интерфейсом?
5. Что такое «компьютер»?
6. Что такое «файл»?
7. На какие классы подразделяется программное обеспечение компьютеров?
8. Какие основные составляющие можно выделить в информационных технологиях?
9. Перечислите и охарактеризуйте основные виды связи.
10. Перечислите и охарактеризуйте основные виды каналов связи.
11. Какие виды запоминающих устройств используются в компьютерах?
12. Какие существуют способы организации межкомпьютерной связи?
13. Каковы основные аспекты уязвимости информации?
14. Назовите основные виды угроз информационной безопасности.
15. Какие цели должны преследовать подсистемы защиты информации?
16. Перечислите способы предотвращения угроз информационной безопасности.
ГЛАВА 3. ПОНЯТИЕ И СУЩНОСТЬ ПРЕСТУПЛЕНИЙ В СФЕРЕ
ВЫСОКИХ ТЕХНОЛОГИЙ
3.1 Понятие компьютерного преступления
В рамках общепризнанного понимания в российской и зарубежной науке международного уголовного права установлено деление международных преступных деяний на международные преступления и преступления международного характера. «В то время как международные преступления затрагивают интересы всего мирового сообщества и подлежат юрисдикции Международного уголовного суда, преступления международного характера касаются ряда отдельных государств и в рамках принципа двойной подсудности подпадают под регулятивное действие института выдачи (экстрадиции). Здесь вопрос решается на основе принципа или выдай или накажи и принципа или выдай или суди» 40.
Характер новации в системе международного уголовного права приобрели так называемые «компьютерные преступления», которые подпадают по всем меркам под понятие «преступление международного характера».
Компьютеризация – явление социально значимое. Однако значимость компьютеризации можно рассматривать с разных сторон. Признание компьютеризации как социально-значимого явления ставит перед нами задачу выявления тех последствий, которые сопутствуют данному феномену. И как не раз случалось в истории, когда научные достижения пользовались не только во благо, но и во вред, новая сфера деятельности человечества не стала исключением.
Существует несколько точек зрения о возникновении «компьютерной преступности». Так, по данным американского ученого Д.Б. Паркера, преступность, «связанная с системой электронной обработки данных, возникла одновременно с появлением компьютерной техники около 1940 г. Эта преступность получила название «компьютерной преступности, или злоупотребления компьютерами».
Ряд источников утверждают, что терминологическое понятие «компьютерная преступность» появилось в 50-е годы, когда были выявлены первые преступления с использованием ЭВМ. А если быть точнее, в 1958 году, когда произошло первое в мире зарегистрированное компьютерное преступление.
















