169272 (595735), страница 8
Текст из файла (страница 8)
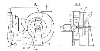
К ротационным аппаратам условно можно отнести вентилятор - пылеуловитель с очисткой газов в спиральной коробке, предназначенный для сухой очистки воздуха от пыли с д > 15 мкм. Его также называют дымосос - золоуловитель, так как он находит применение для очистки отходящих газов малых котельных.
Рис. 11 - Вентилятор-пылеуловитель. 1 - вал; 2 - рабочее колесо; 3 -дымосос;4 - радиальное направляющее устройство; 5 - спиральный пылеуловитель; 6 - крыльчатки; 7 и 11 - входной патрубок; 8 - выходной патрубок; 9 - выносной циклон; 10 - бункер; 12 - односторонний клапан;
4 Безопасность и экологичность проекта
4.1 Анализ опасных и вредных производственных факторов
Фундаментальной целью данного раздела является обеспечение благоприятных условий жизни и хозяйственной деятельности человека путем строго выполнения соответствующих нормативных требований при:
- проектировании новой техники, технологии и видов продукции; создании, транспортировке, монтаже и вводе в эксплуатацию новых видов (образцов, экземпляров) промышленного оборудования, их реконструкции, модернизации, консервации, демонтаже и утилизации;
- эксплуатации действующих производственных систем;
- выпуске продукции как для непосредственного потребления, так и для нужд промышленной сферы;
- комплексной оценки эффективности того или ионного вида
промышленного производства для выработки оптимальных управленческих
стратегий.
Поскольку эффективное обеспечение БЖД требует одновременного решения трех проблем
-
обеспечение надлежащих условий труда на рабочих местах;
-
снижение негативного влияние производства, на окружающую среду до нормативных уровней;
-
придание производственному процессу достаточной устойчивости по отношению к чрезвычайным ситуациям мирного и военного времени, то данный раздел проекта состоит из следующих подразделов:
4.2 Мероприятия по обеспечению электробезопасности производства
По степени опасности поражение электротоком механо – сборочный относится к помещениям особо опасным, т.к. характеризуется наличием нескольких условий создающих особую опасность, где длительное время содержаться агрессивные пары, газы, жидкости. Обеспечение недоступности токоведущих частей путем использования изоляции, ограждений, расположений указанных элементов на высоте, в корпусах и в станинах оборудования; применение малых напряжений (не выше 42 В).
Использование изоляции токоведущих частей: рабочей «двойной» и усиленной.
Характер воздействия постоянного и переменного токов на организм человека.
Таблица 20
| I, мА | Переменный (50 Гц) | Постоянный |
| 0,5-1,5 | Ощутимый. Легкое дрожание пальцев. | Ощущений нет. 1 |
| 2-3 | Сильное дрожание пальцев. | Ощущений нет. |
| 5-7 | Судороги в руках. | Ощутимый ток. Легкое дрожание пальцев. |
| 8-10 | Не отпускающий ток. Руки с трудом отрываются от поверхности, при этом сильная боль. | Усиление нагрева рук. |
| 20-25 | Паралич мышечной системы (невозможно оторвать руки). | Незначительное сокращение мышц РУК. |
| 50-80 | Паралич дыхания. | При 50мА неотпускающий ток. 1 |
| 50-80 | Паралич дыхания. | При 50мА неотпускающий ток. |
| 90-100 | Паралич сердца. | Паралич дыхания. |
| 100 | Фибрилляция (разновременное, хаотическое сокращение сердечной мышцы) | 300 мА фибрилляция. 1 |
4.3 Освещение
Основная задача освещение на производстве - создание наилучших условий для видения. Эту задачу, возможно, решить только осветительной системой отвечающей следующим требованиям:
1. Освещенность на рабочем месте должна отвечать требованиям норм гигиены. Увеличение освещенности рабочей поверхности улучшает видимость объектов, увеличивает скорость различения деталей, что способствует росту производительности труда.
2. Необходимо обеспечивать достаточно равномерное распределение яркости на рабочей поверхности, а также в пределах окружающего пространства. Для этой цели может использоваться комбинированная система освещения.
3. На рабочей поверхности не должно быть резких теней, которые создают неравномерное распределение яркостей в поле зрения, искажают размеры и форму объектов различения. Особенно вредны движущиеся тени,
способствующие увеличению травматизма.
4. В поле зрения недопустима прямая и отраженная блескость
поверхностей. Блескость — повышенная яркость светящихся поверхностей,
вызывающая ослепленность. Ограничение прямой блескости возможно при
уменьшении яркости источников света и увеличение высоты подвеса
светильников.
-
Величина освещенности должна быть постоянной во времени, Это достигается стабилизацией питающего напряжения, жестким креплением светильников, применением специальных схем включения газоразрядных ламп.
-
Необходимо выбрать определенный спектральный состав света, что особенно важно для обеспечения правильной цветопередачи, а в отдельных случаях - для усиления цветового контраста.
7. Необходимо сводить до минимума тепловыделения, излучаемый шум, электро- и пожара опасность осветительной установки. Она должна быть удобной, простой и надежной в эксплуатации.
При освещении производственных помещений используют естественное, искусственное и совмещенное освещение. К производственному освещению предъявляются требования:
- освещенность на рабочем месте должна соответствовать характеру
зрительной работы;
-
необходимо обеспечить достаточно равномерное освещение на рабочей поверхности, а так же в пределах окружающего пространства;
-
на рабочем месте должны отсутствовать резкие тени;
- в поле зрения должна отсутствовать прямая и отраженная блескость. Устанавливаем нормы освещенности и значения коэффициента естественной освещенности производственного процесса по СНиП 23-05-95.
Освещенность при искусственном комбинированном освещении - 2000 лк, общем - 500 лк.
Кео в % при освещении естественном верхнем и боковом - 7%, боковом -2%, совмещенном верхнем и боковом - 4,2%, боковом - 1,2%. Допускаемые нормированные значения КЕО для производственных помещений.
| Разряд зрительных работ | Наименьшее нормированное значение КЕО, 1п, % при совмещённом освещении | |
| При верхнем или комбинированном освещении | при боковом освещении | |
| I | 3 | 1,2 |
| П | 2,5 | 1 |
| III | 2 | 0,7 |
| IV | 1,5 | 0,5 |
| УиУП | 1 | 0,3 |
| VI | 0,7 | 0,2 |
4.5 Вентиляция
Важнейшее значение для нормальной жизнедеятельности человека имеет наличие чистого воздуха, необходимого химического состава и имеющего оптимальные температуру, влажность и скорость движения.
В производственных помещениях при работе станков, машин, оборудования, от технологического процесса и нахождения работающих людей могут выделяться избыточное количество тепла и влаги, а также загрязняющих воздух газов, паров, пыли.
Одним из вредных веществ, часто находящимся в воздухе машиностроительных цехов является пыль, представляющая собой мельчайшие частицы.
В механических цехах процессы обточки, шлифовки, полировки сопровождаются пылевыделением, интенсивность которого зависит от вида обрабатываемого металла, используемого абразивного или другого инструмента, сухого или влажного метода обработки, наличия и конструкции пылеотсасывающих устройств.
Пыль, способная некоторое время находиться в воздухе во взвешенном состоянии, называется аэрозоль, в отличие от осевшей пыли, называемой аэрогель. В механосборочных цехах широко выполняются сварочные процессы, а также гальванические и малярные операции. При сварке обычно образуется сварочная аэрозоль сложного состава. Пыль оказывает вредное действие главным образом на дыхательные пути и легкие. В зависимости от ее состава и вида может оказывать также неблагоприятные воздействия на кожу и глаза. Классифицируют по токсичности и дисперсности. К ядовитой или токсичной относятся свинцовая, марганцевая, хромовая и др. Эта пыль, попадая в организм или оседая на коже, может вызвать острое или хроническое отравление.
По дисперсности (степень измельченности) различают пыль: крупно дисперсную - частицами размером более 10 мкм; среднедисперсную -частицами размером от 10 до 5 мкм, мелкодисперсную и дым с частицами размером мене 5 мкм. Мелкодисперсная пыль представляет для организма наибольшую опасность.
На машиностроительных заводах широко применяют пластмассы. Пластмассы, содержащие нитроакриловую кислоту, фенол, дифенил и другие вредные вещества, при механической обработке резанием, сверлением, штамповкой и другими способами выделяют ядовитые пары, газы и пыль.
Вредные вещества (пары, газы, пыль), находящиеся в воздухе производственных помещений, через дыхательные пути, пищевой тракт могут попасть в организм человека и при определенных условиях вызвать острые и хронические отравления.
Запыленность и загазованность воздуха рабочей зоны производственных помещений в пределах допустимых концентрацией не оказывает неблагоприятного влияния на организм и самочувствие человека ни прямым, ни косвенным путем даже при длительном воздействии.
За содержанием вредных веществ в воздухе рабочей зоны устанавливается контроль:
- содержание вредных веществ в воздухе не должно превышать предельно допустимых концентраций (ПДК);
- мероприятия по обеспечению безопасности труда, при контакте с вредными веществами обязательно должны предусматривать применение средств индивидуальной защиты, а также специальную подготовку и инструктаж обслуживающего персонала.
Во всех случаях в воздухе, поступающем внутрь зданий и сооружений через приемные отверстия систем вентиляции и через проемы для естественной приточной вентиляции, содержание вредных веществ не должно превышать 30% ПДК, установленных для рабочей зоны производственных помещений.
Требуемое состояние воздуха рабочей зоны может быть обеспечено выполнением определенных мероприятий:
1. Механизация и автоматизация производственных процессов, дистанционное управление ими.
-
Применение технологических процессов и оборудования, исключающих образование вредных веществ или попадания их в рабочую зону.
-
Большое значение для оздоровления воздушной среды имеет надежная герметизация оборудования, в котором находятся вредные вещества.
-
Защита от источников тепловых излучений.
-
Устройство вентиляции и отопления.
-
Применение средств индивидуальной защиты.
Задачей вентиляции является обеспечение чистоты воздуха и заданных метеорологических условий в производственных помещениях. Достигается она удалением загрязненного или нагретого воздуха из помещения и подачей в него свежего, воздуха.
Вентиляция должна обеспечивать условия, отвечающие требованиям технологического процесса, сохранения оборудования и строительных конструкций здания.
Устройство вентиляции в производственных и вспомогательных помещениях промышленных предприятий является обязательным.
По способу перемещения воздуха вентиляция подразделяется на естественную и механическую. Возможно их сочетание - смешанная вентиляция.
Естественная вентиляция подразделяется на аэрацию и проветривание.
Механическая вентиляция в зависимости от направления воздушных потоков бывает вытяжной (отсасывающей), приточной (нагнетательной) и приточно-вытяжной.
















