168772 (595694), страница 5
Текст из файла (страница 5)
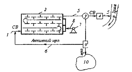
Аеротенки - величезні резервуари із залізобетону. Тут очищаючий початок - активний мул з бактерій і мікроскопічних тварин. Всі ці живі істоти бурхливо розвиваються в аеротенках, чому сприяють органічні речовини стічних вод і надлишок кисню, що поступає в споруду потоком повітря, що подається. Бактерії склеюються в пластівці і виділяють ферменти, мінералізуючи органічні забруднення. Мул з пластівцями швидко осідає, відділяючись від обчищеної води. Інфузорії, джгутикові, амеби, коловертки і інші найдрібніші тварини, пожираючи бактерії, що не злипаються в пластівці, омолоджують бактерійну масу мула.
Рис.1.4 Схема біоочищення за допомогою одноступеневого аеротенка: 1,5 - подача і скид води; 2 - аеротенк, 3 - вторинний відстійник; 4 - станція знезаражування; 6 - подача мулу; 7 - компресор; 8 - подача повітря; 9 - насосна станція ; 10 - муловий майданчик
Системи вторинного очищення не усувають розчинених біогенів. До двох останніх десятиліть не відчувалося гострої необхідності здійснювати додаткове очищення води вже після вторинної. Воду після неї просто дезинфікували хлоркою і скидали в природні водоймища. Така ситуація переважає і зараз. Проте у міру загострення проблеми евтрофікації все більше міст вводять ще один етап - доочистку, що знімає біогени.
Доочистка. Після вторинного очищення вода поступає на доочистку, що знімає один або більш біогенів. Для цього існує безліч способів. На 100% воду можна очистити дистиляцією або мікрофільтруванням. Проте це вимагає великих витрат. Сумарний об'єм стоків – близько 150 галонів в день на людину. Очищення такої кількості води названими методами дуже марнотратне, тому в даний час розробляються і упроваджуються доступніші способи. Наприклад, фосфати можна усунути, додавши у воду вапно (іони кальцію). Кальцій вступає в хімічну реакцію з фосфатом, утворюючи при цьому нерозчинний фосфат кальцію, який можна видалити фільтруванням. Якщо надлишок фосфату – основна причина евтрофікації, цього вже достатньо.
При відповідній доочистці можна добитися того, що зрештою вийде вода, придатна для пиття. Багатьох людей бліднуть при думці про вторинне використовування каналізаційних стоків, та варто пригадати про те, що в природі у будь-якому випадку вся вода скоює круговорот. Фактично відповідна доочистка може забезпечити воду кращої якості, ніж одержувана з річок і озер, що не рідко приймають неочищені каналізаційні стоки [40].
Дезинфекція. Якому б ретельному очищенню не піддавалися стічні води, звичайно їх все одно дезинфікують хлоруванням перед скиданням в природні водоймища, щоб знищити патогенні організми, які могли вижити. Використовування для цього газоподібного хлору (Cl2) спричиняє за собою певні екологічні проблеми, що вимагають обговорення. Хлор використовують через його ефективну дію і відносну дешевизну. Проте він дуже отруйний, і його транспортування небезпечне для людей. Крім того, хлор ще більш токсичний для деяких риб. Виявилося, що навіть не уловлюване вимірювальними приладами його зміст робить згубний вплив на їх ікру і розвиток ембріонів. Нарешті, деякі кількості хлору мимовільно вступають в реакції з органічними речовинами з утворенням хлорованих вуглеводнів, тобто органічних молекул, що включають атоми хлору. Багато хто з цих з'єднань токсичний і біологічно не розкладається, а деякі здатні навіть викликати рак, порушення внутрішньоутробного розвитку і вражати систему розмноження.
Існують безпечніші дезинфікуючі засоби, наприклад озон (O3). Він надзвичайно згубний для мікроорганізмів і, впливаючи на них, розпадається на газоподібний кисень, що покращує якість води. Проте озон не тільки токсичний, але і вибухонебезпечний.
Пропонується також впливати на воду ультрафіолетовим або іншим випромінюванням, що вбиває мікроорганізми, але не надаючим ніякого побічного явища.
Крім того, після хлорування можна додавати у воду інші речовини, наприклад діоксид сірки, які, реагуючи з хлором, утворюють нешкідливі неактивні з'єднання
РОЗДІЛ 2 Використання та охорона водних ресурсів Коростишівського району
2.1 Фізико-географічна і природо-кліматична характеристика Житомирської області
Житомирська область розташована в центральній частині Східноєвропейської рівнини, на півночі Правобережної України, майже повністю в центральній частині Полісся. Площа області становить 29,9 тис. кв. км, що складає 4,9 % території України. Область має вигідне фізико-географічне та економіко-географічне положення, що сприяє її компактному заселенню, високому рівню господарського освоєння території 20.
Територія Житомирської області в геоструктурному відношенні знаходиться майже повністю в межах північно-західної частини Українського кристалічного щита, який є складовою частиною Руської платформи.
В геологічній будові беруть участь метаморфічні, місцями магматичні відламкові породи докембрійського фундаменту, перекриті корою вивітрювання і осадовим чохлом. Корінні породи чохла, що виповнюють зниження фундаменту, залягають на сході та півдні області. Решта території вкрита антропогеновими відкладами. За площею переважають водно-льодовикові відклади, на окремих ділянках перекриті льодовиковими. Річкові долини виповнені алювієм терас.
На території області є відклади всіх періодів геологічної історії Землі, починаючи з докембрійських і закінчуючи четвертинними. Але роль їх в геологічній будові неоднакова.
Рельєф Житомирської області тісно пов’язаний з геологічною будовою. Приуроченість території області до північно-західної частини Українського кристалічного щита зумовило її більш високе гіпсометричне положення порівняно з іншими областями українського Полісся, поширення вузьких і глибоких врізаних річкових долин, наявність великих лесових “островів” і меншу заболоченість.
Житомирська область має вигляд хвилястої рівнини із загальним зниженням на північ і північний схід (від 280 – 220 м до 150 м і менше). Більша частина області лежить у межах Придніпровської та Волино–Подільської височин. Північну і північно-східну частину займає Поліська низовина 20.
Для області характерний високий рівень залягання кристалічних порід, які в багатьох місцях виходять на денну поверхню і беруть участь у формуванні сучасного рельєфу, впливають на характер річкових долин, підземних вод і ґрунтового покриву.
В надрах Житомирської області залягають різноманітні корисні копалини. З погляду видової різноманітності мінеральну базу області варто характеризувати переважно як паливно-будівельну. З неї виокремлюються три групи корисних копалин: паливно-енергетична (буре вугілля, торф); будівельна (граніти, кварцити, тугоплавкі глини, пегматити, каолін, доломіт); метало рудна (ільменіт). Поклади мінеральної сировини в цілому незначні (винятком є будівельне каміння і кварцити). Ступінь різноманітності сировинних ресурсів характеризується високим рівнем. Більш розвідані паливно-енергетичні ресурси, будівельні і металеві корисні копалини. На їх базі розвиваються буровугільна і торфовидобувна промисловості, скляна і фарфоро-фаянсова, цегельна, видобування і виробництво ільменіту тощо.
Житомирська область розташована у помірному поясі північної півкулі між 49° і 51° північної широти. Цим обумовлюється висота Сонця над горизонтом.
У дні рівнодення, коли сонце буває в зеніті над екватором, воно опівдні піднімається в Житомирі над горизонтом на 35°. Максимальна висота Сонця опівдні в день літнього сонцестояння досягає 58°, мінімальна висота Сонця опівдні в день зимового сонцестояння не досягає 12°.
Клімат Житомирської області помірно-континентальний, з теплим вологим літом і м'якою хмарною зимою. Він залежить від основних кліматоутворюючих факторів: сонячної радіації, атмосферної циркуляції, форм рельєфу, а також лісистості і заболоченості, які впливають на формування місцевих мікрокліматичних відмін. Середня багаторічна температура найхолоднішого місяця (січня) становить мінус 6°, найтеплішого (липня) +17 - +19 °. Середня річна температура в області становить +6 - +7°. Найбільші морози бувають у січні та лютому і досягають мінус 30°. Тривалість безморозного періоду 150 – 170 днів. Сума додатних температур повітря (понад 10) коливається від 2400° на півночі, до 2600° на півдні. Тривалість періоду з середньодобовими температурами вище 0° становить 240 – 260 днів. Вегетаційний період (дні з середньою температурою повітря вище 5°) продовжується від другої декади квітня до третьої декади жовтня. Середні дати весняних заморозків на ґрунті – 5 – 10 травня, найпізніші – у першій половині червня [20]. Осінні приморозки починаються наприкінці вересня – на початку жовтня. Від весняних приморозків найбільше страждають ранні овочі, фруктові дерева.
На території області протягом року випадає 550 – 600 мм опадів. Максимум опадів припадає на літні місяці: червень, липень, серпень (40 – 45% річної кількості опадів). Влітку досить часто бувають зливи, грози. Сума опадів у період активної вегетації становить 300 – 350 мм.
Сніговий покрив у більшості районів області рівномірний (10 – 30 см) і триває 95 – 110 днів, але нестійкий через часті відлиги. В цілому він достатній для захисту озимини від вимерзання і накопичення ґрунтової вологи.
Відсутність високих гірських піднять сприяє вільному переміщенню повітряних мас різного походження, що обумовлює значну мінливість погодних процесів в окремі сезони. Проте перехід від одного сезону року до другого, як правило, відбувається поступово. Під впливом Атлантики характерні стійкі відлиги, коли температура повітря підвищується до 10°, а сніговий покрив зовсім зникає. Взимку спостерігається хмарна погода – результат проходження циклонів, опади можуть випадати як у вигляді снігу, так і дощу – при глибоких тривалих відлигах, а також проходженні атлантичних і південних циклонів.
В залежності від співвідношення між циклонічною і антициклонічною погодами взимку на Житомирщині розрізняються теплі і холодні зими. Теплі зими характеризуються частими виходами атлантичних циклонів з суцільною хмарністю і опадами у вигляді мокрого снігу, дощу й мряки. При цьому добовий хід температури повітря практично відсутній, а середні місячні температури на 5 – 7° перевищують норму. Холодні зими спостерігаються при переважному пануванні антициклонної погоди, викликаної вторгненням арктичних мас, формуванням місцевих антициклонів. При цьому середні температури бувають на 7 – 9° нижчими від норми.
Переломним періодом зими є звільнення ґрунту від снігового покриву. Початок весняного сезону, який характеризується переходом середньої добової температури через 0° у бік зростання, відбувається в середині березня, через +5° температура по всій області переходить близько 10 квітня. Цей час вважають за початок вегетаційного періоду.
Для травня з його середньою температурою повітря +15° властивий, до деякої міри, літній режим і погода здебільшого сонячна, тепла, вітри слабкі і ширяться громовиці.
За весну випадає опадів 120 –130 мм. Травень буває іноді посушливим і час від часу тут виникають пилові бурі, які видувають верхні шари сухого ґрунту.
Не можна не зазначити, що в окремі роки спостерігаються снігопади не тільки в березні – квітні, а й в травні.
Літо починається з кінця травня і закінчується на початку вересня. У середньому літній період достатньо теплий і вологий: середні місячні температури всіх літніх місяців перевищують 18°, за цей період випадає 200 250 мм опадів, тобто 40 % їх річної норми.
Влітку часто спостерігаються грози з інтенсивними зливними дощами, коли за одну добу може випасти 100 мм опадів. В середньому на кожний літній місяць припадає 5-7 грозових днів. Дві-три грози за літо супроводжуються випаданням граду. Найбільш сухим і сонячним є місяць серпень.
Перший місяць осені – вересень – сухий і сонячний. Пізніше збільшується хмарність, частіше починають випадати облогові дощі, які мають важливе значення для передзимового зволоження ґрунту і нагромадження в ньому вологи.
Жовтень може бути сухим і сонячним, з нічними приморозками і туманами. Такі періоди одержали назву „бабиного літа”. При цьому в жовтні можливі температури +25...+26.
Кінець осені відзначається різким посиленням циклонічної діяльності. В цей час часто спостерігаються тривалі облогові дощі і тумани. Наприкінці листопада по всій області може утворитися сніговий покрив, хоча снігопади зрідка можливі протягом всієї осені.
Територія Житомирської області має розгалужену гідрографічну мережу. На території області протікає повністю або частково 221 річка (враховано річки довжиною понад 10 км, загальною довжиною 5366 км), всі вони належать до басейну Дніпра 20.















