154448 (594871), страница 3
Текст из файла (страница 3)
В связи с этим, необходимая для полного титанического сокращения ДЕ частота импульсации мотонейрона зависит и от типа составляющих ее мышечных волокон.
Регулировка силы сокращения мышц за счет изменения частоты нервной импульсации определяется термином «временная суммация».
Когда скелетные мышцы преодолевают легкие и умеренные сопротивления, например, в быту или в процессе обычной трудовой деятельности, необходимая для их возбуждения частота нервной импульсации не достигает максимума, а деятельность низко пороговых ДЕ при этом осуществляется попеременно, т. е. асинхронно. В этом случае относительно низкое общее напряжение мышцы не колеблется, поскольку для разных асинхронно активных ДЕ максимумы сокращений никогда не совпадают (3).
Рис. 5. Режимы сокращений двигательной единицы импульсами различной частоты (по Я. Коцу).
При длительной мышечной работе умеренной интенсивность, например, в длительном беге или лыжных гонках, в первую очередь активизируются низко пороговые ДЕ. По мере утомления этих работающих ДЕ, их сократительная способность постепенно уменьшается, и в работу начинают вовлекаться более крупные и высоко пороговые ДЕ. Этим объясняется тот факт, что в процессе длительной работы умеренной интенсивности гликоген - внутримышечный источник энергии - более быстро расходуется в медленных SO-волокнах, а по мере продолжения работы и в быстрых FG-волокнах.
При скоростном проявлении силы и необходимости при этом преодоления мышцами умеренных и высоких внешних сопротивлений, происходит активизация преимущественно высоко пороговых ДЕ с FG-волокнами короткими сериями высокочастотных нервных импульсов. Такая стартовая иннервация вызывает сильный и нарастающий процесс мышечного сокращения, после чего за «взрывным» началом следует сигнальная блокировка биоэлектрической активности мышц. Во время этой «паузы» ДЕ и сокращаются с высокой скоростью. Движения при таком баллистическом характере мышечного сокращения заранее программируются в головном мозге и реализуются с такой высокой скоростью, что их коррекция по ходу движения часто оказывается практически невозможной. Период биоэлектрического «молчания», во время которого мышца не реагирует на поступающие к ней нервные импульсы, следующие за стартовой иннервацией, зависит преимущественно от величины преодолеваемого внешнего сопротивления (1).
Если внешнее сопротивление возрастает настолько, что при баллистическом сокращении мышц ускорения движения не происходит, то подается новая серия импульсов с последующим периодом «молчания», что в конечном итоге до определенного уровня величины внешнего сопротивления и обеспечивает дальнейшее ускорение выполняемого движения.
Движения, характеризуемые сериями импульсов стартовой иннервации с последующим периодом сигнальной блокировки и проявлением баллистического режима мышечного сокращения, имеют резко выраженный скоростно-силовой характер.
Если же сопротивление увеличивается до максимального или близкого к нему, то такое сопротивление будет преодолеваться уже более продолжительными сериями импульсов очень высокой частоты. Такой режим работы мышц характерен для проявления максимальной силы.
-
Мышечная механика
Механические свойства мышц достаточно сложны и зависят от свойств образующих их компонентов: миофибрилл, соединительных и трофических образований и т, п., а также от состояния самой мышцы.
Для понимания большинства свойств мышечной механики можно использовать упрощенную модель ее строения. Эта модель представляет собой комбинацию сократительных и упругих компонентов мышцы (рис. 6).
Сократительные элементы соответствуют участкам саркомеров, где актиновые и миозиновые нити перекрывают друг друга. В этих участках при возбуждении мышцы и происходит генерация мышечной силы.
Актиновые и миозиновые нити легко скользят относительно друг друга, поэтому в расслабленных мышцах сопротивление растяжению оказывается очень низким. Укороченную при сокращении мышцу небольшим усилием можно снова растянуть до исходной длины. Однако это растяжение мышцы до своей исходной длины является пассивным процессом, который может быть осуществлен лишь за счет внешнего воздействия.
Если же покоящуюся мышцу потянуть за один конец так, чтобы ее волокна растянулись, то после снятия внешней нагрузки мышца восстанавливает свою длину. Это говорит о том, что в ней развивается пассивное напряжение. Значит, покоящаяся мышца обладает эластичностью, которая свойственна преимущественно растяжимым структурам, расположенным параллельно по отношению к сократительным элементам мышцы - миофибриллам. К этим параллельным эластическим элементам относятся окружающие мышечное волокно оболочка (сарколемма), элементы соединительной ткани между волокнами и их пучками, и некоторые другие структурные компоненты мышечной клетки (3).
Зависимость между величиной внешней нагрузки и удлинением мышцы нелинейная. Модуль упругости покоящейся мышцы возрастает с ее растяжением.
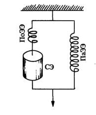
Рис. 6. Аналоговая модель строения мышцы: СЭ - сократительный элемент, ПаЭЭ - параллельный эластический элемент, ПоЭЭ - последовательный эластический элемент (по RueggJ. С. 1983).
Степень предварительного растяжения определяет и величину дополнительной силы эластического напряжения мышцы, которую она может развить в процессе своей активации при данной исходной длине. Соотношение сила - длина мышцы при ее изометрическом напряжении зависит от степени взаимного перекрывания нитей актина и миозина в саркомере (рис. 7). Максимум силы достигается при длине мышцы, соответствующей состоянию саркомера, когда его длина составляет от 2,0 до 2,2 мкм. При меньшей длине мышцы (или саркомера) сила уменьшается, поскольку актиновые и миозиновые нити начинают мешать друг другу, а также и из-за некоторых других факторов, возникающих при укорочении мышцы. Все это обычно не позволяет мышцам укорачиваться при сокращении до длины, меньшей чем 50-70% от их длины в покое.
Если же мышцу растягивать более, чем ее длина в покое, то сократительная сила также уменьшается, потому что нити актина при этом вытягиваются из пучка нитей миозина. Поэтому, при увеличении длины саркомера до 2,9 мкм, мышечное волокно сможет развить только около 50% от своего изометрического максимума, так как зона взаимного перекрытия сократительных элементов составляет лишь половину от максимальной. При длине саркомера 3,6 мкм и более миофибриллы уже не могут генерировать силу, потому что их актиновые и миозиновые нити не перекрываются (25).
Мышцы на своих концах переходят в сухожилия, через которые они передают усилия на костные рычаги. Сухожилия также обладают упругими свойствами, которые классифицируются как последовательный упругий элемент мышцы.
Рис. 7. Зависимость между силой сокращения, длиной саркомера и степенью перекрывания актиновых и миозиновых нитей: А - зависимость между максимальной изометрической силой, развиваемой саркомером во время тетануса и его длиной; Б - взаимное перекрывание актиновых и миозиновых нитей при различной длине саркомера (по Gordor A. M. и др., 1966, переработано).
При внезапном и сильном внешнем воздействии, или при высокой и резкой силе мышечного сокращения, эластические элементы мышцы, растягиваясь, смягчают силовые воздействия, распределяя действие силы в течение более длительного промежутка времени. В некоторых случаях упругость мышц может создавать дополнительную силу, например, в начальной фазе движения.
Сухожилия обладают большей прочностью на растяжение (примерно 7000 Н/см2), чем мышечная ткань (всего около 60 Н/см2). Наиболее слабыми, и поэтому часто травмируемыми участками мышцы, являются переходы мышцы в сухожилия. Поэтому, перед каждым тренировочным занятием, необходима хорошая предварительная подготовка разминка.
1.1.7. Адаптация организма к физическим нагрузкам
С биологической точки зрения физическая подготовка представляет собой процесс направленной адаптации организмах тренировочным воздействиям. Нагрузки, применяемые в процессе физической подготовки, выполняют роль раздражителя, возбуждающего приспособительные изменения в организме. Тренировочный эффект определяется направленностью и величиной физиологических и биохимических изменений, происходящих под воздействием применяемых нагрузок. Глубина происходящих при этом в организме сдвигов зависит от основных характеристик физической нагрузки: интенсивности и продолжительности выполняемых упражнений; количества повторений упражнений; вида физических упражнений; продолжительности и характера интервалов отдыха между повторением упражнений.
Определенное сочетание перечисленных параметров физических нагрузок приводит к необходимым изменениям в организме; к перестройке обмена веществ и, в конечном итоге, к росту тренированности.
Процесс адаптации организма к воздействию физических нагрузок имеет фазный характер. Поэтому выделяют два этапа адаптации: срочный и долговременный (хронический) (29).
Этап срочной адаптации сводится преимущественно к изменениям энергетического обмена и связанных с ним функций вегетативного обеспечения на основе уже сформированных механизмов их реализации, и представляет собой непосредственный ответ организма на однократные воздействия физических нагрузок.
При многократном повторении физических воздействий и суммировании многих следов нагрузок, постепенно развивается долгосрочная адаптация. Этот этап связан с формированием в организме функциональных и структурных изменений, происходящих вследствие стимуляции генетического аппарата нагружаемых во время работы клеток. В процессе долговременной адаптации к физическим нагрузкам активируется синтез нуклеиновых кислот и специфических белков, в результате чего происходит увеличение возможностей опорно-двигательного аппарата, совершенствуется его энергообеспечение (12).
Разовость протекания процессов адаптации к физическим нагрузкам позволяет выделять три разновидности эффектов в ответ на выполняемую работу.
Срочный тренировочный эффект, возникающий непосредственно во время выполнения физических упражнений и в период срочного восстановления в течение 0,5-1,0 часа после окончания работы. В это время происходит устранение образовавшегося во время работы кислородного долга.
Отставленный тренировочный эффект, сущность которого составляет активизация физической нагрузкой пластических процессов для избыточного синтеза разрушенных при работе клеточных структур и возобновление энергетических ресурсов организма. Этот эффект наблюдается на поздних /фазах восстановления (обычно в пределах до 48 часов после окончания нагрузки).
Кумулятивный тренировочный эффект является результатом последовательного суммирования срочных и отставленных эффектов повторяющихся нагрузок. В результате кумуляции следовых процессов физических воздействий на протяжении длительных периодов тренировки (более одного месяца) происходит прирост показателей работоспособности и улучшение спортивных результатов (3)
Небольшие по объему физические нагрузки не стимулируют развитие тренируемой функции и считаются неэффективными. Для достижения выраженного кумулятивного тренировочного эффекта необходимо выполнить объем работы, превышающий величину неэффективных нагрузок.
Дальнейшее наращивание объемов выполняемой работы сопровождается, до определенного предела, пропорциональным увеличением тренируемой функции. Если же нагрузка превышает предельно допустимый уровень, то развивается состояние перетренированности, происходит срыв адаптации (28).
1.2. Организация и методика занятий атлетической гимнастикой
Наиболее подходящим возрастом для занятий атлетической гимнастикой является возраст от 16 до 18 лет, хотя нельзя отрицать и, занятия в более младшем возрасте.
Если существуют, какие – либо сомнения, лучше всего посоветоваться со спортивным врачом. Для мужчин среднего возраста, желающих заниматься этим видом спорта, совет такого врача тем более необходим. Этим видом спорта люди могут заниматься до 45 – 50 лет. Известны случаи, что мужчины в возрасте свыше 50 лет, особенно если они раньше занимались физической культурой и спортом, достигали замечательных результатов в атлетической гимнастике, сохраняли физическую форму и хорошую жизнеспособность(2).
1.2.1. Восстановление организма и питание атлета при занятиях
атлетической гимнастикой
Прогресс в результатах невозможен без эффективной системы восстановления. Восстановление — это не только биологическое уравновешивание всех функций и систем организма после физических нагрузок, но и перевод функций органов, тканей, клеток на новый, более высокий энергетический уровень.
















