151790 (594714), страница 2
Текст из файла (страница 2)
а — пресований; б — збірний; в — клеєний
Залежно від призначення електричних апаратів у них застосо вують струмові котушки або котушки напруги. Струмові котушки розраховані на проходження по них великих струмів. Струмові котушки виготовляють з обмоткових проводів або голих проводів (шин) порівняно великого діаметра (перерізу).
Котушки напруги розраховані на роботу при порівняно високій напрузі і невеликій силі струму. їх виготовляють, намо туючи на верстатах обмоткові проводи на каркас (каркасні ко тушки) або на шаблон (безкаркасні котушки).
У масовому виробництві для виготовлення котушок застосову ють різне устаткування, у тому числі намотувальні автоматичні верстати, просочувальні установ ки, калориферні та інші сушильні установки.
Після сушіння перевіряють, чи немає обриву в обмотці котушки і чи відповідає її електричний опір заданим вимогам. Перевіряють також, чи немає замикання між витками обмоток котушок змінного струму. Після цього котушки п
окривають захисними лаками й емалями і сушать на повітрі або в печах.
Рис. 5. Безкаркасна котушка, намотана з мідної шини
Електричні контакти, магнітопроводи з котушками та інші де талі електричних апаратів закріплюють на основі; деякі апарати закривають кришкою, з'єднаною з основою. В основі є затискачі для підімкнення апарата до електричної мережі, а через кришку виведені рукоятки, кнопки, за допомогою яких замикають або розмикають контакти вручну.
1.2 Вимикачі навантаження
В
имикачі навантаження призначені для розмикання електричного кола високої напруги при невеликій потужності. Від короткого замикання такі кола захищають запобіжниками.
Вимикач навантаження (роз'єднувач потужності) при розмиканні кола утворює видимий розрив. Конструкція вимикача потужності на 10 кВ, змонтованого разом із запобіжниками, показана на рис. 6. Елементи вимикача змонтовано на стальній рамі 3. На опорних ізоляторах 6 встановлено дугогасні камери 5 з нерухомим 7 і дугогасним 10 контактами.
Рис. 6. Вимикач навантаження:
1 — запобіжники; 2 — привод; 3 — стальна рама; 4 — болт заземлення; 5 — дугогасна камера; 6 — опорні ізолятори; 7 — нерухомі контакти; 8 — вал; 9 — рухомі контакти; 10 — дугогасні контакти
Контакти з'єднані з затискачами до яких приєднуються проводи зовнішнього монтажу. Дугогасна камера 5 виконана з двох пластмасових частин. Всередині камери розміщені дві втулки 4 з газогенеруючого матеріалу (органічного скла). Під дією високої температури електричної дуги, яка виникає під час розмикання струму навантаження, органічне скло частково розкладається, виділяючи при цьому велику кількість газу. В камері створюється тиск, який викликає дуття в зоні дуги. Дуття і гази швидко гасять дугу і розривають коло.
Переміщення рухомих контактів здійснюється тягами, зв'язаними з важелями вала. На обох кінцях вала встановлені вимикаючі пружини з буфером.
1.3 Організація робочого місця електрослюсаря
Робочим місцем називають частину простору, що служити для виконання працівником завдання. До робочого місця входять основне та допоміжне устаткування: верстати, механізми, енергетичні установки та інше. Технологічну оснащення та інструмент, необхідний інвентар установчої сталі (верстати, стелажі). При організації робочого місця повинні враховуватися вимоги наукової організації праці (НОП).
Згідно з вимог НОТ робоче місце електрослюсаря повинно бути облаштовано технічними слідствами, що забезпечують максимальні зручності для праці, безпечну працю. Раціональна побудова трудового процесу і фізіологічно вірну робочу позу, раціональне розташування та строгий порядок зберігання інструментів, заготівель, виготовлюючи деталей, дотримання на робочому місці порядку та чистоти. Організація робочого місця, що передбачує НОП, забезпечує високу працю, максимальну економію робочого години, високу надійність ремонту та збереження здоров'я працюючого персоналу.
Робоче місце електроустаткування, що ремонтується або в електроцеху підприємства. Біля електроустаткування, що ремонтується, робоче місце організовують при ремонті великогабаритної електромашини, доставка якої в ремонтний цех за якимись-то причинами нездійснена або недоцільна.
У таких випадках робочим місцем їв. слюсаря служити ремонтна площа, надійно відгороджена від іншого устаткування та оснащена усім необхідним для виконання всього комплексу наступних ремонтних робіт.
Електрослюсарю, що виконує слюсарні роботи по ремонті порівняно невеликих деталей та збірних одиниць, робочим місцем служити звичай дільниця на території ремонтного цеху, обладнаний інструментальною шафою та слюсарним верстатом.
Слюсарні операції ремонту електроустаткування електрослюсаря виконує за допомогою слюсарного метало ріжучого та вимірного інструмента.
Слюсарний інструмент. До набору основного слюсарного інструменту входять: молотки, зубила, борідки та інше.
2. Механічна частина
2.1 Монтаж вимикачів навантаження
Ревізію, установку і регулювання вимикачів потужності проводять так само як роз'єднувачів. Додатковою операцією є ревізія дугогасної камери, запобіжників, а також механізму автоматичного вимикання.
Вимикачі потужності встановлюють у камерах РП або на металічних конструкціях РП. Вимикачі піднімають на місце засобами механізації з врахуванням маси вимикачів і приводів до них. Розміщують їх тільки вертикально на стіні або на спеціальній конструкції.
Раму вимикача спочатку підвішують на двох болтах і вивіряють за рівнем і виском, потім поперемінно затягують болти, стежачи за пра вильним входженням ножів у пази дугогасних камер. Не допускається вмикання ножів вручну, оскільки це дуже небезпечно. Після остаточно го затягування кріпильних болтів ще раз переконуються у правильності входженням ножів у камери.
Привод розміщують позаду або спереду вимикача. Основною де таллю передачі від привода до вимикача є трубчаста тяга з двома вилками: одну з вилок з'єднують з важелем на валу вимикача, а другу — з секторним важелем привода.
Після встановлення вимикача на місце та закріплення рами перевіряють, чи нема перекосів і чи не порушена центрівка ножів. По ложення ножів регулюють поворотом ізоляторів осьових контактів. Хід ножів у камерах не повинен перевищувати 160 мм. Регулювання ходу здійснюють довжиною тяги.
Для випробування вимикача потужності проводять 25 вмикань і вимикань, після яких не повинно спостерігатися порушення регулюван ня роботи вимикача з приводом. За наявності в приводі електромагніта частину вимикань виконують дистанційно.
Вимикачі навантаження або роз'єднувачі потужності призначені для відключення струмів навантаження в електроустановках невеликої потужності на напругу 6-10 кВ у нормальному режимі. Від трьохполюсних роз'єднувачів для внутрішньої установки вони відрізняються прибудованими дугогасильними камерами з газогенерируючими вкладишами з органічного скла для гасіння малопотужної дуги, що виникає при відключенні, струму навантаження в кілька сотень амперів.
Під дією високої температури електричної дуги, утвореної при розмиканні контактів вимикача, органічне скло виділяє гази, що утворюють під тиском інтенсивний потік, що гасить дугу. Якщо вимикачі навантаження постачені прибудованими до них високовольтними кварцовими запобіжниками, то вони служать і для захисту від струмів короткого замикання. У типовому позначенні наявність запобіжників указується буквою П; наприклад, вимикач навантаження типу ВН-16 не має запобіжників, а типу ВНП-16 постачений запобіжниками.
Рис. 7. Вимикачі навантаження:
а – ВН-16; б – ВНП-16
Вимикач навантаження ВНП-17 відрізняється від ВНП-16 наявністю пристрою для автоматичного відключення при перегорянні вставок запобіжника будь-якої фази. Наявність заземлюючих ножів, позначається буквою З. На малюнку 7, а показані вимикачі навантаження ВН-16. На зварений з кутової сталі рамі 1 установлені шість порцелянових ізоляторів 2, на яких закріплені головна контактна система і дугогасильні камери 3. На трьох нижніх ізоляторах в осьових контактах розташовані осі обертання рухливих контактних ножів 4 із пружинами, що забезпечують необхідний контактний тиск. На трьох верхніх ізоляторах закріплені рознімні контакти і дугогасильні камери.
Порцелянові тяги 5 служать для з'єднання ножів з валом 6 вимикача через приварені до нього важелі. На валу також закріплені по дві відключаючи пружини, з кожної сторони і по одному гумовому буфері. Пружини забезпечують необхідну швидкість відключення після звільнення механізму вільного розчіплювання приводу, а буфери зм'якшують удар при відключенні, обмежуючи кут повороту вала. До рами вимикача прикріплені ножі заземлення за допомогою бічних пластин. З боку, протилежної ножам заземлення, на рамі встановлюється на болтах напіврама (скоба) із запобіжниками. До контактних ножів вимикача, називаним головними (на відміну від дугогасильних), сталевими власниками прикріплені гасильні ножі, що мають форму смуг, вигнутих по дузі окружності.
Дугогасильна камера виготовляється з пластмаси і складається з двох щік 7, стягнутих гвинтами. Усередині корпуса камери маються два вкладиші з органічного скла 8 і два нерухомих контакти 9. Дугогасильні ножі входять у пази дугогасильних камер. Форма паза в камері відповідає формі дугогасильного ножа.
Контактна система улаштована так, що при включенні спочатку замикаються дугогасильні контакти, тому що дугогасильний ніж має велику довжину, а при відключенні спочатку розмикаються головні контакти і потім дугогасильні. Замикання і розмикання головних контактів відбуваються в повітрі, а розмикання дугогасильних контактів відбувається в камерах. Вимикач ВНП-16 (малюнок 7, б) має запобіжники 10, що згоряють при короткому замиканні.
Керування вимикачами навантаження здійснюють: ручним приводом ПР-17; ручним автоматичним приводом ПРА-17, за допомогою якого можна відключати привід вимикача, і дистанційно наявним у ньому електромагнітом відключення; електромагнітними приводами, що забезпечують ручне чи дистанційне включення і дистанційне чи автоматичне відключення приводу вимикача.
Вимикачі навантаження улаштовані аналогічно трьохполюсним роз'єднувачам внутрішньої установки, тому ревізію, установку і регулювання вимикачів навантаження роблять тими ж методами, що і роз'єднувачів. Додатковою операцією є ревізія дугогасильної камери, запобіжників і механізму автоматичного відключення при перегорянні запобіжника (у вимикачів навантаження ВНП-17).
Установка вимикача навантаження допускається тільки у вертикальному положенні на стіні або на спеціальній конструкції. Раму вимикача спочатку підвішують на двох болтах і вивіряють за рівнем і схилом, визначають товщину необхідних прокладок і місця їхньої установки, потім приступають до поперемінної затягування болтів, одночасно стежачи за правильним улученням ножів у горловини дугогасильних камер. Після остаточного затягування кріпильних болтів потрібно ще раз переконатися в правильному входженні ножів у камери.
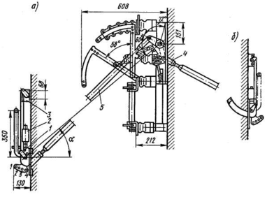
Усі зчленування з приводом виконують так само, як і при монтажі роз'єднувачів. На малюнку 8 показана установка вимикача навантаження з приводом ПРА-17. Після установки на місце вимикача і закріплення рами перевіряють відсутність перекосів і порушення центрування ножів і забезпечення послідовності включення і відключення головних і дугогасильних контактів. Регулювання повного входження в гасильні камери роблять шляхом зміни довжини тяги. Випробування вимикача навантаження роблять шляхом 25 включень і відключень, після яких не повинно спостерігатися порушення регулювання роботи вимикача з приводом.
Рис. 8. Установка вимикача навантаження з приводом ПРА-17:
















