148491 (594512), страница 2
Текст из файла (страница 2)
Розглянемо кілька варіантів комбінованих енергетичних установок на основі застосування ДВЗ. Оскільки в цьому випадку є два джерела механічної енергії (сам ДВЗ й електродвигун), розглядаються дві схеми енергопотоків: послідовна й паралельна. У послідовній схемі відбувається послідовне перетворення механічної енергії в електричну, а електричної знову в механічну. У паралельній схемі, тільки частина механічної енергії перетворюється в електричну, а інша частина механічної енергії передається безпосередньо на колеса.
1.2.1 Послідовна схема
Варіанти послідовної схеми наведені на рисунку 1.1. Застосування послідовної схеми комбінованої енергетичної установки дозволяє забезпечити роботу теплового двигуна на тому режимі, що має мінімальні значення витрати палива й викидів шкідливих речовин, причому в ідеальному випадку, можна здійснити повністю стаціонарний режим роботи двигуна. Тяговий електропривід у даній схемі повинен забезпечувати весь діапазон зміни потужності, необхідної для даних умов руху.
У послідовній схемі кінематичні зв'язки між ДВЗ і ведучими колесами принципово виключаються. Оскільки при цьому ДВЗ не може передавати момент до ведучих коліс, то, мабуть, потужність, передана в буферний накопичувач, повинна бути не менше, ніж середня потужність, необхідна для руху АТЗ, а потужність й електромагнітний момент тягового електропривода повинні дорівнювати максимальній потужності й максимальному моменту рушіїв.
Число провідних осей може бути різним (для звичайних АТЗ це відповідає колісній формулі 4x2 або 4x4), як і навантаження на осі. Для деяких АТЗ (тягачі, магістральні автопоїзди й ін.) перспективні багатовісні схеми з набагато більшим (п'ять і більше) числом осей, причому всі колеса можуть бути ведучими. У таких умовах установка механічних передач між ДВЗ і ведучими колесами затруднена; індивідуальний електропривід спрощує проблему. Можливе використання і в гібридних гусеничних АТЗ.
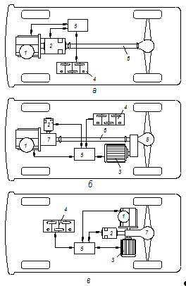
Рисунок 1.1 – Послідовна кінематична схема автомобіля з КЕУ: 1 – ДВЗ; 2 – мотор-генератор; 3 – тяговий електродвигун; 4 – акумуляторна батарея; 5 – система регулювання; 6 – карданна передача.
Виключення із привода КП, зчеплення й карданного вала дозволяє істотно знизити обертові маси й загальну масу силового устаткування. Зниження моменту інерції впливає на процес нерівномірно-поступального руху машини. Значний вплив на момент інерції обертових мас робить передавальне число передачі. Оскільки коефіцієнт врахування обертових мас пов'язаний з передаточним числом КП квадратичною залежністю, то зі зменшенням передаточного числа істотно знижуються умовна маса машини й необхідна для розгону потужність. Конструкторів приваблює можливість більш вільного компонування: не пов'язані з колесами ДВЗ і мотор-генератор можуть розміщатися там, де це найбільше зручно.
Відсутність кінематичного зв'язку ДВЗ із ведучими колесами дозволяє по-новому підійти до проектування ДВЗ і мотор-генератора. У зв'язку із цим відзначимо можливість створення вільнопоршневих (без колінчатого вала й кривошипно-шатунного механізму) ДВЗ і мотор-генераторів з лінійним переміщенням ротора.
Послідовна кінематична схема гібридних машин дозволяє застосовувати нові конструкторські рішення, нові компонування. Послідовна схема дає можливість виключити диференціал, що затрудняє побудову якісної системи керування рухом й погіршує керованість й прохідність АТЗ. Відзначимо, що така схема застосовується в конструкції важких АТЗ (наприклад, у кар'єрних самоскидах надвеликої вантажопідйомності). З'являється можливість виключення механічних редукторів, що зв'язують як ДВЗ із мотор-генератором, так і тяговий електропривід з ведучими колесами ("прямий" привід генератора й ведучих коліс). У гібридному АТЗ із мотор-колесами загальне зниження маси за рахунок виключення механічних вузлів, навіть із обліком додатково встановлюваних мотор-генератора й буферного накопичувача, може бути значним. Воно приводить до зменшення необхідної потужності ДВЗ і до додаткової економії палива. Економія, що досягається при цьому, може перекривати втрати, пов'язані з подвійним перетворенням енергії.
1.2.2 Паралельна схема
У паралельній схемі як електропривід може використовуватися мотор-генератор, з'єднаний з колінчатим валом ДВЗ, що дозволяє вимикати ДВЗ при нетривалій зупинці АТЗ і наступному пуску ДВЗ по команді водія почати рух (рисунок 1.2, а).
Мотор-генератор доцільно використовувати не тільки для швидкого пуску ДВЗ, але й для створення електротяги при рушанні АТЗ із місця. Причина цього очевидна: ДВЗ має високу паливну ефективність і малий рівень викидів в обмеженому діапазоні частот обертання, тому доцільно відбирати від нього потужність тільки після того, як машина вже набере деяку мінімальну швидкість. Мотор-генератор дозволяє "згладжувати" пульсації моменту, що розвиває ДВЗ (що сприятливо позначається на зниженні вібрацій), і збільшувати ресурс вузлів трансмісії. Одночасно може бути вирішена проблема дефіциту потужності бортової електромережі, характерна для сучасних АТЗ.
Кращі результати й більшу гнучкість керування дає схема з додатковими (крім мотор-генератора) тяговим електродвигуном з інвертором, редуктором і механічною муфтою (з електронним керуванням), що дозволяє реалізувати той або інший вид підведення моменту до ведучих коліс. Паралельна схема такого гібридного АТЗ наведена на рисунку 1.2, б.
Рисунок 1.2 – Паралельна кінематична схема автомобіля з КЕУ: 1 – ДВЗ; 2– мотор-генератор; 3 – тяговий електродвигун; 4 – акумуляторна батарея; 5 – система регулювання; 6 – карданна передача; 7 – планетарний механізм розподілу потоку потужності; 8 – диференціал.
Інший варіант паралельної схеми (рисунок 1.2, б) полягає у використанні механічного (від ДВЗ) і електромеханічного (від мотор-генератора, акумулятора через інвертор і тяговий електродвигун) каналів підведення моменту до різних ведучих коліс. Застосовуються й змішані кінематичні схеми (рисунок 1.2, в), у яких ДВЗ і мотор-генератор "працюють" на планетарну передачу (система СПЛІТ). У змішаній схемі потік потужності від двигунів до ведучих коліс розділяється: вал ДВЗ і вал електродвигуна – генератора з'єднані з роздільними входами планетарного редуктора (таку схему іноді називають "двопотоковою"). Крім того, вихідний вал планетарного редуктора з'єднаний з валом тягового електродвигуна. Така схема при відносно невеликих потужностях генератора й тягового електродвигуна дозволяє ефективно управляти потоками потужності й стабілізувати режим роботи ДВЗ. Саме за змішаною схемою виконана більшість тягово-силових установок сучасних комерційних легкових гібридних автомобілів.
У паралельній схемі крім використання електротяги на початковому етапі розгону можлива рекуперація кінетичної енергії АТЗ, при його гальмуванні з наступним використанням повернутої в акумулятор енергії; при пуску ДВЗ і при розгоні. Це дозволяє додатково заощаджувати паливо.
Раціональне співвідношення потужностей джерел енергії в паралельній кінематичній схемі (потужності ДВЗ й електродвигуна), а також енергоємності накопичувача залежать від того, у яких режимах буде експлуатуватися АТЗ. У випадку застосування його тільки для руху по швидкісній дорозі, де відносний час разгонів, гальмувань і зупинок незначний, наведені вище обґрунтування користі комбінації тяги ДВЗ й електропривода були б неважливі. Внаслідок більшого ККД механічної передачі й більших втрат енергії при її подвійному перетворенні (механічної енергії ДВЗ в електричну за допомогою мотор-генератора й електричної енергії в механічну за допомогою тягового привода) доцільно було б використати тільки ДВЗ і кінематичну схему традиційного АТЗ. Однак у реальних умовах руху завжди мають місце підйоми й спуски, повороти з гальмуванням, змінюється швидкість і напрямок вітрового навантаження, виникає необхідність обгону і т.д. Опір руху змінюється, що викликає необхідність змінювати режим роботи трансмісії й ДВЗ. Це супроводжується підвищеною витратою палива (за деякими оцінками до 30 %).
Для міських циклів руху нормовані величини пришвидшень, швидкостей, часу руху, пробігів і середня частота зупинок. Знаючи конкретні параметри застосовуваних машин, можна визначити оптимальне по витраті палива співвідношення потужностей ДВЗ й електропривода, а також оптимальні циклограми їхнього залучення в типовому режимі руху. Середня потужність у циклі міського руху істотно, в 3-5 разів, менша необхідної, для забезпечення динаміки розгонів, максимальної потужності. Це демонструє наявні резерви зниження потужності ДВЗ.
Із сказаного випливає, що найбільший ефект досягається при використанні АТЗ у міських умовах. При цьому види АТЗ досить різноманітні: легкові автомобілі, таксі й маршрутні автобуси, вантажні розвізні автомобілі й ін. По наявним експериментальним даним витрата палива в міському русі гібридними АТЗ знижується на 25-30 %, а в окремих випадках – до двох разів.
1.3 Висновки, постановка мети і задач роботи
Із сказаного вище випливає необхідність створення автомобілів, які б за параметрами екологічної безпеки і паливної економічності при порівняно невисокій вартості могли б створити гідну конкуренцію автомобілям з традиційними двигунами. Вирішенням цієї проблеми може бути створення автомобіля з комбінованою енергетичною установкою, де поряд із традиційним двигуном використовується електродвигун. Це дозволяє вирішити ряд проблем:
-
зниження витрати палива;
-
зниження викиду шкідливих речовин з відпрацьованими газами. Причому з’являється можливість руху тільки за рахунок електродвигуна у місцях, де це необхідно, що виключає можливість шкідливих викидів;
-
зниження шумів, що виробляються автомобілем;
-
використання енергії автомобіля при гальмуванні і русі накатом;
-
відмова від деяких традиційних вузлів (зчеплення, стартер, коробка передач).
На сьогоднішній час створено багато автомобілів з комбінованими енергетичними установками, проте ще далеко не всі потенційні можливості таких схем розкриті. Для досягнення максимальної ефективності комбінованої енергоустановки необхідно розробити оптимальні алгоритми керування вузлами і агрегатами автомобіля і, що є найскладнішим, створити електронні системи керування, які б працювали на цих алгоритмах. Ці питання на сьогоднішній день є актуальними й до кінця не вирішеними.
Тому метою роботи є проведення ряду досліджень комбінованої енергоустановки. Для дослідження використано вже існуючу комбіновану енергетичну установку, яка використовується на автомобілі Тойота Пріус, визнаного «найчистішим» автомобілем 2007 р.
Серед задач, які необхідно вирішити при дослідженні, слід виділити такі:
-
визначити алгоритм роботи електронного пристрою, який керує системою комбінованого приводу, і параметри, відносно яких здійснюється керування;
-
визначити ефективність роботи системи електродвигун-інвертор і додаткових систем, що беруть участь у керуванні системою комбінованого приводу;
-
дослідити пускові і робочі характеристики електродвигуна і генератора;
-
визначити втрати потужності, присутні в системі приводу і дослідити залежність їх зміни від температури мастильних і охолоджувальних рідин;
-
визначити параметри системи охолодження, яка запобігає перегріванню електропривода; температуру в різних точках системи.
Після вирішення цих задач можна обґрунтовано стверджувати про ефективність чи неефективність системи з комбінованою енергетичною установкою і окремих її складових.
2. Опис Дослідної комбінованої енергетичної установки
Дослідження комбінованої енергетичної установки проведено на прикладі автомобіля Тойота Пріус. Пріус – автомобіль нового покоління, який був введений в продаж 2003 року фірмою Тойота. Як гібридний транспортний засіб, Пріус використовує два джерела енергії – бензиновий двигун потужністю 57 кВт і електродвигун, що має живлення від батарей, здатний розвивати максимальну потужність 50 кВт. Об’єднання цих двох незалежних джерел дає підвищення паливної економічності і зменшення шкідливих викидів в порівнянні з традиційними автомобілями. Це досягається наступними енергозберігаючими властивостями Пріус:
-
зменшення втрат енергії досягається за рахунок вимикання ДВЗ, що працює в марному режимі;
-
використання кінетичної енергії при сповільненні і гальмуванні автомобіля, яка зазвичай втрачається, перетворюючись у теплову. Генератор і електродвигун в цей час перетворюють механічну енергію в електричну, яка потім використовується;
-
система електроприводу керується так, що при максимальних швидкостях використовуються найефективніші режими роботи ДВЗ;
-
додаткова потужність від електродвигуна використовується в процесі пришвидшення, коли ефективність ДВЗ низька;
-
оптимальна ефективність транспортного засобу досягається за рахунок використання електродвигуна, який керує транспортним засобом коли ефективність ДВЗ низька і виробляє електричну енергію (генераторний режим), коли ефективність ДВЗ висока.
Система приводу автомобіля Пріус – це трансмісія, що складається з електродвигуна, генератора і батареї. Основні складові Пріус зображені на рисунку 2.1. На цьому рисунку зображено механічну складову, яка називається механізмом автоматичного розподілу потужності (планетарна передача), що розділяє потужність ДВЗ на два потоки. В механічному потоці потужність ДВЗ передається на колеса транспортного засобу безпосередньо через механічну передачу. В електричному потоці, генератор перетворює механічну енергію ДВЗ в електричну. Електрична енергія прямує до електродвигуна чи для зарядки батареї, або те й інше разом. При такому використанні енергії немає необхідності в використанні зовнішнього джерела для зарядки батареї. Механізм розподілу потужності дозволяє ДВЗ функціонувати в околі його найефективніших режимів, незалежно від швидкості транспортного засобу, віддаючи потужність для обертання коліс і одночасно обертаючи ротор генератора. Фотографію гібридної системи приводу автомобіля Пріус показано на рисунку 2.2.
















