148370 (594490), страница 4
Текст из файла (страница 4)
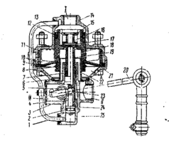
При оттормаживании давление в выводе I падает. Поршень 18 под давлением сжатого воздуха, действующим на него через мембрану 21 снизу, перемещается вверх и отрывает клапан 17 от выпускного седла толкателя 19. Сжатый воздух из вывода II выходит через отверстие толкателя и вывод III в атмосферу, отжимая при этом края резинового клапана 4.
Рисунок 10 – Автоматический регулятор тормозных сил
1 -труба; 2, 7 - кольца уплотнительные; 3 - корпус нижний; 4 - клапан; 5 - вал; 6, 15 - кольца упорные; 8 - пружина мембраны; 9 - шайба мембраны; 10 - вставка; 11 - ребра поршня; 12 - манжета; 13 - тарелка пружины клапана; 14 -корпус верхний; 16 - пружина; 17 - клапан; 18 - поршень; 19 - толкатель; 20 - рычаг; 21 - мембрана; 22 -направляющая; 23 - пята шаровая; 24 - поршень; 25 -колпачок направляющий; I - от тормозного крана; II - к тормозным камерам задних колес; III - в атмосферу
Элемент упругий регулятора тормозных сил предназначен для предотвращения повреждения регулятора, если перемещение мостов относительно рамы больше допустимого хода рычага регулятора.
Упругий элемент 5 регулятора тормозных сил установлен (рисунок 11) на штанге 6, расположенной между балками задних мостов определенным образом.
Точка соединения элемента со штангой 4 регулятора находится на оси симметрии мостов, которая не перемещается в вертикальной плоскости при скручивании мостов в процессе торможения, а также при односторонней нагрузке на неровной поверхности дороги и при перекосах мостов на криволинейных участках при повороте. При всех этих условиях на рычаг регулятора передаются только вертикальные перемещения от статического и динамического изменения осевой нагрузки.
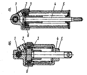
Устройство упругого элемента регулятора тормозных сил показано на рисунке 11. При вертикальных перемещениях мостов в пределах допустимого хода рычага регулятора тормозных сил шаровой палец 4 упругого элемента находится в нейтральной точке. При сильных толчках и вибрации, а также при перемещении мостов за пределы допустимого хода рычага регулятора тормозных сил стержень 3, преодолевая силу пружины 2, поворачивается в корпусе 1. При этом тяга 5, соединяющая упругий элемент с регулятором тормозных сил, поворачивается относительно отклоненного стержня 3 вокруг шарового пальца 4.
После прекращения действия силы, отклоняющей стержень 3, палец 4 под действием пружины 2 возвращается в исходное нейтральное положение.
Рисунок 11 – Элемент упругий регулятора тормозных сил
1 - корпус; 2 - пружина; 3 - стержень; 4 - палец шаровой; 5 -тяга регулятора
Четырехконтурный защитный клапан (рисунок 12) предназначен для разделения сжатого воздуха, поступающего от компрессора, на два основных и один дополнительный контуры: для автоматического отключения одного из контуров при нарушении его герметичности и сохранения сжатого воздуха в герметичных контурах; для сохранения сжатого воздуха во всех контурах при нарушении герметичности питающей магистрали; для питания дополнительного контура от двух основных контуров (до тех пор, пока давление в них не снизится до заданного уровня).
Четырехконтурный защитный клапан прикреплен к лонжерону рамы автомобиля.
Рисунок 12 – Клапан защитный четырехконтурный
1 - колпачок защитный; 2 - тарелка пружины; 3, 8, 10 -пружины; 4 - направляющая пружины; 5 - мембрана; 6 -толкатель; 7, 9 - клапаны; 11, 12 - винты; 13 - пробка транспортная; 14 - корпус; 15 – крышка
Сжатый воздух, поступающий в четырехконтурный защитный клапан из питающей магистрали, при достижении заданного давления открытия, устанавливаемого усилием пружин 3, открывает клапаны 7, воздействуя на мембрану 5, поднимает ее, и поступает через выводы в два основных контура. После открытия обратных клапанов сжатый воздух поступает к клапанам 7, открывает их и через вывод проходит в дополнительный контур.
При нарушении герметичности одного из основных контуров давление в этом контуре, а также на входе в клапан падает до заданной величины. Вследствие этого клапан исправного контура и обратный клапан дополнительного контура закрываются, предотвращая уменьшение давления в этих контурах. Таким образом, в исправных контурах будет поддерживаться давление, соответствующее давлению открытия клапана неисправного контура, излишнее количество сжатого воздуха при этом будет выходить через неисправный контур.
При отказе в работе дополнительного контура давление падает в двух основных контурах и на входе в клапан. Это происходит до тех пор, пока не закроется клапан 6 дополнительного контура. При дальнейшем поступлении сжатого воздуха в защитный клапан 6 в основных контурах будет поддерживаться давление на уровне давления открытия клапана дополнительного контура.
Ресиверы предназначены для накопления сжатого воздуха, производимого компрессором, и для питания им приборов пневматического тормозного привода, а также для питания других пневматических узлов и систем автомобиля.
На автомобиле КамАЗ установлено шесть ресиверов вместимостью по 20 л, причем четыре из них соединены между собой попарно, образуя два резервуара вместимостью по 40 л. Ресиверы закреплены хомутами на кронштейнах рамы автомобиля. Три ресивера объединены в блок и установлены на едином кронштейне.
Кран слива конденсата (рисунок 13) предназначен для принудительного слива конденсата из ресивера пневматического тормозного привода, а также для выпуска из него сжатого воздуха при необходимости. Кран слива конденсата ввернут в резьбовую бобышку на нижней части корпуса ресивера. Соединение между краном и бобышкой ресивера уплотнено прокладкой.
Рисунок 13 – Кран слива конденсата
1 - шток; 2 - пружина; 3 - корпус; 4 - кольцо опорное; 5 - шайба; 6 – клапан
Камера тормозная с пружинным энергоаккумулятором типа 20/20 показана на рисунке 14. Она предназначена для приведения в действие тормозных механизмов колес задней тележки автомобиля при включении рабочей, запасной и стояночной тормозных систем.
Пружинные энергоаккумуляторы вместе с тормозными камерами установлены на кронштейны разжимных кулаков тормозных механизмов задней тележки и закреплены двумя гайками с болтами.
При торможении рабочей тормозной системой сжатый воздух от тормозного крана подается в полость над мембраной 16. Мембрана 16, прогибаясь, воздействует на диск 17, который через шайбу и контргайку перемещает шток 18 и поворачивает регулировочный рычаг с разжимным кулаком тормозного механизма. Таким образом, торможение задних колес происходит так же, как и торможение передних с обычной тормозной камерой.
При включении запасной или стояночной тормозной системы, то есть при выпуске воздуха ручным краном из полости под поршнем 5, пружина 8 разжимается и поршень 5 перемещается вниз. Подпятник 2 через мембрану 16 воздействует на подпятник штока 18, который, перемещаясь, поворачивает связанный с ним регулировочный рычаг тормозного механизма. Происходит затормаживание автомобиля.
При оттормаживании сжатый воздух поступает через вывод под поршень 5. Поршень вместе с толкателем 4 и подпятником 2 перемещается вверх, сжимая пружину 8 и дает возможность штоку 18 тормозной камеры под действием возвратной пружины 19 вернуться в исходное положение.
Рисунок 14 – Камера тормозная типа 20/20 с пружинным энергоаккумулятором
1 - корпус; 2 - подпятник; 3 - кольцо уплотнительное; 4 - толкатель; 5 - поршень; 6 - уплотнение поршня; 7 - цилиндр энергоаккумулятора; 8 - пружина; 9 - винт механизма аварийного растормаживания; 10 -гайка упорная; 11- патрубок цилиндра; 12 - трубка дренажная; 13 - подшипник упорный; 14 - фланец; 15 -патрубок тормозной камеры; 16 - мембрана; 17 - диск опорный; 18 - шток; 19 - пружина возвратная
При чрезмерно большом зазоре между колодками и барабаном тормозного механизма, то есть при чрезмерно большом ходе штока тормозной камеры, усилие на штоке может оказаться недостаточным для эффективного торможения. В этом случае следует включить ручной тормозной кран обратного действия и выпустить воздух из-под поршня 5 пружинного энергоаккумулятора. Подпятник 2 под действием силовой пружины 8 продавит середину мембраны 16 и продвинет шток 18 на имеющийся дополнительный ход, обеспечив затормаживание автомобиля.
При нарушении герметичности и снижении давления в ресивере стояночной тормозной системы воздух из полости под поршнем 5 через вывод уйдет в атмосферу через поврежденную часть привода и произойдет автоматическое затормаживание автомобиля пружинными энергоаккумуляторами.
Цилиндры пневматические предназначены для приведения в действие механизмов вспомогательной тормозной системы.
На автомобилях КамАЗ установлено три пневматических цилиндра:
– два цилиндра диаметром 35 мм и ходом поршня 65 мм (рисунок 15), а) для управления дроссельными заслонками, установленными в выпускных трубопроводах двигателя;
– один цилиндр диаметром 30 мм и ходом поршня 25 мм (рисунок 15, б) для управления рычагом регулятора топливного насоса высокого давления.
Пневматический цилиндр 035x65 шарнирно закреплен на кронштейне при помощи пальца. Шток цилиндра резьбовой вилкой соединяется с рычагом управления заслонкой. При включении вспомогательной тормозной системы сжатый воздух от пневматического крана через вывод в крышке 1 (см. рис. 311, а) поступает в полость под поршнем 2. Поршень 2, преодолевая силу возвратных пружин 3, перемещается и воздействует через шток 4 на рычаг управления заслонкой, переводя ее из положения «ОТКРЫТО» в положение «ЗАКРЫТО». При выпуске сжатого воздуха поршень 2 со штоком 4 под действием пружин 3 возвращается в исходное положение. При этом заслонка поворачивается в положение «ОТКРЫТО».
Пневматический цилиндр 030x25 шарнирно установлен на крышке регулятора топливного насоса высокого давления. Шток цилиндра резьбовой вилкой соединен с рычагом регулятора. При включении вспомогательной тормозной системы сжатый воздух от пневматического крана через вывод в крышке 1 цилиндра поступает в полость под поршнем 2. Поршень 2, преодолевая силу возвратной пружины 3, перемещается и воздействует через шток 4 на рычаг регулятора топливного насоса, переводя его в положение нулевой подачи. Система тяг педали управления подачей топлива связана со штоком цилиндра таким образом, что при включении вспомогательной тормозной системы педаль не перемещается. При выпуске сжатого воздуха поршень 2 со штоком 4 под действием пружины 3 возвращается в исходное положение.
Рисунок 15 – Пневматические цилиндры привода заслонки механизма вспомогательной тормозной системы (а) и привода рычаг остановки двигателя (б)
1 - крышка цилиндра; 2 - поршень; 3 - пружины возвратные; 4 -шток; 5-корпус; 6 – манжета
Клапан контрольного вывода (рис. 312) предназначен для присоединения к приводу контрольно-измерительных приборов с целью проверки давления, а также для отбора сжатого воздуха. Таких клапанов на автомобилях КамАЗ установлено пять – во всех контурах пневматического тормозного привода. Для присоединения к клапану следует применять шланги и измерительные приборы с накидной гайкой М 16x1,5.
При измерении давления или для отбора сжатого воздуха отвернуть колпачок 4 клапана и навернуть на корпус 2 накидную гайку шланга, присоединенного к контрольному манометру или какому-либо потребителю. При наворачивании гайка перемещает толкатель 5 с клапаном, и воздух через радиальные и осевое отверстия в толкателе 5 поступает в шланг. После отсоединения шланга толкатель 5 с клапаном под действием пружины 6 прижимается к седлу в корпусе 2, закрывая выход сжатому воздуху из пневмопривода.
Рисунок 16 – Клапан контрольного вывода
1 - штуцер; 2 - корпус; 3 - петля; 4 - колпачок; 5 - толкатель с клапаном; 6 - пружина
Датчик падения давления (рисунок 17) представляет собой пневматический выключатель, предназначенный для замыкания цепи электрических ламп и звукового сигнала (зуммера) аварийной сигнализации при падении давления в ресиверах пневматического тормозного привода. Датчики с помощью наружной резьбы на корпусе вворачиваются в ресиверы всех контуров тормозного привода, а также в арматуру контура привода стояночной и запасной тормозных систем и при их включении загораются красная контрольная лампочка на щитке приборов и лампы сигнала торможения.
Датчик имеет нормально замкнутые центральные контакты, которые размыкаются при повышении давления выше 441,3... 539,4 кПа.
При достижении в приводе указанного давления мембрана 2 под действием сжатого воздуха прогибается и через толкатель 4 воздействует на подвижный контакт 5. Последний, преодолев усилие пружины 6, отрывается от неподвижного контакта 3 и разрывает электрическую цепь датчика. Замыкание контакта, а следовательно, включение контрольных ламп и зуммера, происходит при снижении давления ниже указанной величины.
















