148370 (594490), страница 3
Текст из файла (страница 3)
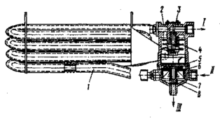
Сжатый поршнем воздух вытесняется в пневмосистему через расположенный в головке цилиндра пластинчатый нагнетательный клапан.
Головка охлаждается жидкостью, подводимой из системы охлаждения двигателя. Масло к трущимся поверхностям компрессора подается из масляной магистрали двигателя: к заднему торцу коленчатого вала компрессора и по каналам коленчатого вала к шатуну. Поршневой палец и стенки цилиндра смазываются разбрызгиванием.
При достижении в пневмосистеме давления 800–2000 кПа регулятор давления сообщает нагнетательную магистраль с окружающей средой, прекращая подачу воздуха в пневмосистему.
Когда давление воздуха в пневмосистеме снизится до 650–50кПа, регулятор перекрывает выход воздуха в окружающую среду и компрессор снова начинает нагнетать воздух в пневмосистему.
Рисунок 5 – Компрессор
1- шатун; 2 - палец поршня; 3 -маслосъемное кольцо; 4 - компрессионное кольцо;5 -корпус цилиндра компрессора; 6 - проставка цилиндра; 7 - головка цилиндра;8 - стяжной болт; 9 - гайка; 10 -прокладки; 11 - поршень; 12, 13 - уплотнительные кольца; 14 - подшипники скольжения; 15 - задняя крышка картера; 16 - коленчатый вал; 17 - картер; 18 -зубчатое колесо привода; 19 - гайка крепления зубчатого колеса; I - ввод; II - вывод в пневмосистему
Влагоотделитель предназначен для выделения конденсата из сжатого воздуха и его автоматического удаления из питающей части привода. Устройство влагоотделителя показано на рисунке 6.
Сжатый воздух от компрессора через подвод II подается в оребренную алюминиевую трубку-охладитель (радиатор) 1, где постоянно охлаждается потоком встречного воздуха. Затем воздух проходит по центробежным направляющим дискам направляющего аппарата 4 через отверстие пустотелого винта 3 в корпусе 2 к выводу I и далее в пневматический тормозной привод. Выделявшаяся за счет термодинамического эффекта влага, стекая через фильтр 5, скапливается в нижней крышке 7. При срабатывании регулятора давление во влагоотделителе падает, при этом мембрана 6 перемещается вверх. Клапан 8 слива конденсата открывается, скопившаяся смесь воды и масла через вывод III удаляется в атмосферу.
Направление потока сжатого воздуха показано стрелками на корпусе 2.
Рисунок 6 – Влагоотделитель
1 - радиатор с ребристыми трубками; 2 - корпус; 3 - винт пустотелый; 4 - аппарат направляющий; 5 - фильтр; 6 - мембрана; 7 - крышка; 8 - клапан слива конденсата; I - к регулятору давления; II - от компрессора; III - в атмосферу
Регулятор давления (рисунок 7) предназначен:
– для регулирования давления сжатого воздуха в пневмосистеме;
– предохранения пневмосистемы от перегрузки избыточным давлением;
– очистки сжатого воздуха от влаги и масла;
– обеспечения накачки шин.
Сжатый воздух от компрессора через вывод IV регулятора, фильтр 2, канал 12 подается в кольцевой канал. Через обратный клапан 11 сжатый воздух поступает к выводу II и далее в ресиверы пневмосистемы автомобиля. Одновременно по каналу 9 сжатый воздух проходит под поршень 8, который нагружен уравновешивающей пружиной 5. При этом выпускной клапан 4, соединяющий полость над разгрузочным поршнем 14 с атмосферой через вывод I, открыт, а впускной клапан 13 под действием пружины закрыт. Под действием пружины закрыт также и разгрузочный клапан 1. При таком состоянии регулятора система наполняется сжатым воздухом от компрессора. При давлении в полости под поршнем 8, равном 686,5... 735,5 кПа (7 ... 7,5 кгс/ см2), поршень, преодолев усилие уравновешивающей пружины 5, поднимается вверх, клапан 4 закрывается, впускной клапан 13 открывается.
Под действием сжатого воздуха разгрузочный поршень 14 перемещается вниз, разгрузочный клапан 1 открывается, и сжатый воздух из компрессора через вывод III выходит в атмосферу вместе со скопившимся в полости конденсатом. При этом давление в кольцевом канале падает и обратный клапан 11 закрывается. Таким образом, компрессор работает в разгруженном режиме без противодавления.
Когда давление в выводе II понизится до 608... 637,5 кПа, поршень 8 под действием пружины 5 перемещается вниз, клапан 13 закрывается, а выпускной клапан 4 открывается. При этом разгрузочный поршень 14 под действием пружины поднимается вверх, клапан 1 под действием пружины закрывается, и компрессор нагнетает сжатый воздух в пневмосистему.
Разгрузочный клапан 1 служит также предохранительным клапаном. Если регулятор не срабатывает при давлении 686,5... 735,5 кПа (7... 7,5 кгс/см2), то клапан 1 открывается, преодолев сопротивление своей пружины и пружины поршня 14. Клапан 1 открывается при давлении 980,7... 1274,9 кПа (10... 13 кгс/см2). Давление открытия регулируют изменением количества прокладок, установленных под пружиной клапана.
Для присоединения специальных устройств регулятор давления имеет вывод, который соединен с выводом IV через фильтр 2. Этот вывод закрыт резьбовой пробкой 3. Кроме того, предусмотрен клапан отбора воздуха для накачки шин, который закрыт колпачком 17. При навинчивании штуцера шланга для накачки шин клапан утапливается, открывая доступ сжатому воздуху в шланг и преграждая проход сжатого воздуха в тормозную систему. Перед накачиванием шин давление в ресиверах следует понизить до давления, соответствующего давлению включения регулятора, так как во время холостого хода нельзя произвести отбор воздуха.
Рисунок 7 – Регулятор давления
1 - клапан разгрузочный; 2 -фильтр; 3 - пробка канала отбора воздуха; 4 - клапан выпускной; 5 - пружина уравновешивающая; 6 - винт регулировочный; 7 - чехол защитный; 8 - поршень следящий; 9, 10, 12 - каналы; 11 - клапан обратный; 13 - клапан впускной; 14 - поршень разгрузочный; 15 - седло разгрузочного клапана; 16 - клапан для накачки шин; 17 -колпачок; I, III - выводы атмосферные; II - в пневмосистему; IV - от компрессора; С - полость под следящим поршнем; D - полость под разгрузочным поршнем
Двухсекционный тормозной кран (рисунок 8) служит для управления исполнительными механизмами двухконтурного привода рабочей тормозной системы автомобиля.
Рисунок 8 – Кран тормозной с приводом от педали
1 - педаль; 2 - регулировочный болт; 3 - защитный чехол; 4 - ось ролика; 5 - ролик; 6 - толкатель; 7 - опорная плита; 8 -гайка; 9 - тарелка; 10,16, 19, 27 - уплотнительные кольца; 11 - шпилька; 12 - пружина следящего поршня; 13, 24 -пружины клапанов; 14, 20 - тарелки пружин клапанов; 15 - малый поршень; 17 - клапан нижней секции; 18 -толкатель малого поршня;21 - атмосферный клапан; 22 -упорное кольцо; 23 - корпус атмосферного клапана; 25 -нижний корпус; 26 - пружина малого поршня; 28 -большой поршень; 29 - клапан верхней секции; 30 -следящий поршень; 31 - упругий элемент; 32 - верхний корпус; А - отверстие; В - полость над большим поршнем; I, II - ввод от ресивера; III, IV - вывод к тормозным камерам соответственно задних и передних колес
Управление краном осуществляется педалью, непосредственно связанной с тормозным краном.
Кран имеет две независимые секции, расположенные последовательно. Вводы I и II крана соединены с ресиверами двух раздельных контуров привода рабочей тормозной системы. От выводов III и IV сжатый воздух поступает к тормозным камерам. При нажатии на тормозную педаль силовое воздействие передается через толкатель 6, тарелку 9 и упругий элемент 31 на следящий поршень 30. Перемещаясь вниз, следящий поршень 30 сначала закрывает выпускное отверстие клапана 29 верхней секции тормозного крана, а затем отрывает клапан 29 от седла в верхнем корпусе 32, открывая проход сжатому воздуху через ввод II и вывод III и далее к исполнительным механизмам одного из контуров. Давление на выводе III повышается до тех пор, пока сила нажатия на педаль 1 не уравновесится усилием, создаваемым этим давлением на поршень 30. Так осуществляется следящее действие в верхней секции тормозного крана. Одновременно с повышением давления на выводе III сжатый воздух через отверстие А попадает в полость В над большим поршнем 28 нижней секции тормозного крана. Перемещаясь вниз, большой поршень 28 закрывает выпускное отверстие клапана 17 и отрывает его от седла в нижнем корпусе. Сжатый воздух через ввод I поступает к выводу IV и далее в исполнительные механизмы первого контура рабочей тормозной системы.
Одновременно с повышением давления на выводе IV возрастает давление под поршнями 15 и 28, в результате чего уравновешивается сила, действующая на поршень 28 сверху. Вследствие этого на выводе IV также устанавливается давление, соответствующее усилию на рычаге тормозного крана. Так осуществляется следящее действие в нижней секции тормозного крана.
При отказе в работе верхней секции тормозного крана нижняя секция будет управляться механически через шпильку 11 и толкатель 18 малого поршня 15, полностью сохраняя работоспособность. При этом следящее действие осуществляется уравновешиванием силы, приложенной к педали 1, давлением воздуха на малый поршень 15. При отказе в работе нижней секции тормозного крана верхняя секция работает как обычно.
Регулятор автоматический тормозных сил предназначен для автоматического регулирования давления сжатого воздуха, подводимого при торможении к тормозным камерам мостов задней тележки автомобилей КамАЗ в зависимости от действующей осевой нагрузки.
Автоматический регулятор тормозных сил установлен на кронштейне 1, закрепленном на поперечине рамы автомобиля (рисунок 9). Регулятор крепится на кронштейне гайками.
Рисунок 9 – Установка регулятора тормозных сил
1 - кронштейн регулятора; 2 - регулятор; 3- рычаг; 4 -штанга упругого элемента; 5 - элемент упругий; 6 -штанга соединительная; 7 - компенсатор; 8 - мост промежуточный; 9 - мост задний
Рычаг 3 регулятора с помощью вертикальной штанги 4 соединен через упругий элемент 5 и штангу 6 с балками мостов 8 и 9 задней тележки. Регулятор соединен с мостами таким образом, что перекосы мостов во время торможения на неровных дорогах и скручивание мостов вследствие действия тормозного момента не отражаются на правильном регулировании тормозных сил. Регулятор установлен в вертикальном положении. Длина плеча рычага 3 и положение его при разгруженной оси подбираются по специальной номограмме в зависимости от хода подвески при нагружении оси и соотношения осевой нагрузки в груженом и порожнем состоянии.
Устройство автоматического регулятора тормозных сил показано на рисунке 10. При торможении сжатый воздух от тормозного крана подводится к выводу I регулятора и воздействует на верхнюю часть поршня 18, заставляя его перемещаться вниз. Одновременно сжатый воздух по трубке 1 поступает под поршень 24, который перемещается вверх и прижимается к толкателю 19 и шаровой пяте 23, находящейся вместе с рычагом 20 регулятора в положении, зависящем от величины нагрузки на ось тележки. При перемещении поршня 18 вниз клапан 17 прижимается к выпускному седлу толкателя 19. При дальнейшем перемещении поршня 18 клапан 17 отрывается от седла в поршне и сжатый воздух из вывода I поступает в вывод II и далее к тормозным камерам мостов задней тележки автомобиля.
Одновременно сжатый воздух через кольцевой зазор между поршнем 18 и направляющей 22 поступает в полость А под мембрану 21 и последняя начинает давить на поршень снизу. При достижении на выводе II давления, отношение которого к давлению на выводе I соответствует соотношению активных площадей верхней и нижней сторон поршня 18, последний поднимается вверх до момента посадки клапана 17 на впускное седло поршня 18. Поступление сжатого воздуха из вывода I к выводу II прекращается. Таким образом осуществляется следящее действие регулятора. Активная площадь верхней стороны поршня, на которую воздействует сжатый воздух, подведенный к выводу 7, остается всегда постоянной.
Активная площадь нижней стороны поршня, на которую через мембрану 21 воздействует сжатый воздух, прошедший в вывод II, постоянно меняется из-за изменения взаимного расположения наклонных ребер 11 движущегося поршня 18 и неподвижной вставки 10. Взаимное положение поршня 18 и вставки 10 зависит от положения рычага 20 и связанного с ним через пяту 23 толкателя 19. В свою очередь положение рычага 20 зависит от прогиба рессор, то есть от взаимного расположения балок мостов и рамы автомобиля. Чем ниже опускается рычаг 20, пята 23, а следовательно, и поршень 18, тем большая площадь ребер 11 входит в контакт с мембраной 21, то есть больше становится активная площадь поршня 18 снизу. Поэтому при крайнем нижнем положении толкателя 19 (минимальная осевая нагрузка) разность давлений сжатого воздуха в выводах I и II наибольшая, а при крайнем верхнем положении толкателя 19 (максимальная осевая нагрузка) эти давления выравниваются. Таким образом, регулятор тормозных сил автоматически поддерживает в выводе II и в связанных с ним тормозных камерах давление сжатого воздуха, обеспечивающее нужную тормозную силу, пропорциональную осевой нагрузке, действующей во время торможения.
















