147591 (594384), страница 12
Текст из файла (страница 12)
Маслопродукты, попадающие в сточные воды в процессе эксплуатации и обслуживания техники, представлены в основном смазочными маслами и в небольшом количестве - автомобильными бензинами и дизельным топливом. Состав их определен типом и назначением машин. Основная масса содержащихся в сточных водах нефтепродуктов (85,4%) представлена частицами размером 140—200 мкм, и их удаление из сточных вод путем отстаивания и фильтрования не представляет особых затруднений. Гораздо труднее удалить частицы размером 3-100 мкм, находящиеся в растворенном или взвешенном состоянии. Существенную помощь в этом может оказать передвижная установка для очистки маслосодержащих сточных вод, разработанная (А. с. СССР № 4901908, МКИ С 02 Р 1/24, 1/40).
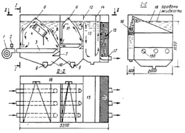
Установка (рисунок 1) включает трехсекционный горизонтальный отстойник, имеющий наклонные перегородки с переломами в горизонтальной и вертикальной плоскостях, камеру для сбора маслопродуктов, фильтр тонкой очистки, гидроэжекторы для вывода шлама из шламонакопителей, насосную установку с эжектором подачи воздуха.
Для удаления из сточных вод основной массы взвешенных веществ и маслопродуктов служит горизонтальный отстойник с элементами флотатора.
Флотация сточных вод предназначена для интенсификации процесса всплывания маслопродуктов при обволакивании их частиц пузырьками воздуха, подаваемого в сточную воду. В основе процесса – молекулярное слипание частиц масла и пузырьков тонкодиспергированного в воде воздуха. Образование агрегатов ,,частица-пузырьки воздуха” зависит от их столкновения друг с другом и т.д.
Блок тонкослойного отстаивания имеет наклонные перегородки с переломами в вертикальной и горизонтальной плоскостях. Отстойник разделен вертикальными перегородками на две флотационные и одну отстойную камеры. Наличие в устройстве наклонных перегородок (четыре перелома с углами соответственно для первой флотационной камеры 60°, 45°, 95°, 40°, для второй — 65°. 55°, 95°. 40°) позволяет увеличить длину прохождения очищаемой водой периметра флотационной камеры, и степень выделения из объема маслопродуктов.
Равномерное распределение стоков по площади поперечного сечения отстойника достигается с помощью распределительных трубопроводов, подающих стоки к противоположной стенке камеры.
Устройство работает следующим образом. Насосная установка подает сточные воды в распределительные трубопроводы. При помощи эжектора, установленного на напорном патрубке насоса, жидкость насыщается воздухом. Пройдя распределительные трубопроводы, стоки поступают в нижнюю часть первой флотационной камеры и под действием отражателя направляются вдоль наклонной перегородки. В ходе движения жидкости происходит ее расслоение, причем маслопродукты, взаимодействуя с пузырьками воздуха, начинают интенсивно выделяться на внешней стороне потока, а взвешенные вещества под действием гравитационных сил оседают на дно камеры и собираются в шламонакопителе.
Для повышения степени очистки сточных вод от маслопродуктов средние слои потока направляются на установленный в верхней части камеры блок тонкослойного отстаивания, вследствие этого уменьшается влияние на процесс отстаивания вихревых зон. Блок тонкослойного отстаивания представляет собой пакет параллельных пластин из винипласта с наружным каркасом из стальных уголков. Вместо пластин можно применять наклонные пучки труб диаметром до 40 мм. Маслопродукты скапливаются в маслонакопителе, образованном с боков и сверху стенками наклонной перегородки, в нижней части - уровнем жидкости в сооружении. Под действием поступающей в камеру новой порции сточных вод маслопродукты, скопившиеся в маслонакопителе, периодически сбрасываются в маслосборник, а осветленная жидкость по трубопроводам подается во вторую камеру, где процесс повторяется.
Пройдя вторую флотационную камеру, жидкость поступает в третью (отстойную) камеру, где происходит дополнительное отстаивание, а затем через гидрозатвор жидкость поступает в фильтр тонкой очистки. В качестве основного заполнителя фильтра используется дробленый керамзит, можно использовать также пенополиуретан, сипрон, кокс и др. Регенерация фильтрующей загрузки производится очищенной водой. Фильтрующая загрузка устанавливается в специальный отсек, конструктивно являющийся продолжением отстойной камеры.
1 — насосная установка; 2 — эжектор для подачи воздуха в распределительный трубопровод; 3 — распределительный трубопровод; 4 — первая флотационная камера; 5 — блок тонкослойного отстаивания; 6 — маслонакопитель; 7 — отражатель; 8 — наклонная перегородка; 9 — водоэжектор; 10 — шламонакопитель; 11 — вторая флотационная камера; 12 — вертикальная перегородка; 13 — отстойная камера; 14 — вертикальная перегородка; 15 — фильтр тонкой очистки; 16 — маслосборник; 17 — выводной трубопровод; 18 — перелом наклонной перегородки.
Рисунок 4.2 - Установка для очистки маслосодержащих сточных вод
Гидроэжекторы для вывода шлама устанавливаются в нижней части камер флотации (шламонакопителях) и предназначены для вывода из сооружения отстоявшихся взвешенных веществ. Рабочей жидкостью для гидроэжекторов является вода, используемая для обслуживания и мойки строительной техники. Шлам удаляется периодически, по мере накопления, а затем вывозится с площадки в места утилизации.
Предлагаемая технология очистки сточных вод базируется на новой, более совершенной комплексной методике и реализуется с помощью простого в эксплуатации и обслуживании оборудования, которое при необходимости может быть изготовлено предприятием самостоятельно.
Установка может использоваться как элемент (модуль) очистного сооружения. Для улучшения характеристик установки возможно оснащение ее дополнительным оборудованием, выпускаемым серийно: гидроциклонами, компрессором, смесительными насадками на распределительные трубопроводы и др. При компоновке сооружения конструктивно в одном блоке (модуле) оно достаточно эффективно и сама по себе, и в составе системы очистных сооружений.
Представленная в дипломном проекте установка по очистке сточных вод от маслопродуктов, наряду с другими аналогичными установками имеет ряд преимуществ: простота конструкции, надежность, применение 2-х флотационных камер, наличие фильтра тонкослойной очистки, наличие наклонных перегородок, что позволяет увеличить длину прохождения очищаемой водой периметра флотационной камеры, а, следовательно, и степень выделения из объема маслопродуктов.
Опытная эксплуатация экспериментальных образцов очистного модуля показала высокую эффективность. Производительность установки 5 м3/ч, концентрация загрязнений в воде после очистки в установке составляет по взвешенным веществам 18 мг/л, по маслопродуктам 10—15 мг/л. Масса установки без дополнительного оборудования около 3 т, толщина листа корпуса 3 мм.
В разделе безопасность и экологичность ОАО «Горшечноеавтотранс» обозначим следующие выводы:
-в пункте «Анализ потенциально возможных травмирующих и вредных воздействий» выявлены возможные травмирующие и вредные воздействия на предприятии, а также их источники;
-в пункте «Обеспечение комфортных условий деятельности человека» произведена оценка тяжести и напряженности трудового процесса, установлено, что на ОАО «Горшечноеавтотранс» оценка тяжести и напряженности трудового процесса составляет 3.2 балла и относится к 3 классу;
-в пункте «Создание нормативных параметров микроклимата» обозначены необходимые на предприятии нормы шума, вибрации, предельно допустимые концентрации (ПДК) вредных веществ в воздухе помещений, а также указанны необходимые требования по освещению производственных участков и корпусов;
-в пункте «Пожарная безопасность» определены категория помещения по пожарной опасности, корпус по ТО автомобилей ОАО «Горшечноеавтотранс» относится к категории В-4, что является пожароопасным; а также произведен расчет времени эвакуации людей при пожаре, для помещения ТО автомобилей время эвакуации составляет 0,02 мин, что обеспечивает своевременную эвакуацию людей в случае пожара; для пункта «Реализация системы противопожарной защиты на основе выполнения требований по электроустановкам», разработаны требования пожарной безопасности к электроустановкам зданий, сооружений и строений; а также произведен расчет максимальной токовой защиты для помещения с электрооборудованием, для одного энергопотребителя и для всех потребителей питающихся от магистральной линии электроэнергии;
-в пункте «Организация рабочего места по сборке узлов с обеспечением требований эргономики и инженерной психологии» раскрыта сущность понятия об эргономике и инженерной психологии; разработана и представлена графически рациональная организация рабочего места по техническому обслуживанию и ремонту автомобилей;
-в пункте «Применение устройств и средств по очистке сточных вод от маслопродуктов» представлена экспериментальная установка по очистке сточных вод от маслопродуктов, при испытаниях установка показала высокую эффективность. Производительность установки 5 м3/ч, концентрация загрязнений в воде после очистки в установке составляет по взвешенным веществам 18 мг/л, по маслопродуктам 10—15 мг/л.
5.1 Расчет стоимости приспособления для сборки-разборки двигателя КамАЗ 740.10-Д
5.1.1 Затраты на проектирование приспособления для сборки-разборки двигателя КамАЗ 740.10-Д
Затраты, необходимые на проектирование приспособления, сведем в таблицу 5.1.
Таблица 5.1 - Затраты, необходимые на проектирование приспособления для сборки-разборки двигателя КамАЗ 740.10-Д
| № п/п | Наименование работ | Исполни-тель | Количество исполнителей | Трудо-емкость, чел∙ч | Затраты, руб. | ||
| чел∙ч | Всего | ||||||
| 1 | Подготовка исходного материала | Инженер | 1 | 16 | 70,3 | 1124,8 | |
| 2 | Патентный поиск | Инженер | 1 | 40 | 70,3 | 2812 | |
| 3 | Разработка принципиаль-ной схемы | Инженер | 1 | 8 | 70,3 | 562,4 | |
| 4 | Разработка рабочих чертежей | Чертежник | 1 | 16 | 70,3 | 1124,8 | |
| 5 | Проведение расчетов | Инженер | 1 | 16 | 70,3 | 1124,8 | |
| 6 | Испытание образца | Инженер | 1 | 8 | 70,3 | 562,4 | |
| 7 | Проверка расчетов | Инженер | 1 | 8 | 70,3 | 562,4 | |
| 8 | Составление документации | Инженер | 1 | 16 | 70,3 | 1124,8 | |
| Итого: Основная заработная плата Дополнительная заработная плата (15 %) Общий фонд заработной платы ЕСН (26 %) Зарплата на проектирование приспособления Накладные расходы (100 % от основной заработной платы) Итого: | 8998,4 1349,76 10348,2 2690,5 13038,7 8998,4 22037,1 | ||||||
Определим суммарные затраты на техническую подготовку
, (5.1)
где
- затраты на заработную плату;
N – количество приспособлений.
















