205009 (594098), страница 2
Текст из файла (страница 2)
Число проступей: n= 11 шт.
Длина горизонтальной проекции марша: Lм=3520 мм.
Ограждение на лестницах устраиваются металлические с деревянными поручнями. Стойки ограждения привариваются к закладным деталям марша. Высота ограждения лестницы составляет 900 мм. Перед входом в здание устраивается бетонная лестница.
Кровля.
В здании запроектирована скатная кровля из металлочерепицы. Металлочерепица марки: МП МОНТЕРРЕЙ (высота профиля – 39мм, толщина листа – 0,5мм, длина профилированного листа – до 8м). Угол наклона стропил <=30°.
Кровля выполняется в облегченном варианте. В качестве стропил применяются доски 150·50мм сбитые друг с другом по всей длине с помощью бобышек такого же сечения. Таким образом конечный размер стропил 150·150мм; Подкос – 100·100мм. Также применяют затяжки для придания дополнительной жесткости кровле – бруски 150·50мм; Обрешетка из брусков 100·32мм с шагом 350мм; Стропильная система скрепляется с помощью гвоздей К.5.0·150.
Крепление металлочерепицы выполняют самонарезающими шурупами RА 4,8·6 в перегибе волны профиля ниже поперечной канавки. Расход: 5-6 шурупов на м2, крепление края на каждой второй волне. Монтаж же самой черепицы начинают с торца двускатной кровли (с точки соприкосновения скатов и скоса вальмовой крыши).
В здании предусмотрен организованный водоотвод атмосферных осадков в виде подвесных желобов и водосточных труб.
Полы. Экспликация полов
В помещениях здания принимаются следующие типы полов:
-санузел – плиточный
-помещения персонала – паркетные
-каридоры, тамбуры – мазаичные
-помещения обслуживания – плиточный
Таблица 1.4 – Экспликация полов
| Помещения | Тип пола | Схема пола | Элементы и их толщина | М2 |
| 1,2,10 | Мозаичный | | Покрытие мозаичное 35 Стяжка 40 Гидроизоляция Утеплитель легкий бетон 200 Слой бетона 100 Песчаная подсыпка 600 Естественный грунт | 74,34 |
| 3,4,5,6,7,8, 9,11,13,14 | Плиточный | | Керамическая плитка 13 Прослойка из цем.-песч. р-ра 15 Стяжка 40 Гидроизоляция Утеплитель легкий бетон 200 Слой бетона 100 Песчаная подсыпка 600 Естественный грунт | 127,94 |
| 12 | Паркетные | | Паркетная доска22 Слой фанеры Стяжка 40 Гидроизоляция Утеплитель легкий бетон 200 Слой бетона 100 Песчаная подсыпка 600 Естественный грунт | 10,66 |
| 15,16,19,26 | Мозаичный | | Покрытие Мозаичное 35 Стяжка 40 Плита Ж/Б 220 | 67,65 |
| 17,18,20, 21,22 | Плиточный | | Керамическая плитка 13 Стяжка из цем.-песч. р-ра 20 Слой гидроизоляции Стяжка из цем.-песч. р-ра 20 Плита Ж/Б 220 | 99,67 |
| 23 | Паркетные | | Паркетная доска22 Слой фанеры Стяжка из цем.-песч. р-ра 20 Плита Ж/Б 220 | 13,26 |
| 24,25 | Плиточный | | Плитка керамическая 13 Бетонная стяжка 40 Гидроизоляция Слой бетона для создания уклона Плита Ж/Б 220 | 25,16 |
| Чердак | Бетонный | | Стяжка 40 Утеплитель 360 Пароизоляция 1слой Плита Ж/Б | 275,02 |
До устройства полов выполнить монтаж скрытых инженерных коммуникаций. Полы в санузлах выполнять ниже уровня полов основных помещений, на лестничной клетке и коридорах подъезда – выше уровня основных помещений.
Окна и двери. Спецификация элементов заполнения проемов
Естественное освещение помещений обеспечивается через окна. В здании приняты окна ПВХ с тройным стеклопакетом.
Входные двери двупольные. Коробка усиленная, навеска на три петли. По периметру дверной коробки устраивается пенополиуретановая уплотняющая прокладка. Внутренние двери помещения имеют обвязанное полотно, дверные коробки без прогонов. Навеска на две петли. Расход дюбелей на установку двери – 6шт.
Таблица 1.5 – Спецификация элементов заполнения проемов
| Поз. | Обозначение | Наименование | Количество на этаж | ||
| 1 | 2 | Всего | |||
| Окна | |||||
| ОК1 | СТБ 1108-98 | ОП3С 16-16ПГ | 7 | 7 | 14 |
| ОК2 | ОП3С 16-13ПГ | 3 | 4 | 7 | |
| ОК3 | ОП3С 16-10ПГ | 3 | 4 | 7 | |
| Двери | |||||
| 1 | --- | ДНДГ 21-15 | 1 | - | 1 |
| 2 | СТБ 1138-98 | ДВДГ 21-12 | 1 | 1 | 2 |
| 3 | --- | ДВДО 21-9 | 4 | 2 | 6 |
| 4 | --- | ДВДГ 21-9 | 7 | 9 | 16 |
| 5 | --- | ДВДГ 21-7 | 2 | 4 | 6 |
| 6 | СТБ 939-93 | БДР 21-9 | 1 | - | 1 |
1.4 Наружная и внутренняя отделка здания
Внешняя отделка здания заключается в расшивке швов. Цоколь отделан улучшенной штукатуркой. Внутри здания стены, перегородки и откосы оштукатуриваются. На лестничной клетке, в общих коридорах и помещениях бытового обслуживания стены окрашиваются масляной краской на высоту 1,7м от пола, остальное расстояние окрашивается известковой краской; помещения персонала оклеиваются обоями по заранее оштукатуренным стенам. Потолки в здании окрашиваются водными составами. Двери покрываются двумя слоями масляной краски. Радиаторы отопления окрашиваются под тон стен два раза масляной краской.
| Наименование помещений | Вид отделки элементов интерьеров | Примеч | ||||||
| Потолок | Площ., м2 | Стены и перегородки | Площ., м2 | Панели | Площ., м2 | |||
| 1-11,13-22,26 | Окраска на водной основе | 369,6 | Окраска | 781,1 | - | - | ||
| 12,23 | Окраска на водной основе | 23,97 | Оклейка обоями | 136,8 | - | - | ||
| 24,25 | Окраска на водной основе | 25,16 | Облицовка плиткой | 122,3 | - | - | ||
1.5 Инженерное оборудование здания
Проект разработан в соответствии со СНиП 2.04.01-85 «Внутренний водопровод и канализация зданий», СНиП 2.08.02-89 «Общественные здания и сооружения».
Монтаж санитарно-технических систем должен производится в строгом соответствии со СНиП 3.05.01-85 «Внутренние санитарно-технические системы».
Отопление – центральное от наружных тепловых сетей. Система отопления однотрубная с нижней разводкой. Система отопления предполагается с автоматическим пуском тепла, вертикальная с чугунными нагревательными приборами типа МС-140 и прокладкой магистральных трубопроводов в подвале. Установка запорной арматуры предусматривается: на вводах, у основания стояков, на подводках к санитарно-техническим приборам.
Водопровод – хозяйственно-бытовой от наружной сети. Система внутреннего водопровода выполнена из металлических труб диаметром 32 мм. Отвод хозяйственных стачных вод предусматривается во внешнюю канализацию через выпуски диаметром
100 мм. Внутренняя канализационная сеть проектируется из чугунных труб по ГОСТ 69.42.3-80 диаметром 100 мм.
Электроснабжение – от наружной сети напряжением 380/220 В.
Слаботочные устройства – радио, телефон.
Устройства связи – радиотрансляция, телетрансляция.
Освещение – естественное через окна и искусственное от люминесцентных ламп.
Вентиляция – приточно-вытяжная, приток с механическим побуждением, вытяжка – естественная.
Таблица 1.7 – Спецификация основных сборных индустриальных элементов
| Поз. | Обозначение | Наименование | Кол. | Масса, кг | Прим., Vбет. | ||||||
| Плиты перекрытия | |||||||||||
| 1 | Серия Б1.041.1-3 | ПК72.12 | 22 | 3200 | 2.16 | | |||||
2 | Серия 1.141-3 в1 | ПК51.12 | 4 | 1800 | 1.33 | | |||||
3 | Серия 1.141-1 в1 | ПК60.12 | 26 | 2100 | 1.57 | | |||||
4 | Серия Б1.041.1-3 | ПК60.15 | 8 | 2800 | 1.97 | | |||||
5 | Серия Б1.041.1-3 | ПК56.15 | 2 | 2600 | 1.85 | | |||||
6 | Серия 88Р10.2-1 | ПК30.12 | 2 | 1080 | 0.78 | | |||||
7 | Серия Б1.041.1-3 | ПК30.15 | 6 | 1425 | 0.97 | | |||||
Лестничные площадки | | ||||||||||
1 | Серия 1.252.1-4 | ЛПФ 28.11-5 | 2 | 1100 | 0,438 | | |||||
2 | Серия 1.252.1-4 | ЛПФ 14.11-3 | 2 | 985 | 0,325 | ||||||
| Лестничные марши | |||||||||||
| 2 | Серия 1.151.1-6 | 2ЛМФ39.12.17 | 4 | 1520 | 0,607 | | |||||
Фундаментные подушки | | ||||||||||
1 | Серия Б1.0112.1-1.99 | ФЛ12.24-1-4 | 9 | 2060 | 0,82 | | |||||
2 | Серия Б1.0112.1-1.99 | ФЛ12.12-1-4 | 1 | 0,78 | 0,31 | | |||||
3 | Серия Б1.0112.1-1.99 | ФЛ10.24-1-4 | 16 | 1,38 | 0,55 | | |||||
4 | Серия Б1.0112.1-1.99 | ФЛ10.12-1-4 | 5 | 0,65 | 0,26 | | |||||
5 | Серия Б1.0112.1-1.99 | ФЛ8.24-1-4 | 18 | 1,15 | 0,46 | | |||||
6 | Серия Б1.0112.1-1.99 | ФЛ8.12-1-4 | 15 | 0,5 | 0,2 | | |||||
Фундаментные блоки | | ||||||||||
7 | Б1.016.1-1 в1.98 | ФБС24.4.6 | 31 | 1300 | 0.543 | | |||||
8 | Б1.016.1-1 в1.98 | ФБС24.5.6 | 49 | 1630 | 0.679 | | |||||
9 | Б1.016.1-1 в1.98 | ФБС12.4.6 | 17 | 640 | 0.265 | | |||||
10 | Б1.016.1-1 в1.98 | ФБС12.5.6 | 36 | 790 | 0.331 | | |||||
Плиты вент. шахт | | ||||||||||
1 | Б1.134-7вып.1 | ВП-З | 2 | 240 | 0,095 | | |||||
Экспликация помещений
| № | Наименование | Площадь м2 |
| 1 | Помещения для посетителей | 56.85 |
| 2 | Бюро обслуживания | 6.01 |
| 3 | Ремонт часов | 6.3 |
| 4 | Ремонт сложной бытовой техники | 23.56 |
| 5 | Женский зал парикмахерской | 19.72 |
| 6 | Помещение мытья и окраски волос | 8.92 |
| 7 | Подсобная, кладовая | 9.62 |
| 8 | Мужской зал парикмахерской | 10.36 |
| 9 | Изготовление и ремонт обуви | 17.68 |
| 10 | Кладовая | 11.48 |
| 11 | Помещение звукозаписи | 7 |
| 12 | Комната персонала | 10.66 |
| 13 | Электрощитовая | 3.5 |
| 14 | Венткамера, тепловой узел | 21.28 |
| 15 | Кладовая инвентаря | 3.75 |
| 16 | Коридоры, тамбуры | 13.05 |
| 17 | Изготовление одежды и головных уборов | 26.36 |
| 18 | Примерочная кабина | 4.6 |
| 19 | Кладовые | 12.2 |
| 20 | Зал фотосъемки для документов | 17.68 |
| 21 | Зал для групповой съемки | 37.4 |
| 22 | Помещение для обработки фотоматериалов | 13.63 |
| 23 | Контора | 13.26 |
| 24 | Гардеробные с душевыми | 20.06 |
| 25 | Уборные | 5.1 |
| 26 | Коридоры | 38.65 |
2 Расчетно-конструктивная часть
2.1 Расчет железобетонной плиты перекрытия ПК 51.12.
Исходные данные.
По степени ответственности здание относится ко второму классу (коэффициент надежности по назначению конструкций γn=0,95.). По условиям эксплуатации ХО. Номинальные размеры плиты B=1,2м,L=5,1м. Конструктивные размеры Lк=5,08м, Bк=1,19м. Плита с предварительным напряжением изготовлена из бетона класса С20/25 с рабочей арматурой S800, натягиваемой электротермическим способом на упоры форм.
Подсчет нагрузок на 1м2 перекрытия.
Таблице 2.1 – Подсчет нагрузок на 1м2 перекрытия
| Вид нагрузки | Нормативная нагрузка кН/м2 | Частный коэффициент безопасности по нагрузке γf | Расчётная нагрузка кН/м2 |
| Постоянная 1. Стяжка цементно-песчаная. 0,02·20 кН/м3 2. Утеплитель. 0,3 · 4 кН/м3 3. Пароизоляция. 0,003·6 кН/м3 4. Ж/б плита. 0,11·25 кН/м3 | 0,4 1,2 0,018 2,75 | 1,35 1,35 1,35 1,15 | 0,54 1,62 0,024 3,71 |
| Итого постоянная | gк=4,37 | gd=5,89 | |
| Временная | qк=0,7 | 1,5 | qd=1,05 |
| Полная нагрузка | gк+qк=5,07 | gd+qd=6,94 |
Расчетная нагрузка на 1 м длины плиты при ширине B=1,2м.
(gd + qd ) = 6,94 кН/м2 · 1,2м = 8,33 кН.
Определение расчетного пролета панели.
Рисунок 2.1 - Определение расчетного пролета leff
leff = 5200 - (200+190) +
· 135 +
· 135 = 4000 мм = 4,9м.
Определение расчетной схемы панели и максимальных расчетных усилий Msd,max, Vsd,max .
Максимальный изгибающий момент:
Мsd.max =
(2.1)
Мsd.max=
= 25 кН∙ м
Максимальная поперечная сила:
Vsd,max =
(2.2)
Vsd.max=
= 20,41 кН∙м.
Рисунок 2.2 - Расчетная схема панели и эпюры “Msd” и ”Vsd”.
Определение размеров расчетного (эквивалентного) сечения.
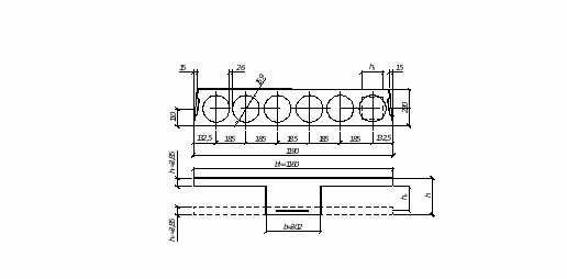
Рисунок 2.3 – Действительное и расчетное поперечное сечение плиты
Для получения расчетного (эквивалентного) сечения круглые пустоты панели заменяются на квадратные равной площади со стороной квадрата равной:
h1 = 0,9 ∙ d = 0,9 ∙ 159 = 143,1 мм. h’f =
=
= 38,45 мм = 3,845 см;
bw = b’f – n ∙ h1 = 1460 – 6 ∙ 143,1 = 601,4мм = 60,14 см.
Расчет рабочей арматуры.
Расчетное сечение тавровое, геометрические размеры которого показаны на ри-сунке 2.6. Бетон тяжелый класса С20/25, для которого fsk = 20МПа.
fсd =
=
= 13,33 МПа.
где γс – частный коэффициент безопасности для бетона.
Рабочая арматура класса S800, для которой fpk = 800 МПа, fpd = 640 МПа (таблица 6.6)[1]. Расчет рабочей арматуры плиты производится исходя из методики расчета изгибаемых элементов по альтернативной модели в предположении прямоугольной эпюры распределения напряжений в сжатой зоне бетона. Для то-го, чтобы определить случай расчета необходимо установить нахождение нейтральной оси, проверив выполнение условие 2.15:
М’f ≥ Мsd.max (2.3)
где М’f - изгибающий момент, воспринимаемый полкой таврового сечения и определяемый по формуле:
М’f = α ∙ fсd ∙ b’f ∙ h’f ∙(d – 0,5∙ h’f ) (2.4)
где d = h – c = 220 - 30 = 190мм.
c= ccov +
(2.5)
c= 20 +
ccov – минимальный защитный слой бетона для условий эксплуатации ХО.
¢ - предполагаемый максимальный диаметр арматуры.
Для тяжелого бетона принимаем α = 0,85.
М’f = 0,85 ∙ 13,33 ∙ 1160 ∙ 38,5 ∙ (190 – 0,5∙ 38,5) = 86,4∙106 Н∙мм = 86,4кН∙м.
Так как условие 2.15 выполняется, то нейтральная ось располагается в полке, и сечение рассчитываем как прямоугольное с шириной b’f . Определяем значение коэффициента αm :
αm =
(2.6)
αm =
=0,05; при найденном значении αm определяем ξ и η:
ξ = 0,107, η = 0,963.
Значение граничной относительной высоты сжатой зоны сечения ξlim, при кото-ром предельное состояние элемента наступает одновременно с достижением в рас-тянутой арматуре напряжения равного расчетному сопротивлению, определяем по формуле:
ξlim =
(2.7)
где ω – характеристика сжатой зоны бетона, определяемая:
ω = kc – 0,008 ∙ fсd (2.8)
где k – коэффициент, принимаемый для тяжелого бетона 0,85;
ω = 0,85 – 0,008 ∙ 13,33 = 0,743.
σsc,u – предельное напряжение в арматуре сжатой зоны сечения, принимаемое равным 500Н/мм2;
σ s,lim – напряжение в арматуре, определяемое при наличии напрягаемой арматуры по формуле:
σ s,lim = fpd + 400 – σpm,t – ∆ σpm,t (2.9)
где σpm,t = γsp ∙ σ0,max (2.10)
где σ0,max – величина предварительного напряжения в арматуре. В соответствии с указаниями пункта 9.8 предварительное напряжение σ0,max= (0,5…0,9) ∙ fpk следует
назначить с учетом допустимых отклонений p, таким образом, чтобы выполнялось условие:
σ0,max + p ≤ 0,9 ∙ fpk (2.11)
σ0,max - p ≥ 0,3 ∙ fpk
где p – максимально допустимое отклонение значение предварительного на-пряжения, вызванное технологическими причинами.
При электротермическом способе натяжения арматуры:
p = 30 +
(2.12)
где l – длина натягиваемого стержня (расстояние между наружными гранями упоров), м.
p = 30 +
= 100,59 МПа.
Принимаем значение σ0,max = 0,7 ∙ 800 = 560 МПа.
560 + 100,59 = 660,59 МПа < 0,9 ∙ 800 = 720 МПа.
560 – 100,59 = 459,41 МПа > 0,3 ∙ 800 = 240 МПа.
Следовательно, требования выполняются.
γsp – коэффициент точности натяжения арматуры, определяемый:
γsp = 1 - ∆ γsp (2.13)
∆ γsp = 0,5
≥ 0,1 (2.14)
где np = 4 – число напрягаемых стержней.
∆ γsp = 0,5
= 0,13
γsp = 1 – 0,13 = 0,87; σpm,t = 0,87 ∙ 560 = 487,2 МПа.
∆ σpm,t – напряжение от неупругих относительных деформаций напрягаемой армату-ры, определяемое:
∆ σpm,t =
- 1200 ≥ 0 (2.15)
∆ σpm,t =
- 1200 = - 58,1, принимаем ∆ σpm,t = 0.
σs,lim = 640 + 400 – 487,2 – 0 = 552,8 МПа.
ξlim =
= 0,547;
ξ = 0 < ξlim = 0,555, следовательно, fpd при расчете требуемой арматуры необ-ходимо принимать с коэффициентом γsn, определяемым:
γsn = η - (η - 1) ∙
≤ η (2.16)
где η – коэффициент, принимаемый для арматуры класса S800 равным 1,15.
γsn = 1,15 - (1,15 - 1) ∙
= 1,24 > η = 1,15 принимаем γsn = η = 1,15.
Требуемая площадь сечения напрягаемой арматуры:
Asp=
(2.17)
Asp=
= 176,36 мм2;
По таблице сортамента принимаем 4 стержня диаметром 10 мм, для которых Asp= 314 мм2 > As,min=
=
= 86,07 мм2. Где pmin = 0,15% по таблице 11.1.[1].
Уточняем значение рабочей высоты сечения d:
d = h – c = 220 - (20 +
) = 195мм.
2.1.7. Определение геометрических характеристик приведенного сечения.
Рисунок 2.4 – Приведенное сечение плиты
Отношение модулей упругости:
αЕ =
(2.18)
где Есm,n = 0,9 ∙ 32 ∙ 103 МПа – модуль упругости бетона класса С20/25 марки П2 по удобоукладываемости, подвергнутого тепловой обработке (таблица 6.2).
Еs = 20 ∙ 104 МПа – модуль упругости для напрягаемой арматуры.
Еs1 = 20 ∙ 104 МПа – модуль упругости для ненапрягаемой арматуры.
αЕ =
= 6,94; αЕ1 =
= 6,94.
Площадь приведенного сечения:
Аred = Ас + αЕ ∙Аsp + αЕ1 ∙Аsc (2.19)
где Ас = 1160 ∙ 38,5 +1160 ∙ 38,5 + 302 ∙ (220 - 38,5 - 38,5) = 132,51∙103 мм2.
Аsс = 101 мм2 – площадь поперечного сечения 8 продольных стержней диаметром 4 мм класса S500 сетки С-1 марки
∙1140 ∙ 5030 ∙
по ГОСТ 8478-81.
Аred = 132,51∙103+6,94∙314+6,94∙101=135,39∙103 мм2.
Статический момент площади приведенного сечения относительно его нижней грани:
Sred = Sс + αЕ ∙Ssp + αЕ1 ∙Ssc (2.20)
Sс = b’f ∙ h’f ∙( h – 0,5∙ h’f ) + bf ∙ hf ∙ 0,5∙ hf + bw ∙ ( h – h’f – hf ) ∙ 0.5 ∙ h (2.21)
Sс =1160∙38,5∙(220–0,5∙38,5)+1190∙38,5∙0,5∙38,5+302∙(220–38,5 –38,5)∙0,5∙220 = =14,6∙103 мм3.
Ssp = Аsp ∙ с = 314 ∙ 25 = 7850 мм3;
Ssс = Аsс ∙ (h –c1) = 101 ∙ (220 – 17) = 19998 мм3;
Sred = 14,6 ∙106 + 6,94 ∙ 7850 + 6,94∙19998 = 14,79∙106 мм3;
Расстояние от нижней грани до центра тяжести приведенного сечения:
y0 =
(2.22)
y0 =
= 109,24мм < 110мм.
Момент инерции приведенного сечения относительно оси центра тяжести:
Ired= Iс + αЕ ∙ Ssp ∙ y12 + αЕ1 ∙ Asc ∙ y22 (2.23)
где
Iс=
(2.24)
Iс =
y1 = y0 – c = 109,24 – 25 = 84,24 мм; y2 = h0 – y0 – c1 = 220 – 109,24 – 17 = 93,76 мм.
Ired = 7,57 ∙ 108 +6,94 ∙ 314 ∙ 84,242 + 6,94 ∙ 101 ∙ 93,762 = 7,79 ∙108мм2.
Определение потерь предварительного напряжения.
Начальное растягивающее напряжение не остается постоянным, а с течением времени уменьшается независимо от способа натяжения арматуры на упоры или бетон.
Согласно норм, все потери предварительного напряжения разделены на две группы:
- технологические потери (первые потери в момент времени t = t0);
- эксплуатационные потери (вторые потери в момент времени t > t0).
Технологические потери
Потери от релаксации напряжений арматуры. При электротермическом спо-собе натяжения арматуры:
∆ Pir = 0,03 ∙ σ0,max ∙ Asp (2.25)
∆ Pir = 0,03 ∙ 560 ∙ 314 = 5,28 кН.
Потери от температурного перепада, определяемого как разность температур натянутой арматуры в зоне нагрева и устройства, воспринимающего усилие натя-жения при нагреве бетона, следует рассчитывать для бетонов классов от С12/15 до С30/37 по формуле:
∆P∆Т = 1,25 ∙ ∆Т ∙ Asp
где ∆Т – разность между температурой нагреваемой арматурой и неподвижных упоров (вне зоны прогрева), воспринимающих усилия натяжения. При отсутствии точных данных допускается принимать ∆Т = 650С.
∆P∆Т = 1,25 ∙ 65 ∙ 314 = 25,52 кН. (2.26)
Потери от деформации анкеров, расположенных в зоне натяжных устройств ∆PA. При электротермическом способе натяжения арматуры ∆PA = 0.
Потери, вызванные проскальзыванием напрягаемой арматуры в анкерных ус-тройствах ∆Psl. При натяжении арматуры на упоры ∆Psl не учитываются.
Потери, вызванные деформациями стальной формы ∆Pf, в расчете не учиты-ваются, т.к. они учитываются при определении полного удлинения арматуры.
Потери, вызванные трением арматуры о стенки каналов или о поверхность бетона конструкций ∆Pμ(х). При изготовлении конструкций с натяжением арматуры на упоры будут ∆Pμ(х) отсутствовать.
Потери, вызванные трением напрягаемой арматуры об огибающие приспосо-бления ∆Pμ(х), также не учитываются при данном методе натяжения арматуры.
Потери, вызванные упругой деформацией бетона ∆Pс, при натяжении на упоры определяется:
∆Pс = αЕ ∙ pp ∙
(2.27)
где pp =
=
= 0,0024;
zcp – расстояние от центра тяжести напрягаемой арматуры до центра тяжести приведенного сечения.
zcp = y0 – c = 109,24 – 25 = 84,24 мм;
Pос – усилие предварительного напряжения с учетом потерь, реализованных к мо-менту обжатия бетона:
Pос = σpm,t ∙ Asp - ∆Pir - ∆P∆Т (2.28)
Pос =
- 5,28 – 25,52 = 122,18 кН;
∆Pс = 6,94 ∙ 0,0024 ∙
=4,56 кН.
Усилие предварительного обжатия Pm,0 к моменту времени t = t0, действующее непосредственно после передачи усилия предварительного обжатия на конструк-цию, должно быть не более:
Pm,0 = σpm,0 ∙ Asp ≤ 0,75 ∙ fpk ∙ Asp (2.29)
Величину Pm,0 определяют (как для элементов с натяжением арматуры на упоры):
Pm,0 = P0 - ∆P0 - ∆Pir - ∆PA - ∆Pμ(х) - ∆Pf (2.30)
Pm,0 =
– 4,56–5,28 - 0 – 25,52 – 0 – 0 = 117,62кН < 0,75 ∙ 800 ∙314 = 188,4 кН; - условие выполняется.
Эксплуатационные потери (потери в момент времени t > t0).
Реологические потери, вызванные ползучестью и усадкой бетона, а также дли-тельной релаксацией напряжений в арматуре определяются:
∆Pt (t) = ∆σp,c ∙ Asp (2.31)
где ∆σp,c – потери предварительного напряжения, вызванные ползучестью, усад-кой и релаксацией напряжений на расстоянии «х» от анкерного устройства в момент времени «t».
∆σp,c =
(2.32)
где
- ожидаемое значение усадки бетона к моменту времени «t», определя-емое по указаниям СНБ 5.03.01-02.
=
+
(2.33)
где
- физическая часть усадки при испарении из бетона влаги, определяемая по таблице 6.3 СНБ 5.03.01-02, при
=
и RH = 50%.
= -0,645 ∙ 10-3;
- химическая часть усадки обусловленная процессами твердения вяжущего:
= βas ∙ εc,a,∞
где εc,a,∞ = -2,5 ∙ (fсk - 10) ∙ 10-6 ≤ 0 (2.34)
εc,a,∞ = -2,5 ∙ (20 - 10) ∙ 10-6 = -25 ∙ 10-6 ≤ 0
βas = 1 - e(-0,2∙t 0,5), так как t = 100 суток, то βas = 1 – 2,71(-0,2∙t 0,5) = 0,865;
= 0,865 ∙ (-25∙10-6 ) = -21,625 ∙ 10-6 ;
= -0,645∙10-3 - 21,625∙10-6=-666∙10-6.
- коэффициент ползучести бетона за период времени от t0 до t, определенные по указаниям подраздела 6.1 или по приложению Б СНБ.
определяем по номо-грамме, показанной на рисунке 6.1 а при RH = 50%.
h0 =
(2.35)
где u – периметр поперечного сечения элемента.
u = 2 ∙ (b’f + bf) + 2∙ h - 2 ∙ bw = 2 ∙ (1190+ 1190) + 2∙ 220 - 2 ∙ 302 = 4596 мм.
= 5,6.
σcp – напряжение в бетоне на уровне центра тяжести в напрягаемой арматуре, от, практически, постоянной комбинации нагрузок, включая собственный вес.
σcp =
(2.36)
σcp =
= 2,7 МПа.
σcp,0 – начальное напряжение в бетоне на уровне центра тяжести напрягаемой арматуры от действия усилия предварительного обжатия (с учетом первых потерь) в момент времени t = t0:
σcp,0 =
(2.37)
σcp,0 =
= 1,76 МПа.
∆σpr – изменение напряжений в напрягаемой арматуре в расчетном сечении, вы-званные релаксацией арматурной стали. Допускается определять по таблицам 9.2 и 9.3 [1] в зависимости от уровня напряжений
. Принимаем
=
.
- напряжения в арматуре, вызванные натяжением (с учетом первых потерь в момент времени t = t0) и действием практически постоянной комбинации нагру-зок:
=
+ σcp (2.38)
=
+ 2,7 = 377,29 МПа; для
=
= 0,47.
Для третьего релаксационного класса арматуры потери начального предварите-льного напряжения составляют 1,5% (таблица 9.2), тогда
∆σpr =
∙
=
∙ 560 = 8,4 МПа.
















