144290 (594047), страница 11
Текст из файла (страница 11)
Эксплуатация строительных машин
Эксплуатацию строительных машин и механизмов, а также их техническое обслуживание следует осуществлять в соответствии с требованиями ГОСТ 12.3.033-84, СниП 3.01.01-85 и инструкций завода-изготовителя.
До начала работы с применением машин руководитель работ должен определить схему движения и установки машин, места и способы зануления, имеющих электропривод.
Запрещается оставлять работающие машины и механизмы без присмотра.
Эксплуатация технологической оснастки и инструмента
Строительно-монтажные работы должны проиводиться с использованием технологической оснастки, средств коллективной защиты и строительного ручного инструмента, определяемых составом нормокомплектов.
Средства подмащивания и другие приспособления, обеспечивающие безопасность производства работ, должны соответствовать требованиям ГОСТ 27321-87, ГОСТ 24258-88 и ГОСТ 28012-89. Средства подмащивания должны иметь ровные рабочие настилы с зазором между досками не более 5мм, а при расположении настила на высоте 1,3м и более-ограждения и бортовые элементы.
Леса в процессе их эксплуатации должны осматриваться прорабом не реже чем через каждые 10 дней.
Подвесные леса и подмости могут быть допущены к эксплуатации только после того как они выдержат испытание в течении одного часа статической нагрузкой, превышающей нормативную на 20%.
Погрузочно-разгрузочные работы
Площадки для разгрузо-погрузочных работ должны быть спланированы и иметь уклон не более 5%.
Грузоподъемные механизмы и грузозахватные приспособления должны удовлетворять требованиям государственных стандартов или технических условий на них.
Строповку грузов следует производить инвентарными стропами или специальными грузозахватными устройствами. Способы строповки должны исключать возможность падения или скольжения застропованного груза.
При выполнении погрузочно-разгрузочных работ не допускается строповка груза, находящегося в неустойчивом положении, а также смещение строповочных приспособлений на приподнятом грузе. Перед разгрузкой панелей, блоков и других сборных железобетонных конструкций монтажные петли должны быть осмотрены, очищены от раствора или бетона и при необходимости выправлены без повреждения конструкции.
При загрузке автомобилей экскаваторами или кранами шоферу и другим лицам запрещается находиться в кабине автомобиля не защищенного козырьками.
Изоляционные работы
При выполнении изоляционных работ с применением огнеопасных материалов, а также выделяющих вредные вещества следует обеспечить защиту работающих от этих факторов.
Для подогрева битумных составов внутри помещений не допускается применять устройства с открытым огнем.
При выполнении работ с применением горячего битума несколькими рабочими звеньями расстояние между ними должно быть не меньше 10м.
Кровельные работы
Допуск рабочих к выполнению кровельных работ разрешается после осмотра прорабом или мастером совместно с бригадиром исправности несущих конструкций крыши и ограждений.
На кровлях с уклоном больше чем 20% рабочие должны применять монтажные пояса.
Размещать на крыше материалы допускается только в местах, предусмотренных проектом производства работ, с принятием мер против их падения, в том числе от действия ветра.
Не допускается проведение кровельных работ во время гололеда, тумана, исключающего видимость в а пределах фронта работ, грозы и ветра со скоростью 15 м/с и более.
Отделочные работы
Средства подмащивания, применяемые при отделочных работах, в местах, под которыми ведутся работы или есть проход, должны иметь настил без зазоров.
Для просушивания помещений строящихся зданий и сооружений при невозможности использования системы отопления следует применять воздухонагреватели (электрические или работающие на жидком топливе). При их установке следует выполнять требования Правил пожарной безопасности .
Малярные составы следует готовить централизованно. При их приготовлении на строительной площадке необходимо использовать для этих целей помещения, оборудованные вентиляцией, не допускающей предельных концентраций вредных веществ в воздухе рабочей зоны.
Запрещается приготовление малярные составы, нарушая требования инструкции завода-изготовителя, краски, а также применять растворители, на которых нет сертификата с указанием о наличии и характере вредных веществ.
Тару с взрывоопасными материалами (лаками, нитрокрасками и т.п.) во время перерывов в работе следует закрывать пробками или крышками и открывать инструментом, не вызывающим искрообразования.
Места, над которыми производятся стекольные работы, необходимо ограждать.
До начала стекольных работ необходимо визуально проверить прочность и исправность оконных переплетов.
Подъем и переноску стекол к месту их установки следует производить с применением соответствующих безопасных приспособлений или в специальной таре.
Защитное заземление
Защитное заземление – преднамеренное соединение с землей частей оборудования, не находящихся под напряжением в нормальных условиях эксплуатпции, но которые могут оказаться под наряжением в резельтате нарушения изоляции электроустановки.
Принципиальная схема защитного заземления.
Ro – заземление нулевой точки трансформатора
ПП – пробивной предохранитель
Rз – заземляющее устройство
Rиз – сопротивление изоляции
Uпр –напряжение прикосновения
Jз – ток замыкания на землю
Jчел – ток протекающий через человека
1 – плавкие вставки
2 – электродвигатель
3 – график распределения потенциалов на поверхности земли
Рассчитаем систему защитного заземления при мощности питающего трансформатора 750 кВА, схема соединения обмоток трансформатора – звезда, электродвигатель асинхронный, серии 4А, U = 380 B, n = 3000 мин , 4А132М2.
Грунт–суглинок с удельным электрическим сопротивлением =100 Ом
м ,
Вкачестве заземлителей приняты стальные трубы диаметром d=0,08 м и длиной l=2,5 м , распологаемые вертикально и соединенные на сварке стальной полосой 40х4 мм.
Требуемое по нормам допускаемое сопротивление заземляющего
устройства
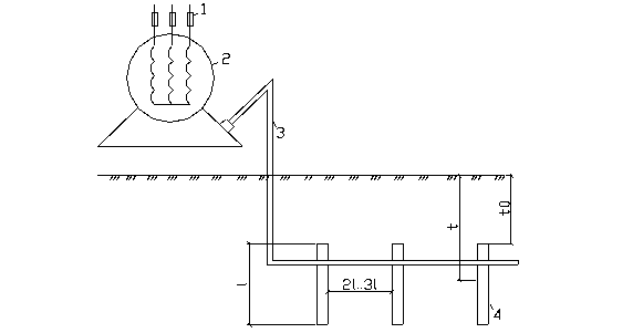
Схема заземляющего устройства .
1 – плавкие вставки
2 – электродвигатель
3 – соединительная полоса
4 – трубчатый заземлитель
расч=
,
где - коэффициент сезонности , учитывающий возможность повышения сопротивления грунтав течении года.
l – длина полосы ,
t – расстояние от полосы до поверхности земли
коэффициент использования вертикальных заземлителей
коэффициент использования горизонтального полосового электрода , соединяющего вертикальные электроды групового заземлителя
n – число одиночных стержневых заземлителей
< 4 Ом*м
Окончательно принимаем: 18 заземлителей в виде стальных трубок диаметром d=0,08 м и длиной l=2,5 м , распологаемых вертикально и соединенных на сварке стальной полосой 40х4 мм.
Литература по разделу «Охрана труда»
1. Справочник строителя. «Инженерные решения по охране труда в строительстве». Москва Стройиздат 1985г.
2. В.А.Пчелинцев, Д.В.Коптев, Г.Г.Орлов. «Охрана труда в строительстве».
3. СНиП III-4-80 «Техника безопасности в строительстве».
4. СНиП 21-01-97 «Противопожарные нормы».
5. ГОСТ 12.1.046-85 «Нормы освещения строительных площадок».
















