144209 (594028), страница 2
Текст из файла (страница 2)
Достоинства листовых материалов очевидны. Во-первых, они просты в сборке и креплении, что обычно не требует от мастера каких-либо особых навыков. Во-вторых, это сравнительно недорогой материал, позволяющий сэкономить средства. В-третьих, получаемая после отделки поверхность отличается достаточно высоким качеством, прочностью и декоративностью.
Технология отделки стен и перегородок плитами из гипсокартона
Для изготовления гипсокартонных полотен используют гипс, а также пенообразователь и заполнитель. Это позволяет создать прочное и надежное покрытие, устойчивое к воздействию внешних факторов различного характера, Подобные материалы характеризуются сравнительно низким весом. Поверхность плит с обеих сторон облицована картоном, что дает возможность в дальнейшем использовать для окончательной отделки любые лакокрасочные составы и рулонные материалы. В настоящее время популярностью пользуются гипсокартонные плиты, на лицевую сторону которых нанесена ПВХ-пленка, имеющая различную цветовую гамму и рисунок.
Стоит заметить, что гипсокартонные плиты обладают низкой степенью устойчивости к воздействию влаги. В связи с этим их рекомендуется использовать для отделки сухих помещений, с низким уровнем влажности воздуха.
Как уже было замечено выше, полотна, изготовленные из гипсокартона, достаточно легко монтировать. Кроме того, при необходимости не составит особого труда их деление на части различной конфигурации и фиксирование в них крепежных материалов. Для выкраивания деталей из цельного полотна лучше всего использовать остро заточенный нож, направляя его по линиям, обозначенным предварительно приложенной к поверхности линейкой. Для обработки неровных кромок, получаемых при разламывании плиты, можно воспользоваться рубанком.
Отдельные гипсокартонные плиты закрепляют на деревянной стене или перегородке, прибивая их к каркасу, собранному из горизонтально и вертикально установленных деревянных реек. Верхние и нижние рейки, зафиксированные по горизонтали, будут использованы в качестве основания для крепления плинтусов и галтелей.
Нередко плитами из гипсокартона отделывают поверхности стен и перегородок, выложенных из кирпича или сделанных из железобетона, гипсовых блоков и пр. В таком случае гипсокартонные полотна прикрепляют на специальную клеящую мастику. Такая облицовка поверхностей в некоторых случаях заменяет мокрую штукатурку. Кроме того, приклеивать гипсокартонные плиты целесообразно, если стены и перегородки имеют неровную поверхность.
Фиксирование гипсокартонных полотен к стенам с помощью мастик можно проводить двумя способами: ориентируясь на маяки (марки) и под правило. Новичкам в строительном деле лучше всего воспользоваться первым способом. Получаемая в результате поверхность отличается достаточно высоким качеством.
Процесс установки гипсокартонных плит по маякам складывается из нескольких этапов: 1) подготовка и разметка поверхности; 2) приготовление мастики и установка маяков; 3) раскрой плит; 4) приготовление клеящей мастики для укладки полотен; 5) фиксирование плит.
Перед наклеиванием полотен поверхность следует подготовить по общим правилам, после чего провесить, то есть разметить. Далее устраивают маяки. Их можно сделать из кусков гипсокартонных плит, оставшихся после раскроя. Для корректировки высоты маячных отметок лучше всего применять гипсовый раствор, который укладывают под маяки. В дальнейшем они могут быть использованы в качестве своеобразных опор для фиксируемых полотен, обеспечивающих вертикальность расположения плит.
Маяки-опоры, собранные из нескольких деталей, нужно устанавливать, формируя вертикальные ряды. Интервал между ними не должен превышать 60 см. Верхний маяк следует закреплять у линии стыка стены и потолочного перекрытия, а нижний - у линии соединения пола и стены. Вертикальные ряды маяков после сборки обычно оказываются размещенными по линии сопряжения двух соседних плит. Ее местоположение следует устанавливать в процессе разметки поверхности. После провешивания маяков плиты нужно раскроить. Далее с нужной стороны листа наносят клеящую мастику. Для этого на поверхность набрасывают небольшие (толщиной до 2 см и диаметром от 10 до 15 мм) лепешки из мастики, размещая их в шахматном порядке с интервалом до 40 см. Затем полотно прикладывают к стене или перегородке и с силой придавливают к маякам, используя при этом правило.
Наносить мастику на поверхность гипсокартонной плиты можно и иным способом. Однако его можно применять только при условии, что работы проводятся в просторном помещении. Для этого лист гипсокартона нужно положить на пол, после чего набросать на него лепешки из мастики, располагая их на расстоянии не более 35 см друг от друга. По линиям края лепешки следует класть с меньшим интервалом или сплошной полосой.
Подготовленное таким образом полотно необходимо приложить к стене, с незначительным усилием прижать к поверхности и затем выровнять, ориентируясь по уровню и используя в этих целях правило. Выравнивать лист рекомендуется до подсыхания мастики и ее сцепления с поверхностью. После этого простукивание правилом следует прекратить. В противном случае может произойти растрескивание клеевого слоя.
Для того чтобы приклеить гипсокартонное полотно к поверхности, можно приобрести в торговой сети специальную мастику. Стоит заметить, что существуют составы, предназначенные, например, для выполнения покрытия из гипсокартонных плит, прикрепляемых к кирпичным и каменным поверхностям, а также присоединяемых к листам теплоизолирующего материала.
Отделку ниш и откосов проемов производят с помощью выкроенных из цельных гипсокартонных плит сравнительно узких полос. Ширина ее определяется суммой ширины откоса и ширины боковой части стены или перегородки, на которую будет приходиться полоса. По линии сгиба полосу нужно немного надрезать, далее детали необходимо загнуть, после чего увлажнить их кромки и снять фаски. Полосы закрепляют на поверхности с помощью мастики.
Для отделки гипсокартоном участков, имеющих закругления, поступают следующим образом. Прежде всего плиту надрезают на глубину картонного слоя. Надрезы делают с интервалом не менее 2-3 см с той стороны полотна, которую при установке плиты нужно будет растянуть. Таким образом, если требуется облицевать выгнутую поверхность, то надрезы следует делать с наружной стороны, а при необходимости отделать вогнутую поверхность полотно надрезают с внутренней стороны.
После завершения подготовительных операций лист изгибают таким образом, чтобы он повторял конфигурацию отделываемого участка стены или перегородки. Это будет сопровождаться частичным растрескиванием гипсового слоя полотен, что и позволяет добиться надежного сцепления материала с поверхностью.
Облицовывать криволинейные поверхности можно, используя и другой способ. При этом полотно гипсокартона нужно предварительно смочить водой. Для этого его обычно накрывают влажной мешковиной и оставляют для пропитки на 10 часов. Затем плиту укладывают на стене или перегородке в месте имеющейся неровности. После высыхания отделочное полотно примет конфигурацию стены.
На заключительном этапе отделки стен гипсокартонными плитами поверхность покрывают шпаклевкой. Это делают для того, чтобы заполнить щели, образующиеся в местах соединения отдельных полотен, и выровнять поверхность.
Розничная торговля предлагает мастерам гипсовые шпаклевочные составы, которые предназначены для заделки зазоров между листами гипсокартона. Одним из их достоинств является короткий период высыхания, который обычно не превышает 45 минут.
При необходимости мастику для проведения шпаклевочных работ можно изготовить и в домашних условиях. Для этого 1 кг сухого клея разбавляют 2,5-3 л воды комнатной температуры. Смесь оставляют на некоторое время для разбухания частичек клея. После этого в раствор кладут 2 кг известкового теста. Все помещают на медленный огонь и кипятят при постоянном помешивании. В отвар добавляют 10 л воды, все вновь перемешивают и затем всыпают сухой гипс. Приготовленная таким образом мастика не уступает изготовленной в промышленных условиях и отличается достаточно высоким качеством. Время ее высыхания после нанесения, как правило, достигает 40-45 минут.
Для заделывания щелей, образующихся в процессе монтажа между двумя соседними гипсокартонными плитами, можно использовать не только шпаклевочные составы. В настоящее время большую популярность у мастеров приобрели ленты из стекловолокна, а также алюминиевые профили, бумажные шайбы и листы.
Устройство натяжных потолков
В последнее время все большую популярность, наряду с подвесными, приобретают натяжные потолки. Интерес современных мастеров к такого типа отделке потолочных перекрытий городских квартир не случаен. Главными достоинствами натяжного потолка являются сравнительная легкость монтажа и простота конструкции. Единственной трудновыполнимой для новичка операцией при сборке может оказаться закрепление багетов, к которым в дальнейшем будет фиксироваться пленка.
Стоит отметить и еще одно достоинство натяжного потолка. Оно состоит в том, что в процессе сборки деталей конструкции все несущие элементы и поверхности в помещении остаются чистыми. Как известно, после сооружения подвесных потолков или нанесения на потолочное перекрытие побелки либо краски в комнате приходится проводить генеральную уборку, которую по степени прилагаемых усилий можно сравнить разве что с тяжелыми ремонтными работами. Помимо этого, все предметы мебели на время монтажа потолка можно оставить в помещении.
Натяжные потолки хороши еще и тем, что их сборка исключает проведение каких бы то ни было подготовительных операций. Кроме того, получаемое покрытие хорошо маскирует имевшиеся ранее на поверхности потолочного перекрытия дефекты - трещины, неровности и пр. Одним из достоинств натяжного потолка считаются высокие звукоизоляционные качества. Кроме того, пластиковая пленка позволяет создать водонепроницаемое покрытие, которое надежно защитит несущие элементы постройки от воздействия влаги. Именно поэтому натяжные потолки часто устраивают в ванных и туалетных комнатах, а также в помещениях домашних бассейнов и в кухнях.
Подобные конструкции являются одними из наиболее пожаробезопасных. А при необходимости их легко демонтировать, не разрушая несущих стен и потолочного перекрытия.
Конструкция натяжного потолка состоит из полотна винила - материала, который отличается особенной прочностью. Пластик, изготовленный на основе винила, можно заменить любой другой прочной непрозрачной и окрашенной пленкой. При желании создать ровное покрытие лучше всего приготовить пленку с матовой поверхностью. При необходимости создать потолок, имеющий эффектный и декоративный вид, рекомендуется использовать пленку с блестящей поверхностью, покрытой лаковым составом. Это также поможет визуально расширить пространство комнаты и зрительно увеличить высоту стен.
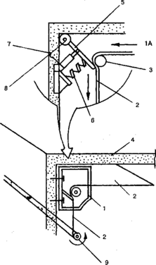
Как уже было замечено выше, одной из составляющих конструкции натяжного потолка являются багеты. Они представляют собой фиксаторы, которые позволяют получить равномерное натяжение пленки. Способы крепления и размещения багетов показаны на рис.1.3.
Р
ис.1.3. Закрепление багетов для натяжного потолка: 1 – корпус рейки крепления; 2 - пластиковая пленка; 3 - валик; 4 – потолочное перекрытие; 5 - рычаг; 6 - пружина рычага; 7 - выключатель; 8 - ось рычага; 9 - валик, необходимый для натяжения пленки.
Примечание. Источник: [9, 170]
Корпус фиксирующей рейки необходимо жестко прикрепить у потолочного перекрытия и провести ее от одной стены до другой. С противоположной стороны перекрытия тем же способом следует установить вторую рейку, которая в дальнейшем будет использована для закрепления пластиковой пленки по соответствующей кромочной линии.
В конструкцию багета, представленного на указанном выше рисунке, входит фиксатор, с помощью которого пленка будет закреплена в процессе монтажа потолка. Принцип действия такого фиксатора сходен с работой храповика. Движение пленочного полотна вперед будет сопровождаться свободным скольжением фиксатора по поверхности пленки. В том случае, если пленка не движется, ее закрепление обеспечивается за счет растяжения пружины, которая, расправляясь, придавливает подвижный валик к рычагу.
Иногда возникает необходимость ослабить натяжение пластиковой пленки, составляющей покрытие натяжного потолка, и исправить неточности, которые были допущены в процессе монтажа конструкции. Для этого необходимо с помощью выключателя развести валик и рычаг. При этом полотно пленки можно будет перетягивать назад до тех пор, пока выключатель не вернет фиксатор в исходное положение. После этого можно вновь натянуть пленку и закрепить ее посредством фиксатора. Подобные операции можно проводить до получения требуемого натяжения пленки.
Для того чтобы предотвратить перекосы полотна в процессе монтажа, опытные мастера советуют использовать валик, к которому фиксируется кромка пленки. Представленная и описанная выше конструкция фиксатора, применяющегося при устройстве натяжных потолков, достаточно проста. При необходимости ее можно изготовить самостоятельно. Тогда придется приобрести только полотно пластиковой пленки нужной ширины.
















