144143 (594025), страница 6
Текст из файла (страница 6)
В конструкциях из легких материалов при сверлении рекомендуется использовать шаблоны, которые нетрудно изготовить. Для этого нужно взять обрезок доски из прочной древесины и нарисовать на одной из его сторон крест. В центре креста просверлить отверстие, которое в дальнейшем будет использоваться как направляющая и диаметр которого должен совпадать с требуемым диаметром отверстия в стене. При сверлении этот шаблон прижимают к стене из легких материалов. С помощью креста можно точно установить шаблон на месте, в котором нужно проделывать отверстие. Благодаря направляющему шаблону можно получить исключительно точное отверстие, в то время как без него сверло способно отклониться от желаемой оси. При использовании дрели следует работать с малым числом оборотов.
Правильный выбор длины винта, вкручиваемого в деталь, производят следующим образом. Если прикрепляемые конструкции должны примыкать вплотную к несущему остову и дюбель не должен выступать, то длина винта должна быть равна сумме длины дюбеля, толщины прикрепляемых деталей и диаметра винта. Винт ни в коем случае не может быть короче, скорее он может быть длиннее, что даже предусматривается при просверливании глухих отверстий, которые делают на 2—3 мм глубже, чем того требует глубина дюбеля.
Если между прикрепляемой деталью и несущим остовом находится слой штукатурки, изоляционных материалов, обрешетка и т. п. и дюбель должен проходить через сквозное отверстие в этих материалах, следует использовать шурупы, длина которых равна сумме длины дюбеля, толщины прикрепляемой детали, толщины второстепенного слоя (штукатурка и пр.) и диаметра шурупа. Винт не должен быть слишком тонким, т. к. в противном случае дюбель не удастся расклинить до требуемого диаметра.
Правила выбора длины и толщины винта обычно указывают на упаковке, в которой продаются дюбели.
Иногда отверстие под дюбель оказывается слишком велико (стена оказалась трухлявой, сверление выполнено неверно, дюбель выпадает и т. д.), но дюбель необходимо установить именно в данном месте. Сначала можно попробовать вставить распорный дюбель вместе с винтом в такой же дюбель большего диаметра, такг чтобы меньшая из прорезей большего дюбеля расклинивалась при закручивании винта. Если отверстие для этого слишком велико, его можно заполнить быстро затвердевающим раствором, вставить дюбель в еще жидкий раствор и закрутить винт спустя некоторое время после схватывания раствора. Но лучше дождаться полного затвердения массы не только у поверхности, но и в глубине, после чего просверлить в ней новое отверстие. Если и в этом случае дюбель не держится, поможет только самодельный замоноличиваемый дюбель.
Шурупы представляют собой крепежные элементы, которые используются повсеместно и являются универсальными. У них стержень постепенно сужается к концу, образуя острие, работающее при закручивании как бур и расклинивающее такой упругий материал, как дерево. В случае работы с твердой древесиной или при использовании шурупов большого диаметра следует предварительно просверлить отверстие. Верхняя часть стержня шурупа гладкая, тем не менее его закручивают на всю длину стержня, а не забивают. Головка универсального шурупа может быть как потайной, так и полукруглой, шестигранной, цилиндрической.
У винтов для металла, называемых также машиностроительными, метрическими или просто винтами, диаметр стержня постоянный по длине. Торец винта не заостренный, а плоский. Винт либо вкручивают в просверленное в металле резьбовое отверстие, либо пропускают в сквозное отверстие в пакете скрепляемых деталей, после чего на его конец надевают плоскую или пружинную шайбу и навинчивают гайку так, что детали крепко сжимаются между собой. Гайки обозначаются буквой М и маркируются цифрами от Ml до М68. Цифра обозначает диаметр винта в миллиметрах, для накручивания на который предназначена гайка: например, гайка М4 подходит к винту диаметром 4 мм. Однако, даже если диаметры гайки и винта одинаковы, это еще не говорит о том, что гайку во всех случаях можно накрутить на винт: если гайка и винт имеют разные шаг и профиль резьбы (высоту витков), то они не подойдут друг к другу.
Самонарезающие винты, или саморезы, имеют заостренный конец, как у шурупа, однако стержень не плавно сужается от головки к концу, а имеет, исключая только заостренный конец, постоянный диаметр, как у обычного винта. При установке в скрепляемых листах жести просверливают отверстие, диаметр которого соответствует внутреннему диаметру резьбы винта. Острие самореза устанавливают в отверстие, а при последующем закручивании сравнительно мягкая жесть деформируется так, что на внутренней поверхности отверстия накатывается резьба, точно соответствующая профилю резьбы винта.
Для крепления гипсокартонных панелей используются специальные саморезы, дающие возможность ускорить сборку во много раз. Самыми распространенными являются саморезы, показанные на рис.
Рис. Саморезы, используемые при монтаже гипсокартона: 1 — для крепления листов гипсокартона к деревянной обрешетке; 2 — для крепления к стойкам; 3 — для крепления металлических профилей
Шурупы для ДСП имеют резьбу, похожую на резьбу саморезов. Они могут ввинчиваться в ДСП без предварительного высверливания отверстий, сами прорезая место для себя острыми витками резьбы, не разрушая окружающего материала и не снижая его прочности.
Натяжные винты — это металлические винты, устанавливаемые в сквозные отверстия, которые должны иметь специальную нишу для подголовка винта. Четырехгранная ниша, соответствующая форме подголовка, препятствует вращению винта при закручивании гайки и является направляющей при дальнейшем ее закручивании и стягивании деревянных деталей.
Металлические стержни с резьбовыми концами можно применять в качестве длинных болтов. Продаются стержни длиной более 1 м с любой резьбой. По желанию их можно изогнуть дугой или углом. С помощью таких стержней можно выполнять сборку или разборку зданий.
Стоит несколько слов сказать о головках винтов и шурупов. По форме продольного и поперечного сечений различают следующие разновидности головок винтов и шурупов: потайная, полупотайная, полукруглая, шестигранная, цилиндрическая и гладкая (для винтов с подголовками).
При взгляде на головку сразу становится ясно, какой инструмент требуется для закручивания. Здесь различают головки с разной формой прорезей, т. е. шлицев (с прямым, крестообразным и фигурным шлицем, внутренним шестигранником), а также без прорезей (с шестигранной и плоской головками). Фигурный шлиц — это дальнейшее развитие идеи крестообразного шлица: к прорезям последнего добавлены более короткие диагональные лучи, что улучшает сцепление отвертки с головкой при закручивании.
Инструмент для установки винтов. Для винтов со шлицами или гранеными головками имеется много электрических и ручных завинчивающих инструментов. Для винтов со шлицем применяют инструменты с завинчивающими насадками соответствующей формы. Размер насадки должен точно совпадать с размером шлица. Если насадка слишком большая, она может повредить головку, если слишком маленькая — то требуется прикладывать большое усилие, что может привести к порче инструмента.
Всю номенклатуру современного рынка крепежных изделий по качеству можно условно разделить на три основные группы:
высокое качество — продукция компаний «Фи шер», «Вурд», АБЦ (Германия), «Хилти» (Лихтенштейн), «Брало» (Испания);
хорошее качество — продукций компаний «Металвист» (Чехия), «Кельнер», «Кретмет» (Польша);
качество ниже среднего — продукция из Турции, Тайваня.
Тайваньские производители работают по двойным стандартам, т. е. в страны Европейского союза, предъявляющие повышенные требования к качеству товаров, они поставляют качественную продукцию. В страны же, не предъявляющие таких требований, уходит продукция довольно низкого качества.
В нашей стране пока не могут выпускать крепежные изделия достойного качества. Они некрасивы внешне, для их изготовления используется некачественный материал и пр. Но при всех этих отрицательных сторонах отечественная продукция все же конкурентоспособна, а те крепежные изделия, что изготавливаются на экспорт, имеют хорошее качество.
Фирма «Кнауф» предлагает своим потребителям при монтаже гипсокартонных плит пользоваться шурупами, предусмотренными фирменными технологическими картами. Об использовании шурупов согласно технологии фирмы «Кнауф» рассказано в табл. 8.
Типы шурупов TN и ТВ используются при монтаже гипсокартонных листов на металлический и деревянный каркас. Они отвечают требованиям DIN 18 182 и покрыты антикоррозийной пленкой.
Отличие шурупов TN от шурупов ТВ состоит в том, что первые из них проходят при ввинчивании через лист гипсокартона, через тонкий стальной лист толщиной 0,7 мм. Вторые при ввинчивании прошивают гипсокартонный лист и стальной лист толщиной от 0,7 до 2,25 мм. Шурупы TN предназначены для крепления гипсокартона к деревянному каркасу, а шурупы типа LN — для соединения металлических профилей и деталей между собой.
-
Нормы времени и расценки
Расход материалов на 1 м2 такой облицовки дан в табл.
Таблица. Расход материалов при облицовке на ПН-профиле
| Наименование материала | Единицы измерения | Один слой | Два слоя |
| Листы гипсокартонные | кв. м | 1,0 | 2,0 |
| ПН-профиль 28/27 | м | 0,7/1,1 | 0,7 |
| ПП-профиль | м | 2,0 | 2,0 |
| Подвес прямой | шт. | 1,7 | 1,7 |
| Упругая лента | м | 0,1 | 0,1 |
| Дюбель 6 х 35 | шт. | 1,6 | 1,6 |
| Саморезы LN для соединения профилей | шт. | 1,5 | 1,5 |
| Саморезы TN 25 мм для ГКЛ | шт. | 14 | 6 |
| Саморезы TN 35 мм | шт. | — | 14 |
| ПУ-профиль 31x31 для защиты углов | м | Зависит от конфигурации комнаты | |
Консольные нагрузки на гипсокартон формула расчета
После установки перегородок, как правило, на них навешивают различное оборудование или предметы украшения интерьера. Каким способом выполнять крепление, зависит от распределенной горизонтальной погонной нагрузки.
Легкие предметы — такие как картины, фотографии, полочки, вес которых не больше 35 кг, — крепят непосредственно на гипсокартонные панели с помощью крючков или дюбелей. Грузы весом свыше 35 кг с центром тяжести, расположенным на расстоянии не более 30 см от стены, можно закреплять в любой точке перегородки анкерными элементами, пластмассовыми или металлическими дюбелями. В табл. показаны допустимые нагрузки на дюбель, что дает возможность определиться с применением того или иного крепления в зависимости от его несущей способности и типа перегородки.
Допустимые нагрузки на дюбель
| Показатель | Значение, мм |
| Длина | 1500 |
| Ширина | 500 |
| Толщина | 20 |
| Ширина фальцев: — нижнего листа — верхнего листа | 48 50 |
Как уже было сказано, грузы весом от 35 до 75 кг на один погонный метр по длине перегородки и с удалением центра тяжести от стены на 30 см можно крепить на любую часть перегородки, если общая толщина слоев гипсокартонных листов составляет не менее 18 мм.
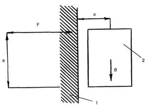
Рис. Навешивание грузов на стену: 1 — стена; 2 — груз;
F — нагрузка на дюбель; В — максимальная масса груза;
е — удаление центра тяжести от стены; а — опорное плечо
Для того чтобы определить максимальную нагрузку, применяют такую формулу:
F = Ве/nа
где F — максимальная нагрузка на дюбель, кг;
















