125464 (593119), страница 3
Текст из файла (страница 3)
Таблица 1. Механические свойства баббитов
| Показатели | Марки баббитов | |||
| Б-83 | БН | Б-16 | Б-6 | |
| Плотность, г/см3 | 7,38 | 9,55 | 9,29 | 9,6 |
| Начало затвердения, 0С | 370 | 400 | 410 | 416 |
| Конец затвердения, 0С | 240 | 240 | 240 | 232 |
| Сопротивление сжатию, кгс/мм2 | 38 | 25 | 14,7 | 23 |
| Твердость по Бринеллю | 30 | 29 | 30 | 32 |
| Сопротивление удару без надреза, кгс/см2 | 0,6 | 0,3 | 0,14 | 0,15 |
Вкладыши перед ремонтом тщательно промывают в керосине и очищают. Для выплавки старого баббита вкладыши нагревают с наружной стороны паяльной лампой. Чтобы очистить вкладыши от окалины, их протравляют в 50%-ном растворе соляной кислоты или 10—15%-ном растворе серной кислоты в течение 10 мин. После травления их промывают горячей водой. Чугунные вкладыши после травления следует кипятить в течение 20 мин в 20—30%-ном растворе щелочи (NaOH или КОН).
Для обезжиривания внутренних поверхностей вкладыши опускают на 5—10 мин в 10%-ный раствор NaOH или КОН при температуре 80—900С, после чего промывают в горячей воде.
Для лучшего сцепления слоя заливаемого баббита с вкладышем внутреннюю поверхность последнего лудят. Лужение можно осуществлять погружением вкладыша в ванну с расплавленной полудой, растиранием третника о нагретый вкладыш или с помощью порошкообразной полуды. В первом случае необходимо еще раз смочить хлористым цинком поверхности вкладыша, закрыть все отверстия асбестом и подогреть вкладыш до 150—200°С. Температура нагрева полуды для третника составляет 320°С, чистого олова — 285°С, баббита (Б-83) — 380°С. В ванне с полудой вкладыш следует держать 3—5 мин. Правильно нанесенная полуда имеет ровный тускло-серебристый цвет. Другая окраска говорит об окислении полуды, качество такого лужения будет низким. В таких случаях лужение следует повторить.
Для лужения растиранием третника вкладыш с тыльной стороны нагревают до 60—70°С. Поверхность, подвергаемую лужению, смачивают соляной кислотой, протирают, проминают горячей водой и вытирают насухо. Затем облужинаемую поверхность смачивают травленой кислотой (НСl), посыпают порошком нашатыря и нагревают вкладыш до 300—320 °С.
Палочкой третника наносят тонкий слой расплавленной полуды, которая должна дать ровную блестящую поверхность.
При лужении порошкообразной полудой применяется порошок, состоящий из третника и нашатыря. Количество нашатыря составляет 1/5 объема порошка.
К моменту окончания лужения баббит должен быть подготовлен к заливке. Его расплавляют в специальных тиглях. Для предотвращения окисления поверхность расплавленного баббита покрывают слоем высушенного древесного угля кусочками 8—10 мм. Толщина слоя угля 2—3 см.
Для каждой марки баббита допускается определенная предельная температура нагрева (табл. 2). Перед заливкой температура вкладыша и формы должна быть 200—250°С. Заливку производят непрерывно (рис.8). Для получения более плотного слоя баббита применяют центробежную заливку (рис. 9).
Таблица 2. Предельная температура нагрева баббита
| Марка баббита | Температура начала плавления, °С | Рекомендуемая температура заливки, °С |
| Б-83 | 240 | 420—390 |
| БН | 240 | 470—450 |
| Б-6 | 232 | 470—450 |
| Б-16 | 240 | 500—470 |
Рисунок 8. Задника вклады-шеи подшипников баббитом.
Перед обточкой обе половинки вкладышей стягивают хомутом. Толщина снимаемого слоя баббита зависит от припуска при заливке. Баббит растачивают на токарном станке. При этом дают некоторый припуск на шабровку (0,15—0,2 мм). Расположение и форму канавок во вкладышах применяют по заводским образцам. При шабровке вкладыша добиваются полного прилегания шеек вала. Плотность прилегания считается удовлетворительной при получении четырех-пяти пятен на участке площадью 1 см2.
Для нормальной работы между налом и подшипником оставляют зазор, величина которого зависит от диаметра вала. Между верхним вкладышем и валом зазор при диаметрах вала 50—80 мм принимается 0,1—0,16 мм, при диаметрах 80—120 мм — 0,12—0,20 мм, при диаметрах 180—250 мм — 0,2—0,4 мм; боковой зазор между нижним вкладышем и валом должен быть равен половине верхнего зазора (рис. 10).
Муфты. У зубчатых муфт износу подвержены зубья. При ремонте зубьев устраняют вмятины и заусенцы.
У полуэластичных муфт износу подвержены резиновые кольца на пальцах, которые по мере износа заменяют новыми.
Статическая балансировка ротора. Вибрацию центробежного насоса при работе вызывает статическая и динамическая неуравновешенность ротора.
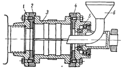
Рисунок 9. Центробежная заливка подшипников.
1 — планшайба, насаженная на шпиндель токарного станка; 2, 4 — диски для зажима вкладыша; 3 — вкладыш подшипника; 5 — камера для радиального и упорного подшипников; 6 — воронки для заливки баббита.
Рисунок 10. Зазоры между валом и вкладышем подшипника.
Перед сборкой ротора проверяют статическую балансировку (уравновешенность) каждой его детали отдельно на специальных призмах, изготовленных из стали марки Ст. 5 с последующей термообработкой и шлифовкой рабочей поверхности. Длину призм принимают такой, чтобы вал мог сделать три-четыре оборота.
Ширину острия призм (ножа) принимают и зависимости от веса балансируемой детали по формуле:
(1)
где а — ширина ножа в см;
G — нагрузка на нож в кгс;
d — диаметр вала в месте соприкосновения с ножами в см.
Ножи устанавливают параллельно и строго горизонтально с точностью до 0,2 мм на 1 м.
Для проверки рабочего колеса насоса его насаживают на короткий вал и устанавливают на ножи. Затем легким толчком приводят в движение и дают свободно остановиться. У неотбалансированного колеса центр тяжести всегда расположен ниже оси, и поэтому колесо останавливается тяжелой частью вниз. На противоположной стороне небалансированного рабочего колеса укрепляют груз, который полностью должен уравновесить его. Груз, уравновешивающий рабочее колесо, взвешивают. Для достижения статической балансировки колеса из его тяжелой части удаляют эквивалентное количество металла высверливанием или фрезерованием стенки рабочего колеса на небольшую глубину (ближе к наружной окружности). Толщину рабочего колеса при этом оставляют не менее 3 мм.
Вся операция повторяется сначала, пока не будет достигнута полная балансировка.
Собранный из предварительно, отбалансированных деталей ротор подвергают проверке на биение, установив его в центрах токарного станка. Имеющееся биение устраняют обточкой. Максимальное допустимое биение собранного ротора по рабочим колесам должно быть не более 0,2 мм. Допускаемое же биение защитных втулок вала составляет 0,03 мм, под уплотнительные кольца между рабочими колесами — 0,05 мм.
Динамическую балансировку в условиях перекачивающих станций не производят, ее осуществляют специализированные заводы.
Коленчатый вал. Усиленному износу подвержены шейки коленчатых валов, в результате чего они могут иметь эллипсность или конусность. Эллипсность или конусность замеряют микрометром или индикатором. Коленчатый вал ремонтируют обязательно, если в шейках образовались задиры глубиной более 0,1 мм, эллипсность или конусность по длине шейки более 0,001d + 0,05 mm (d — диаметр шейки вала в мм). Такие дефекты устраняют путем проточки и шлифовки вала. Задиры и царапины устраняют притиркой. При этом допускаемое уменьшение диаметра шейки составляет 0,03d.
Цилиндры и клапаны. Цилиндры поршневых насосов подвержены износу по рабочей поверхности. Задиры и царапины появляются из-за механических примесей в перекачиваемых продуктах.
Эллипсность, конусность и задиры цилиндровых втулок устраняют путем расточки на специальном приспособлении.
Уменьшение толщины стенки цилиндра после расточки не должно составлять более 1/12 ее номинальной толщины.
Размеры цилиндровых втулок после ремонта должны быть такими, чтобы сохранялся нормальный зазор между втулкой и поршнем. Точность обработки зеркала должна быть не ниже 9 класса.
Клапаны и седла при их ремонте можно протачивать на токарном станке, а затем притирать.
Штоки и крейцкопф. Основные виды износа штоков — прогибы, трещины, истирание рабочей поверхности, задиры и царапины на ней. При истирании штоки восстанавливают путем металлизации с последующей шлифовкой. Прогиб штоков исправляют в центрах токарного станка подобно валам центробежного насоса.
У крейцкопфа изнашиваются трущиеся поверхности, срабатываются гнезда под крейцкопфные пальцы и шпоночные канавки в них.
Зазор между крейцкопфом и верхней направляющей регулируют путем установки прокладок между ползуном и крейцкопфом. Этот зазор должен составлять 0,2-0,3 мм. Гнезда под крейцкопфные пальцы исправляют разверткой, а крейцкопфные пальцы заменяют новыми.
Цилиндры газовых турбин. В цилиндрах газовых турбин или осевого компрессора могут быть трещины. Для их устранения устанавливают границы трещины, зачищая и протравливая их 10%-ным раствором азотной кислоты. Затем, чтобы предотвратить распространение трещины при ее подготовке под сварку, сверлят отверстия диаметром 8—12 мм по ее концам. Подготовленную таким образом трещину заваривают электросваркой.
Картеры газомотокомпрессоров. В картерах иногда образуются трещины, которые устраняют путем заварки, как описано выше. При сварке стальных рам применяют электроды УОНИ-13/45, УОНИ-13/55, ОММ-5 диаметром 3—5 мм.
2.3 Монтаж центробежных насосов
На магистральных трубопроводах для перекачки нефти и нефтепродуктов применяются в основном высокопроизводительные центробежные насосы с приводом от электродвигателей. Техническая характеристика и марки центробёжных насосов приведены в табл. 5
В качестве привода центробежных насосов применяются асинхронные или синхронные электродвигатели. Наибольшее распространение нашли асинхронные электродвигатели с короткозамкнутым ротором серии АТД.
Таблица 3. Техническая характеристика магистральных насосов
| Марки насосов | Подача, м3/ч | Напор м ст. жидкости | Скорость вращения, об/мин | Мощность на валу насоса, квт | К. п. д.; % | Условное давление корпуса. кгс/м2 |
| 811Д-10 X 5 | 320 | 425 | 2350 | 500 | 73 | 80 |
| 10НД-10 X 2 | 800 | 285 | 2950 | 720 | 86 | 80 |
| 12НД-10 X 2 | 1100 | 270 | 2950 | 930 | 87 | 80 |
| 16НД-10 X 1 | 2200 | 230 | 3000 | 1565 | 87 | — |
| 20НД-12 X 1 | 3000 | 210 | 2980 | 2100 | — | — |
| 24НД-14 X 1 | 4000 | 216 | 2980 | 2440 | 87 | — |
| 24НД-17 X 1 | 5000 | 210 | 2980 | 3300 | — | — |
| 24НД-19 X 1 | 6000 | 220 | 2980 | 3875 | — | — |
| 10НД-10 X 4 | 750 | 740 | 3000 | 2200 | 75 | — |
| 10Н-8 X 4 | 500 | 740 | 3000 | 1500 | 73 | — |
| 14Н-12 X 2 | 1100 | 370 | 3000 | 1500 | 75 | — |
Они выпускаются восьми типов и выполняются в трех габаритах:
I габарит-АТД-500, АТД-6ЗО, АТД-800;















