125457 (593116), страница 7
Текст из файла (страница 7)
означает более существенную чувствительность термофильных микробиологических процессов. Это является существенной проблемой особенно по той причине, что в настоящее время в сточных водах и в иле еще могут присутствовать токсичные металлы и другие химикаты.
С учетом вышеуказанных аргументов за и против в рамках данной модернизации, считаем, что более выгодным является применение мезофильного процесса сбраживания.
Перемешивание содержимого метантенка необходимо проводить с целью обеспечения эффективного использования всего объема метантенка, исключения образования мертвых зон, предотвращения расслоения осадка, отложения песка и образования корки, выравнивания температурного поля. Кроме того перемешивание должно обладать способностью выравнивания концентраций метаболитов, образующихся в процессе брожения и являющихся промежуточными субстратами для микроорганизмов или ингибиторами их жизнедеятельности, а также поддержанию необходимого контакта между ферментами и субстратами, разными группами бактерий. Вместе с тем, как было упомянуто выше, существует некоторый предел интенсивности перемешивания, превышение которого может привести к механическому отрыву отдельных групп бактерий друг от друга, а также от частиц потребляемого ими субстрата.
При плохом перемешивании снижается эффективный объем метантенка, сокращается время пребывания в нем осадка, а, следовательно, рас ход органического вещества и выход биогаза.
Метантенки могут работать в периодическом, непрерывном и полунепрерывном режимах. При загрузке один раз в сутки скорость распада органического вещества и выход биогаза значительно меняется в период между загрузками. После загрузки выход газа в 2 раза превышает выход газа перед следующей загрузкой. Это свидетельствует о существенном изменении скорости биохимического распада за счет неравномерной подачи субстрата клеткам бактерии. Непрерывная загрузка и выгрузка метантенка снимает эту неравномерность. При непрерывной подаче предварительно подогретого сырого осадка, его хорошем смещении с массой бродящего осадка обеспечиваются равномерный тепловой режим сооружения, равномерное поступление питательных субстратов и возможность работы с повышенными дозами загрузки. Наконец, перевод метантенков на непрерывный режим загрузки делает возможным автоматизацию и механизацию процесса, обеспечивает уменьшение эксплуатационных затрат, равномерность газовыделения в однородность выгружаемого осадка.
Вместе с тем, как показывает теория непрерывных процессов, при имеющейся загрузке одноступенчатого термофильного метантенка, работающего в режиме смесителя, следует ожидать присутствие в выгружаемом осадке хотя бы незначительной части несброженного, следовательно, необеззараженного осадка.
На процесс брожения оказывают ингибирующее действие некоторые органические и неорганические вещества, которые могут содержаться в осадках в значительных концентрациях. К нм в первую очередь относятся тяжелые металлы, сульфиды, СПАВ.
Эксплуатация метантенков требует организации четкого и постоянного контроля за основными показателями процесса брожения. К этим показателям относятся:
• выход и состав биогаза, в котором обычно содержится 60—65% метана, 32—35% диоксида углерода а также некоторые количества водорода, сероводорода, азота и др.;
• степень распада органического вещества;
• содержание летучих жирных кислот, аммонийного азота и щелочность вловой жидкости;
• влажность я зольность загружаемого сброженного осадка;
• рН
С точки зрения режима подачи осадков наиболее рациональной является эксплуатация метантенков по прямоточной схеме, при которой загрузка и выгрузка осадков происходит одновременно и непрерывно (или с минимальными перерывами). Такой режим создает благоприятные температурные условия в метантенке, так как исключается охлаждение бродящей массы вследствие залповых поступлений более холодных сырого осадка и избыточного ила. Кроме того, такой режим обеспечивает равномерность газовыделения в течение суток.
В различных конструкциях метантенков подача осадка на сбраживание может осуществляться либо через общую для всех метантенков загрузочную камеру, либо насосом непосредственно в каждый метантенк. В том в другом случае должна быть обеспечена равномерность распределения нагрузки между отдельными сооружениями и возможность ее регулирования.
Осадок подают в верхнюю зону метантенка, а выгружают из самой нижней точки
днища. Максимальное удаление друг от друга трубопроводов подачи и выгрузки предотвращает попадание несброженного осадка в выгружаемую массу. Кроме того, при постоянной выгрузке сброженной массы из нижней части удается замедлить процесс накопления песка, который вместе с осадком из первичных отстойников попадает в метантенк.
В метантенках тепло расходуется непосредственно на подогрев загружаемого осадка до необходимой расчетной температуры, на возмещение потерь тепла, уходящего через стенки, днище и перекрытие метантенка, на возмещение потерь тепла, уносимого с отводимым из метантенка газом.
В отечественной практике подогрев осадка наиболее часто осуществляют острым паром. Пар низкого давления с температурой 110-112ºС подается во всасывающую трубу насоса при подаче и перемешивании осадка или непосредственно в метантенк через паровой инжектор. Инжекторы устанавливаются в каждом метантенке. Забирая в качестве рабочей жидкости осадок из метантенка и подавая смесь его с паром снова в метантенк, паровой инжектор обеспечивает и подогрев осадка в частичное перемешивание бродящей массы.
За рубежом получили распространение спиральные теплообменники типа "осадок-осадок" и " вода - осадок ".
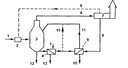
Обобщенная принципиальная схема подогрева осадка для анаэробного сбраживания представлена на рисунке 12.
Установка на линии выпуска сброженного осадка рекуперативного теплообменника типа "осадок-осадок" обеспечивает использование теплоты сброженного осадка для частичного подогрева осадка, подаваемого в метантенк, что сокращает расход энергии котельной установки на сбраживание осадков. Применение на второй ступени подогрева теплообменника типа "вода-осадок" обеспечивает дополнительный нагрев осадка. На рисунке 13 представлен вариант схемы подогрева осадка, в котором нагрев осадка совмещен с гидравлическим перемешиванием бродящей массы. Содержимое метантенка перемешивается насосом, обеспечивая, как минимум, трехкратный оборот осадка за 20 ч. Установленный на нагнетательной линии насоса теплообменник типа "вода-осадок" обеспечивает подогрев осадка и компенсирует все теплопотери метантенка (для мезофильного процесса). Подогрев осадка полностью автоматизирован и управляется датчиком температуры, установленным на всасывающем патрубке циркуляционного насоса.
Рисунок 12 – Принципиальная схема подогрева осадка для анаэробного сбраживания: 1 – загрузка осадка; 2 – паровой инжектор; 3 – метантенк; 4 – теплообменник "осадок-осадок"; 5 – пар; 6 – биогаз; 7 – котельная; 8 – горячая вода; 9 – теплообменник "вода-осадок"; 10 – охлажденная вода; 11 – подогретый осадок; 12 – сброженный осадок
Рисунок 13 – Схема подогрева циркулируемого осадка
1 – загрузка осадка; 2 – метантенк; 3 – циркуляционный насос; 4 – теплообменник "вода-осадок"; 5 – сброженный циркулируемый осадок; 6 – горячая вода; 7 – охлажденная вода
Перемешивание бродящей массы обеспечивает ее однородность во всем объеме метантенка. При загрузке холодного осадка в верхнюю зону метантенка, он как более холодный устремляется вниз. Одновременно пузырьки выделяющегося газа поднимаются вверх. В результате происходит перемешивание бродящей массы в вертикальном направлении. Если метантенк оборудован инжектором, его работа приводит к перемешиванию осадка в горизонтальной плоскости. Однако эти процессы, сопровождающие процесс сбраживания, не могут обеспечить полного перемешивания содержимого метантенка.
Специальные системы перемешивания используют для этой цели циркуляционные насосы, пропеллерные мешалки или перемешивание с помощью газа.
Для сбора газа на горловине метантенка устанавливают газовые колпаки. Для транспортирования газа прокладывается специальная газовая сеть из стальных труб с усиленной противокоррозионной изоляцией.
В процессе сбраживания осадков выделение газа неравномерно. для поддержания постоянного давления в газовой сети на тупиковых концах ее устанавливают аккумулирующие газгольдеры. Мокрый газгольдер состоит из резервуара, заполненного водой, и колокола, перемещающегося на роликах по вертикальным направляющим. Вес колокола уравновешивается противодавлением газа. Благодаря этому при изменении объема газа под колоколом давление в газгольдере и газовой сети остается постоянным. При невозможности сбора газа метантенков, предусматривают его сжигание, используя специальное устройство – газовую свечу.
Сброженный осадок, выходящий из башен метантенков приблизительно с той же скоростью, с которой он поступает в них, должен отводиться в так называемые дегазаторы, представляющие собой буферные емкости, в которых одновременно с буферным хранением ила происходит процесс дегазации ила. Этот процесс имеет несколько положительных сторон:
- отведение сброженного осадка может выполняться независимо от процесса обезвоживания осадка;
- благодаря удалению биогаза, содержащегося в иле, обеспечивается защита оборудования системы обезвоживания от вредного воздействия биогаза;
- благодаря уменьшению температуры в процессе дегазации улучшается способность обезвоживания ила [12].
3.3 Обезвоживание сброженного осадка.
Обезвоживание осадков является решающим процессом его обработки. Основной задачей обезвоживания осадка является эффективное уменьшение объема осадка. С этим повышается экономичность размещения или дальнейшей обработки осадков.
По сложившейся практике последних 20 – 25 лет уплотненный свежий ил или осадок, отобранный из метантенков, после уплотнения, гомогенизации и дегазации обезвоживается на:
- непрерывно работающей горизонтальной центрифуге:
- ленточном фильтр-прессе
- камерном фильтр-прессе
Разнообразие таких машин на рынке широкое, сегодня много заводов мира производят оборудование пригодное для этих целей.
Несмотря на большое разнообразие таких машин, одним из самых сложных вопросов технической концепции данного проекта является определение типа оборудования для обезвоживания.
Главным критерием выбора является не технические или экономические особенности машин обезвоживания, а возможности размещения обезвоженного осадка, т.е. главным критерием можно считать консистенцию ила. В результате обезвоживания необходимо получить такой ил, который имеет твердую, не грязевидную консистенцию. Дальнейшим условием является, чтобы осадок не содержал человеческих патогенных микроорганизмов.
Выполнение перечисленных требований обеспечивается в основном дозировкой гашеной извести, гидрата извести или негашеной извести. Негашеная известь, используемая в качестве коагулянта, улучшает обезвоживаемость осадка, увеличивает значение рН и этим самым уничтожает человеческие патогенные микроорганизмы, увеличивая содержание сухого вещества обезвоженного осадка.
Дозировка извести проводится в один ли два этапа. Одноэтапная технология означает, что известь в виде известкового молока подается непосредственно в обезвоживаемый осадок и обезвоживание проводится после этого. По этой технологии могут работать только камерные фильтр-прессы.
Другие две технологии обезвоживания подобный результат могут обеспечить только в два этапа. При работе с двухэтапной технологией, на первом этапе производится кондиционирование реагентами, затем полученный обезвоженный ил перемешивается с негашеной известью.
Центрифуга и ленточный фильтр-пресс имеют приблизительно одинаковую производительность. Оба оборудования работают в непрерывном режиме и надежно выполняют задачи обезвоживания осадка. Выбор между ними зависит от инвестиционных и эксплуатационных расходов, надежности, долговечности, удобства эксплуатации и доступности сервиса [9].
В большинстве случаев решение определяется с учетом местных условий. Возможное затягивание реконструкции или строительства песколовок и значительная потребность центрифуг в регулярном сервисном обслуживании, практически исключает ее использование.
В отличие от центрифуги, ленточный фильтр-пресс выглядит технически более сложным, однако расходует значительно меньше электроэнергии. Главной проблемой можно считать регулярную замену ленты (в каждые 1 – 2 года, в зависимости от интенсивности эксплуатации). Ленточные фильтр-прессы не чувствительны к песку. К отрицательным сторонам относятся: большое количество деталей, острые частицы осадка могут прорезать ленту, не закрытые поверхности, из-за чего сложнее обеспечить чистоту воздуха машинного отделения обезвоживания ила.














