125457 (593116), страница 4
Текст из файла (страница 4)
где АН2 - органическое вещество, служащее для метанообразующих бактерий донором водорода; обычно это жирные кислоты (кроме уксусной) и спирты (кроме метилового).
Многие виды метанообразующих бактерий окисляют молекулярный водород, образующийся в кислой фазе Тогда реакция метанообразования имеет вид:
Микроорганизмы, использующие уксусную кислоту и метиловый спирт, осуществляют реакции:
Все перечисленные реакции являются источниками энергии для метанообразующих бактерий, и каждая из них представляет собой серию последовательных ферментативных превращений исходного вещества. В настоящее время установлено, что в процессе метанообразования принимает участие витамин В12, которому приписывают основную роль в переносе водорода в энергетических окислительно-восстановительных реакциях у метанообразующих бактерий.
Считается, что скорости превращения веществ в кислой и метановой фазах одинаковы, поэтому при устойчивом процессе брожения не происходят накопления кислот — продуктов первой фазы.
Процесс сбраживания характеризуется составом и объемом выделяющегося газа, качеством иловой воды, химическим составом сброженного осадка.
Образующийся газ состоит в основном из метана и диоксида углерода. При нормальном (щелочном) брожения водород как продукт первой фазы может оставаться в газе в объеме не более 1 - 2%, так как используется метанообразующими бактериями в окислительно-восстановительных реакциях энергетического обмена.
Выделившийся при распаде белка сероводород Н2S практически не попадает в газ, так как в присутствии аммиака легко связывается с имеющимися ионами железа в коллоидный сульфид железа.
Конечный продукт аммонификации белковых веществ — аммиак — связывается с углекислотой в карбонаты и гидрокарбонаты, которые обусловливают высокую щелочность иловой воды.
В зависимости от химического состава осадков при сбраживании выделяется от 5 до 15 м3 газа на 1 м3 осадка.
Скорость процесса брожения зависят от температуры. Так, при температуре осадка 25 - 27°С процесс длится 25 - 30 дней; при 10°С продолжительность его увеличивается до 4 месяцев и более. Для ускорения сбраживания и уменьшения объема необходимых для этого сооружений применяют искусственный подогрев осадка до температуры 30 -35°С или 50 - 55°С.
Для нормально протекающего процесса метанового брожения характерны слабощелочная реакция среды (рН ≤ 7,б), высокая щелочность иловой воды (65—90 мг-экв/л) и низкое содержание жирных кислот (до 5 - 12 мг-экв/л). Концентрация аммонийного азота в иловой воде достигает 500 - 800 мг/л.
Нарушение процесса может быть результатом перегрузки сооружения, изменения температурного режима, поступления с осадком токсичных веществ и т. д. Нарушение проявляется в накопления жирных кислот, снижении щелочности иловой воды, падении рН. Резко уменьшается объем образующегося газа, увеличивается содержание в газе угольной кислоты и водорода — продуктов кислой фазы брожения.
Кислотообразующие бактерии, ответственные за первую фазу брожения, более выносливы ко всякого рода неблагоприятным условиям, в том числе и к перегрузкам. Осадки, поступающие на сбраживание, в значительной степени обсеменены ими. Быстро размножаясь, кислотообразующие бактерии увеличивают ассимиляционную способность бактериальной массы и таким образом приспосабливаются к возросшим нагрузкам. Скорость первой фазы при этом возрастает, в среде появляется большое количество жирных кислот.
Метановые бактерии размножаются очень медленно. Время генерации для некоторых видов составляет несколько дней, поэтому они не в состоянии быстро увеличивать численность культуры, а содержание их в сыром осадке незначительно. Как только нейтрализующая способность бродящей массы (запас щелочности) оказывается исчерпанной, рН резко снижается, что приводит к гибели метанообразующих бактерий.
Большое значение для нормального сбраживания осадка имеет состав сточных вод, в частности наличие в них таких веществ, которые угнетают или парализуют жизнедеятельность микроорганизмов, осуществляющих процесс сбраживания осадка. Поэтому вопрос о возможности совместной очистки производственных я бытовых сточных вод следует разрешать в каждом отдельном случае в зависимости от их характера и физико-химического состава.
При смешивании бытовых сточных вод с производственными необходимо, чтобы смесь сточных вод имела рН=7 - 8 и температуру не ниже 6°С и не выше
30°С. Содержание ядовитых или вредных веществ не должно превышать предельно допустимой концентрации для микроорганизмов, развивающихся в анаэробных условиях. Например, при содержания меди в осадке более 0,5% сухого вещества ила происходит замедление биохимических реакций второй фазы процесса сбраживания и ускорение реакций кислой фазы. При дозе гидроарсенита натрия 0,037% к массе беззольного вещества свежего осадка замедляется процесс распада органического вещества.
Для обработки и сбраживания сырого осадка применяют три вида сооружений: 1) септики (септиктенки); 2) двухъярусные отстойники; 3) метантенки.
В септиках одновременно происходит осветление воды и перегнивание выпавшего из нее осадка. Септики в настоящее время применяют на станциях небольшой пропускной способности.
В двухъярусных отстойниках отстойная часть отделена от гнилостной (септической) камеры, расположенной в нижней части. Развитием конструкции двухъярусного отстойника является осветлитель-перегниватель.
Для обработки осадка в настоящее время наиболее широко используют метантенки, служащие только для сбраживания осадка при искусственном подогреве и перемешивании.
Сброженный осадок имеет высокую влажность (95 - 98%), что затрудняет применение его в сельском хозяйстве для удобрения (из-за трудности перемещения обычными транспортными средствами без устройства напорных разводящих сетей). Влажность является основным фактором, определяющим объем осадка. Поэтому основной задачей обработки осадка является уменьшение его объема за счет отделения воды и получение транспортабельного продукта.
2.2.2.2 Аэробная стабилизация
Для обработки небольших объемов осадков (главным образом активного ила) применяют метод аэробной стабилизации, осуществляемый в сооружениях типа аэротенков.
Аэробная стабилизация осадков сточных вод — процесс окисления эндогенных и экзогенных органических субстратов в аэробных условиях. В отличие от анаэробного сбраживания аэробная стабилизация протекает в одну стадию:
с последующим окислением NH3 до NО2.
Аэробной стабилизации может подвергаться неуплотненный и уплотненный избыточный активный ил и его смесь с осадком первичных отстойников. При стабилизации только активного ила процесс можно рассматривать как завершающую ступень очистки сточных вод, когда при минимуме растворенных питательных веществ происходит самоокисление клеточного вещества микроорганизмов. В этом случае продолжительность стабилизации ила связана с его возрастом. Чем больше возраст ила, тем короче период стабилизации. При стабилизации смеси ила с осадком происходит выделение ферментов, катализирующих окисление экзогенных субстратов осадка. Степень распада органического вещества в продолжительность процесса зависят от соотношения количеств сырого осадка и активного ила, концентрации органических веществ, интенсивности аэрации, температуры и прочего. Процесс аэробной стабилизации обычно происходит в психрофильно-мезофильной зоне жизнедеятельности микроорганизмов при температуре от 10 до 42ºС и затухает при температуре менее 8°С. Степень распада органических веществ изменяется в среднем от 10 до 50 %, при этом жиры распадаются на 65-75%, белки на 20—30%, а углеводы практически не распадаются. В процессе аэробной стабилизации при мезофильных температурах наблюдается снижение содержания кишечной палочки и других патогенных бактерий и вирусов на 70 - 90%, однако при этом яйца гельминтов не погибают.
Продолжительность процесса – 2 - 5 суток для неуплотненного ила, 6 - 7 суток для смеси неуплотненного ила и осадка из первичных отстойников и 8 - 12 суток для смеси уплотненного ила и осадка. Удельный расход воздуха следует принимать 1 - 2 м3/ч на 1 м3 объема стабилизатора при интенсивности аэрации не менее 6 м3/(м2ч).
Аэробная стабилизация осадков проводится обычно в сооружениях типа аэротенков глубиной 3 - 5 м. Использование других емкостей, построенных на станциях аэрации, например переоборудованных отстойников, уплотнителей в неиспользуемых метантенков, может привести к ухудшению эффективности процесса в увеличению расхода электроэнергии.
Отстаивание и уплотнение аэробно стабилизированного осадка следует производить в течение 1,5 - 5 ч в отдельно стоящих илоуплотнителях или в специально выделенной зоне внутри стабилизатора. Влажность уплотненного осадка 96,5—98,5%. Иловая вода должна направляться в аэротенки.
2.2.3 Кондиционирование осадков
Осадки, образующиеся на очистных сооружениях населенных мест, характеризуются весьма низкими показателями водоотдачи, что затрудняет применение интенсивных процессов для их обезвоживания. Для улучшения водоотдачи необходимо изменить структуру осадка таким образом, чтобы в результате укрупнения твердых частиц произошло уменьшение поверхности раздела дисперсной фазы и дисперсионной среды и, следовательно, понизилась поверхностная энергия связи воды с твердыми частицами. Изменение структуры осадков приводит к количественному перераспределению форм связи влаги в сторону увеличения содержания свободной воды за счет уменьшения доли связанной. Такое изменение структуры осадков позволяет добиваться более глубокого и быстрого их обезвоживания. Процессы подготовки осадков к обезвоживанию называют кондиционированием.
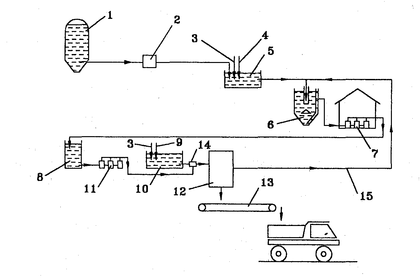
Методы кондиционирования подразделяются на реагентные и безреагентные. Первой стадией подготовки осадка к обезвоживанию является его промывка (рисунок 6). Промывка применяется только для сброженных осадков. В результате промывки из сброженного осадка удаляются коллоидные частицы и мелкая взвесь. Для осадков, сброженных в разных режимах, параметры промывки различаются. Промывку производят очищенной сточной водой.
Рисунок 6- Схема кондиционирования сброженного осадка промывкой и уплотнением
1 – метантенк; 2 – насосная станция; 3 – промывная камера; 4 – уплотнитель; 5 – уплотненный осадок на механическое обезвоживание; 6 – подача сжатого воздуха; 7 – подача промывной воды; 8 – подача фильтрата; 9 – выпуск иловой воды
Количество промывной воды следует принимать, м3/м3:
-
для сброженного сырого осадка - 1-1,5;
-
для сброженной в мезофильных условиях смеси сырого осадка и избыточного активного ила - 2-3;
-
то же в термофильных условиях - 3-4.
Продолжительность промывки следует принимать 15 - 20 минут, число резервуаров для промывки осадка не менее двух.
Для исключения разделения осадка необходимо предусмотреть перемешивание воздухом, количество его определяется из расчета 0,5 м3/мЗ смеси промывного осадка и воды. Затем эта смесь направляется в уплотнители, где в течение 12 - 24 часов происходит уплотнение осадка. Иловая (сливная) вода направляется в голову очистных сооружений.
Реагентные методы предполагают использование для обработки осадков неорганических реагентов (хлорное железо, сернокислое железо, известь) или органических высокомолекулярных соединений (полиэлектролитов). И те, и другие приводят к снижению удельного сопротивления фильтрации в результате агрегации коллоидных и мелких нерастворенных частиц.
Несмотря на то, что промывка является эффективным приемом снижения удельного сопротивления сброженных осадков, для коагуляции промытого осадка требуются все же значительные дозы минеральных реагентов. На рисунке 7 приведена схема подготовки осадка перед механическим обезвоживанием. Из уплотнителя промытый осадок влажностью 94 - 96% удаляется при помощи насосов. Перед подачей на вакуум-фильтр или фильтр-пресс осадок подвергается кондиционированию. В качестве реагентов обычно применяют хлорное железо или сернокислое окисное железо и известь в виде 10%-ного раствора. Средняя доза железа составляет 4 — 6% массы сухого вещества осадка, а извести — 10 — 15 %. Частицы осадка объединяются хлопьями гидроксида железа в крупные агрегаты. В результате такой обработки удельное сопротивление осадка значительно снижается и осадок легче отдает воду. Реагенты вводятся непосредственно перед подачей осадка на механическое обезвоживание.
Безреагентное кондиционирование осуществляется методами тепловой обработки и замораживания-оттаивания.
Рисунок 7 - Схема подготовки осадка перед механическим обезвоживанием
1 – метантенк; 2 – дробилка; 3 – подача воды; 4 – подача сжатого воздуха; 5 промывка осадка; 6 – уплотнитель; 7 – плунжерные насосы; 8 – резервуар уплотненного осадка; 9 – подача коагулянта; 10 – отделения коагулирования; 11 – винтовые (шнековые) насосы;
12 – фильтр-пресс; 13 – транспортер обезвоженного осадка; 14ь- смеситель коагулянта с осадком; 15 – отвод фильтрата
Сущность метода тепловой обработки осадков состоит в прогревании осадка в реакторе в течение определенного времени при температуре 140 - 200ºС.
В процессе тепловой обработки происходит распад органических веществ, в основном белков, их растворение и переход твердой фазы осадков в жидкую. При этом изменяется структура осадков, их зольность и частично химический состав, достигаются улучшение водоотдачи и обезвреживание осадков. При тепловой обработке удельное сопротивление осадков снижается до значений, позволяющих обезвоживать осадки на вакуум-фильтрах и фильтр-прессах без обработки химическими реагентами. Тепловой обработке могут подвергаться как сброженные, так и сырые осадки.
Одним из достоинств метода тепловой обработки является полная стерильность обработанного осадка. При обезвоживании такого осадка на вакуум-фильтре образуется кек влажностью 55-70%. К недостаткам метода относятся сложность конструкции реактора, большие энергетические затраты и высокая концентрация органических веществ в фильтрате, которые необходимо направлять на биологическую очистку. При тепловой обработке выделяются дурно пахнущие газы, требующие предварительной очистки перед выбросом их в атмосферу.
Замораживание и последующее оттаивание осадков сопровождается изменением их структуры, при этом связанная влага частично переходит в свободную, и это приводит к улучшению водоотводящих свойств осадков. Такие осадки можно подвергать механическому обезвоживанию без коагулирования химическими реагентами.
Искусственное замораживание осадков проводится в холодильных установках непосредственного контакта в барабанных или панельных льдогенераторах. Непременным условием, обеспечивающим снижение стоимости процесса за счет уменьшения расхода электроэнергии, является рекуперация теплоты фазовых переходов, обеспечивающая оттаивание осадка за счет теплоты, выделяемой при замораживании. Для искусственного замораживания 1 м3 осадка расходуется около 50 кВт электроэнергии.














