125267 (593094)
Текст из файла
67
Содержание
Реферат
Введение
1. Описание функционирования котельной установки
1.1 Общая характеристика установки
1.2 Описание схемы типовой котельной установки
1.3 Описание технологического оборудования для производства пара
1.4 Схемы перевода котлов типа ДКВр в водогрейный или паровой режимы
2. Схема управления котельной установкой
2.1 Структура системы управления
2.2 Выбор и описание контроллера
2.3 Выбор и описание датчиков
2.4 Синтез системы управления котельной установкой
2.5 Реализация корректирующих устройств на регуляторах
3. Создание диспетчерского центра
3.1 Аппаратная часть
3.2 Программное обеспечение
4. Проектирование системы автоматизированного управления с использованием пакета Rational Rose
4.1 Построение структуры системы
4.2 Построение алгоритма работы системы
4.3 Генерация программного кода
5. Технико-экономическое обоснование
5.1 Пути снижения затрат за счет внедрения системы
5.2 Технико-экономические показатели эффективности от внедрения новой системы автоматизации
5.2.1 Технико-экономические показатели эффективности от внедрения новой системы автоматизации
5.2.2 Расчет стоимости оборудования
5.2.3 Годовые затраты на ремонтные работы
5.2.4 Годовые затраты на электроэнергию
5.2.5 Годовые амортизационные отчисления на оборудование
5.2.6 Годовые затраты на эксплуатацию
5.2.7 Прочая экономия
5.2.8 Годовая экономия от внедрения АТК
5.2.9 Годовой экономический эффект
5.2.10 Капитальные затраты на разработку и ввод в эксплуатацию АСУ ТП
5.2.11 Срок окупаемости капитальных вложений
5.2.12 Сводная таблица основных параметров
6. Охрана труда и окружающей среды
6.1 Описание объекта с точки зрения охраны труда
6.2 Разработка требований безопасности труда для обслуживающего персонала
6.3 Описание рабочего места оператора
6.4 Мероприятия по производственной санитарии и гигиене труда
6.5 Мероприятия по предотвращению электрошока
6.6 Обеспечение пожаробезопасности
6.7 Влияние котельных установок на окружающею среду
6.8 Мероприятия, проводимые на котельной станции в области охраны окружающей природной среды и рационального природопользования
Список используемой литературы
Приложение А
Реферат
Пояснительная записка состоит из 106 страниц текста, содержит 32 графических иллюстраций, шести таблицы. При работе над проектом были проанализированы основные источники материала, содержащие как специфичные, так и нормативные документы, использовано более 20 научных работ, докладов и профессиональных журналов.
Графическая часть состоит из 7 листов формата А1.
Перечень ключевых слов: система автоматического управления, диспетчерский центр, котельная установка, модернизация, контроллер.
Целью работы было проектирование диспетчерского центра котельных установок установкой способной работать в различных режимах, в зависимости от нагрузки. Основное управление процессом осуществляется микроконтроллером, алгоритмы функционирования которого содержат модули общего назначения, противоаварийные модули и каскадные контура регулирования параметров. Графическая реализация интерфейса проводимых работ осуществляется в главной операторной, основными функциями которой является предоставление полной информации оператору, дистанционное регулирование параметров, архивирование. Взаимодействие АПС с центральным контроллером осуществляется по медному кабелю с разъемом RJ11. Наличие человека в данной системе обуславливается сложностью и динамичность технологического процесса. Надежность системы реализуется за счет аппаратного резервирования; временной и функциональной избыточности; наличия систем диагностики и самодиагностики, что накладывает определенные требования на устанавливаемое оборудование. Все компоненты расположенные во взрывоопасной зоне должны иметь соответствующее техническое исполнение, высокие показатели точности, низкую инерционность (в отдельных случаях), малую связь с контактирующей средой. Эти факторы во многом определяют то, что надежность системы не будет зависеть от внедряемого оборудования и точно реализовывать принципы управления.
При экономическом анализе внедрения проектируемой системы, необходимо выделить основные факторы, говорящие о том, что система является выгодной. К ним относятся большой получаемый экономический эффект с малыми затратами на эксплуатацию, при том, что срок окупаемости внедряемой системы в 41 раз ниже нормативного, а наблюдение за состоянием системы производится всего тремя специалистами (операторами). На основании чего можно сказать, что система является полностью автоматической и требует только от оператора анализа ее работы.
Введение
В современном мире трудно представить себе жизнь без использования топлива, причем не в первобытном смысле – путем сжигания и только, а с максимальным использованием его теплового потенциала. Имеется ввиду использование теплоты сгорания топлива для ведения технологических процессов а также в энергетических установках непосредственно или путем передачи ее с помощью промежуточного теплоносителя. Самые распространенные теплоносители – водяной пар и вода.
Водяной пар используют для отопления промысловых и жилых зданий и сооружений, для производства электроэнергии, вместе с горячей водой нагнетают в пласты при добыче нефти для увеличения нефтеотдачи месторождений, разогрева эксплутационных скважин, в паровых турбинах и машинах и т.д.
В настоящее время в России и в странах СНГ эксплуатируется огромное количество котельных установок, которые в подавляющем большинстве морально и физически устарели, что приводит к значительным потерям тепла при производстве пара и подогреве воды. В связи с этим вопросы повышения технического уровня котельных, в частности, их эффективности и надежности, имеют важное народнохозяйственное значение и поэтому являются основными в деятельности многих научно-исследовательских и конструкторско-технологических организаций.
Основными направлениями развития опытно-конструкторских и научно-исследовательских работ являются:
-
Дальнейшая разработка и создание гибких унифицированных рядов котельных общего назначения, на основе которых должны создаваться специальные котельных по единичным и малым заказам.
-
Дальнейшая разработка и внедрение модульных котельных установок с максимальной степенью заводской готовности.
-
Проведение мероприятий, направленных на экономию материальных и энергетических ресурсов путем совершенствования конструкций теплообменной аппаратуры, использования вторичных энергоресурсов, внедрения прогрессивных технологических процессов и новых материалов, в том числе пластмасс и керамики.
-
Проведение работ по совершенствованию котельных путем организации рабочего процесса и конструкций машин на основе фундаментальных экспериментальных и теоретических исследований, математических моделей и подсистем САПР, создание комплексных математических моделей отдельных типов машин, описывающих рабочие процессы с учетом прочности и надежности конструкций и металлоемкости. Создание и внедрение норм расчета, оптимизированных программ экспериментальных исследований, стандартов на методы испытаний котельных и их элементов.
-
Исследования и разработка мероприятий по уменьшению шума и вибраций котельного оборудования, по повышению его надежности, безопасности и экологичности.
-
Ускорение создания системы стандартизации, внедрение единой классификации, терминологии и обозначений в области создания котельных установок с учетом международных стандартов.
-
Разработка и создание стандартных и передвижных автоматизированных измерительных комплексов для проведения испытаний котельных в соответствии с типовыми методиками при одновременной обработке опытных данных с использованием ЭВМ. Разработка и внедрение типовых схем и программ измерений, увязанных с соответствующими датчиками, преобразователями сигналов, программами обработки и анализа опытных данных в ходе испытаний.
-
Продолжение разработки и создание эффективных антиобледенительных систем.
-
Расширение работ по модернизации эксплуатируемого котлов и котельного оборудования с сохранением основных, особенно крупногабаритных элементов, и повышению основных технико-экономических характеристик с учетом требований эксплуатации.
-
Продолжение работы по созданию систем эффективных систем теплообменного оборудования.
В основном, котельные установки являются неотъемлемой составной частью большинства промышленных и общественных комплексов (химических, нефтеперерабатывающих, газовых, автомобильных, научно-исследовательских). Основная задача КУ – бесперебойное обеспечение объекта паром и горячей водой с заранее установленными параметрами. Следовательно отказ КУ приводит к простою всего комплекса или, как минимум, его большую часть, а это колоссальные убытки. Снижение расходов на обслуживание и продление межремонтного срока, а также упрощение диагностики неполадок в совокупности с повышением надежности, позволяет говорить о значительной выгоде связанной с применением новой системы управления вместо традиционной при модернизации существующих станций.
КУ требует постоянного контроля со стороны обслуживающего технического персонала, и предусматривает сохранение нормативных показателей работы основных узлов. Однако нестабильность нагрузки, которой подвергается КУ, приводит к сокращению как общих часов наработки, так и межремонтных сроков эксплуатации оборудования. Внедрение новой линейки управляющих средств, так и исполнительных механизмов позволило значительно улучшить показатели надежности, ремонтопригодности и экономической выгоды КУ. В основном, применялось оборудование из семейства, прошедшего тестирование на подобных агрегатах и показавших себя наилучшим образом, с расширенными функциональными возможностями (расширение основной платформы интегрированных модулей, наличие сетевых узлов, оптимизация и упрощение программных компонентов), приемлемыми показателями точности измерений.
1. Описание функционирования котельной установки
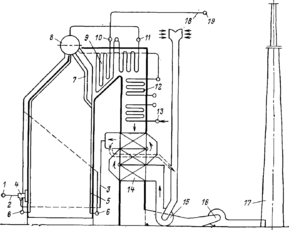
Водяной пар соответствующего давления и температуры (или горячую воду заданной температуры) получают в котельной установке, представляющей собой совокупность устройств и механизмов для сжигания топлива и получения пара. Котельная установка состоит из одного или нескольких рабочих и резервных котельных агрегатов и вспомогательного оборудования, размещаемого в пределах котельного цеха или вне его. Общее представление о рабочем процессе котельного агрегата на газообразном топливе дает схема котельного агрегата с основными и вспомогательными устройствами.
-
Общая характеристика установки
Источником теплоснабжения является реконструируемая котельная. Теплоноситель - пар и перегретая вода. Питьевая вода используется только для систем горячего водоснабжения. Для технологических нужд используется пар Р=0,6МПа. Для приготовления перегретой воды с температурой 150-70С предусматривается сетевая установка, для приготовления воды с t=65°С - установка горячего водоснабжения.
Система теплоснабжения - закрытая. В следствии отсутствия непосредственного водоразбора и незначительной утечки теплоносителя через неплотности соединений труб и оборудования закрытые системы отличаются высоким постоянством количества и качества циркулируемой в ней сетевой воды.
В закрытых водяных системах теплоснабжения воду из тепловых сетей используют только как греющую среду для нагревания в подогревателях поверхностного типа водопроводной воды, поступающей затем в местную систему горячего водоснабжения. В открытых водяных системах теплоснабжения горячая вода к водоразборным приборам местной системы горячего водоснабжения поступает непосредственно из тепловых сетей.
На промплощадке трубопроводы теплоснабжения прокладываются по мостам и галереям и частично в непроходных лотковых каналах типа Кл. Трубопроводы прокладывают с устройством компенсации за счет углов поворотов трассы и П-образных компенсаторов.
Трубопроводы приняты из стальных электросварных труб с устройством теплоизоляции.
-
Описание схемы типовой котельной установки
Рис.1.2.1 Схема котельного агрегата
Характеристики
Тип файла документ
Документы такого типа открываются такими программами, как Microsoft Office Word на компьютерах Windows, Apple Pages на компьютерах Mac, Open Office - бесплатная альтернатива на различных платформах, в том числе Linux. Наиболее простым и современным решением будут Google документы, так как открываются онлайн без скачивания прямо в браузере на любой платформе. Существуют российские качественные аналоги, например от Яндекса.
Будьте внимательны на мобильных устройствах, так как там используются упрощённый функционал даже в официальном приложении от Microsoft, поэтому для просмотра скачивайте PDF-версию. А если нужно редактировать файл, то используйте оригинальный файл.
Файлы такого типа обычно разбиты на страницы, а текст может быть форматированным (жирный, курсив, выбор шрифта, таблицы и т.п.), а также в него можно добавлять изображения. Формат идеально подходит для рефератов, докладов и РПЗ курсовых проектов, которые необходимо распечатать. Кстати перед печатью также сохраняйте файл в PDF, так как принтер может начудить со шрифтами.















