125007 (593054), страница 6
Текст из файла (страница 6)
На рис. 1 изображено устройство для перетока жидкости и движение жидкости через устройство на обратном и прямом ходах.
Клапан состоит из корпуса 1, закрепленного в плунжере 2. Внутри корпуса установлена диафрагма 3 с центральным отверстием. Со стороны гидравлической камеры в корпусе установлен клапан торможения прямого хода 4. Клапан 4 имеет центральное отверстие 5, осуществляющее гидравлическое торможение при прямом ходе, и несколько периферийных отверстий 6. Со стороны газовой полости в корпусе установлен клапан обратного торможения 7, выполненный в виде усеченного конуса с днищем, фланцем и отверстиями в днище 8 и боковой стенке 9. Отверстие в днище 8 осуществляет гидравлическое торможение при обратном ходе. Клапан пружиной 10 поджат к гайке 11, которая через распорную втулку 12 контрит диафрагму 3. Клапаны 4,7 и диафрагма 3 имеют кольцевые контактные поверхности 13.
Площади и диаметры отверстий в клапане обратного торможения 7 и отверстий 6 в клапане прямого торможения 4, расстояние между контактными поверхностями клапанов и диафрагмы и диаметр центрального отверстия диафрагмы 3 определяются из условия заполнения камеры после выпуска стойки.
Клапан работает следующим образом.
После выпуска стойки амортизатор находится примерно в вертикальном положении. Жидкость, которая перетекла в газовую полость из гидравлической, перетекает обратно в гидравлическую полость через отверстия в клапанах 4 и 7 и диафрагме 3 и кольцевые зазоры между клапанами и диафрагмой.
Движение жидкости при переливе показано на рис.1…..
При прямом ходе клапан 4 давлением жидкости прижимается к диафрагме 3. При этом дросселирование жидкости в газовую полость осуществляется отверстием 5, так как его площадь значительно меньше площади отверстий в диафрагме 3, клапане 7 и площади кольцевого зазора между клапаном и диафрагмой, 7 и 3.
При обратном ходе, так как усилие затяжки пружины составляет 2÷3 веса клапана 7, что соответствует перепаду давления срабатывания клапана ≈0,04 атм (перепады давлений на клапане при обратном ходе составляют 200÷300 атм), клапан 7 прижимается к диафрагме.
При этом дросселирование жидкости осуществляется только через отверстие в днище 8.
Устройство для перетока жидкости в пневмогидравлическом амортизаторе шасси, содержит корпус с центральным отверстием, и размещенный в нем плавающий клапан обратного торможения с центральным отверстием, от установленного в стандартном устройстве, отличается тем, что, с целью уменьшения веса амортизатора путем изменения внутренних габаритов устройства для обеспечения необходимого времени заполнения гидравлической камеры амортизатора при минимальной высоте столба жидкости, оно снабжено диафрагмой с центральным отверстием, клапаном торможения прямого хода с центральными и боковыми отверстиями, размещенными в полости, образованной диафрагмой и корпусом устройства. А также гайкой, завинченной в верхней части устройства, и распорной втулкой для контровки диафрагмы. При этом плавающий клапан обратного торможения выполнен в виде усеченного конуса с днищем в узкой части и фланцем в широкой и поджат пружиной к гайке, контрящей через распорную втулку диафрагму. Причем внешний диаметр клапана торможения прямого хода больше диаметра центрального отверстия корпуса, а каналы торможения прямого и обратного ходов размещены с радиальным зазором относительно корпуса и распорной втулки.
1.3.6 Разработка сигнализатора давления для авиационных пневматиков
В существующей конструкции самолета Ту-154 не предусмотрено никакого устройства для измерения давления в пневматике. При обслуживании самолета по всем периодическим формам и по оперативной форме "Б" предусматривается замер давления в пневматиках колес и подкачка их воздухом или азотом в случае необходимости. Для замера давления используется ручной переносной манометр нажимного принципа действия. Его использования в технической эксплуатации имеет следующие недостатки:
- невысокая точность измерений, возможность считывания со шкалы манометра ложных показаний в случае установки его на ниппель с большим перекосом;
- наличие лишних операций при зарядке воздухом пневматиков: необходимо сначала замерить давление в пневматике, затем подзарядить его, после чего вновь произвести замер.
Предлагаемое устройство будет лишено этих недостатков, так как оно жестко закреплено на барабане колеса и его показания зависят только от величины давления зарядки пневматика. Кроме того, это устройство позволяет визуально контролировать давление зарядки пневматика в любой момент времени без использования дополнительных приспособлений, в том числе и подкачки колес, что позволяет избежать перезарядки или недозарядки пневматиков.
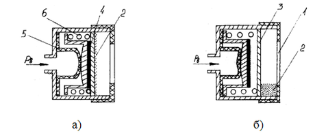
Данный сигнализатор разработан японской фирмой "Nissan motors". Состоит из корпуса, диафрагмы, магнита и яркой металлической пластины. Пластина прикрыта прозрачным колпачком – окошечком. Между ним и пластиной насыпан металлический порошок серого цвета. Схема работы сигнализатора давления показана на рисунке:
а) – давление в пневматике колеса нормальное. Через колпачок 1 виден серый металлический порошок 2, показывающий индикаторную пластину 3. Порошок притягивается магнитом 4, который прижат к пластине 3 диафрагмой 5;
б) – давление в камере понижено. Пружина 6 оттянула магнит 4, порошок 2 осыпался, и стала видна яркая металлическая пластина 3.
Данный сигнализатор давления необходимо устанавливать в вертикальной плоскости.
1.3.6.1 Проверочный расчет индикатора давления воздуха
Исходные данные:
Давление воздуха в пневматике P=0,95±0,5 МПа.
Рабочий ход поршня с магнитом L=0,005 м.
Диаметр поршня d=0,005 м.
Сила, действующая на поршень от давления зарядки пневматика:
где P – давление воздуха в пневматике;
F – площадь поршня,
Определим усилие на поршень при максимальной РBmax и минимальной РВmin зарядке пневматика:
При усилии РBmax=19,62 Н поршень находится в крайнем правом положении на упоре. При усилии РВmin=17,66 Н он сдвинут влево на 0,005 м и уравновешен усилием пружины, с одной стороны, и усилием воздуха с другой.
Коэффициент жесткости пружины необходимой для нормальной работы приспособления:
1.3.7 Конструктивное усовершенствование замка убранного положения основной опоры шасси
Установленный замок убранного положения основной опоры шасси на самолете Ту-154 имеет корпус, запорный крюк с хвостовиком и пружиной, установленный на поворотной оси и взаимодействующий с петлей шасси и защелкой, установленной на поворотной оси, параллельной оси запорного крюка, и взаимодействующий с силовым управляющим цилиндром. Это замковое устройство имеет большие габариты и вес, что приводит к увеличению размеров и веса Ту-154. Также при долговременной эксплуатации наблюдается ненадежная фиксация стойки в убранном положении.
Целью усовершенствования является повышение надежности работы и снижение веса замкового устройства.
Для достижения этой цели в замковом устройстве, содержащем запорный крюк с хвостовиком и пружиной, установленный на поворотной оси и взаимодействующий с петлей шасси и защелкой, установленной на поворотной оси, параллельной оси запорного крюка, и взаимодействующий с силовым управляющим цилиндром, при этом один конец пружины закреплен на хвостовике запорного крюка, а другой конец пружины соединен с защелкой, продольная ось пружины расположена между петлей шасси и поворотной осью запорного крюка при закрытом замковом устройстве.
Предлагаемое замковое устройство состоит из корпуса 1, в котором на оси 2 размещен с возможностью поворота запорный крюк 3 и на оси 4 – приводная защелка 5. Хвостовик 6 запорного крюка 3 имеет кронштейн 7 с зацепом 8, на котором закреплен один конец пружины 9 растяжения, а другой ее конец закреплен на приводной защелке 5, прижимающей защелку к упору 10 на запорном крюке 3 в закрытом положении устройства. На корпусе 1 установлен управляющий силовой цилиндр 11, шток 12 которого взаимодействует с роликом 13, установленным на приводной защелке 5, и подпружинен с помощью пружины 14. Силовой гидравлический цилиндр 11 имеет штуцер 15 для подсоединения линии "открытие замка" и штуцер 16 для подсоединения линии "закрытие замка". В корпусе 1 установлен упор 17 для запорного крюка 3 в открытом положении замкового устройства. Корпус 1 замкового устройства закреплен на каркасе 18 летательного аппарата, петля 19 установлена на опоре шасси. Отличается тем, что продольная ось расположена между осью петли шасси и поворотной осью запорного крюка при закрытом замковом устройстве.
Замковое устройство работает следующим образом. В закрытом положении устройства петля 19 расположена между крюком 3 и корпусом 1, при этом защелка 5 под действием пружины 9 находится на упоре 10 запорного крюка 3, тем самым, препятствуя его открытию. Шток 12 силового управляющего цилиндра 11 под действием пружины 14 находится на упоре корпуса.
При подаче давления жидкости из линии "открытие замка" в штуцер 15 шток 12 цилиндра 11 перемещается, обжимая пружину 14, и вступает в взаимодействие с роликом 13 приводной защелки 5, в результате чего она поворачивается и освобождает запорный крюк 3, растягивая при этом пружину 9. Под действием усилия на петле 19 от подъемника опоры шасси и под воздействием пружины 9 запорный крюк 3 поворачивается, освобождая петлю 19 опоры шасси, и опора шасси начинает движение на выпуск шасси, при этом под усилием пружины, меньшим, чем при открытии приводной защелки 5, запорный крюк 3 поворачивается до упора 17.
После снятия давления из штуцера 15, шток 12 силового управляющего цилиндра 11 под действием пружины 14 перемещается до упора в корпусе, освобождая ролик 13 приводной защелки 5. Замок открыт.
При закрытии замкового устройства давление из линии "закрытие замка" поступает в штуцер 16 силового управляющего цилиндра 11 и в случае недохода штока 12 до упора под воздействием пружины 14 он ставится на упор в корпусе под действием этого давления. Петля 19 опоры шасси подходит к замку вступает во взаимодействие с хвостовиком 6 крюка 3, поворачивает его, растягивая пружину, при этом приводная защелка 5 скользит по крюку 3. После перемещения петли до упора в корпус крюк 3 освобождает защелку 5 и она поворачивается до упора 10 крюка 3 обеспечивая закрытое положение.
2. Специальная часть
С целью улучшения условий трута наземного обслуживающего персонала, в дипломном проекте предлагается разработка установки для технического обслуживания шасси самолета.
2.1 Краткая характеристика механизации, применяемой при техническом обслуживании самолета Ту – 154
Для обслуживания гидравлической системы самолета, а также зарядки пневматических элементов сжатым азотом и питания электрических потребителей постоянным током применяется универсальный, передвижной гидравлический агрегат УПГ-300.
Сжатый воздух используется для зарядки пневматиков колес, проверки герметичности кабины, продувки и очистки деталей агрегатов при техническом обслуживании. Для обеспечения самолета сжатым воздухом используются аэродромные компрессорные станции высокого давления (АКС-8, УКС-400В) и низкого давления (КНД-4), воздухозаправщик (ВЗ-20-300), транспортные баллоны, приборы для контроля кондиционности воздуха, редукторы и манометры. Для наполнения углекислотой огнетушителей и углекислотных баллонов бортовых противопожарных систем применяется автомобильная углекислотно-зарядная станция АУЗС-2М.
Для заправки самолета ГСМ и спецжидкостями применяются топливозаправщики типа ТЗ-16, ТЗ-22, маслозаправщики типа МЗ-51М, МЗ-150, водоспиртозаправщики типа ВСЗ-66 и заправщики специальными жидкостями ЗСЖ=66.
Для вывешивания самолета, при проверке работы системы уборки-выпуска шасси, замене стоек и тележек шасси, используются гидравлические подъемники. При замене колес только на одной из стоек шасси нет необходимости вывешивать на подъемниках весь самолет. В этом случае применяется гидродомкрат с ручным насосом НР-1- 01.
Для монтажа и демонтажа пневматиков колес применяются установки типа УМК-2 и УМК-3, имеющую насосную установку с электроприводом.
Для диагностирования технического состояния самолета и его систем применяются различные системы диагностики, приборы, бортовые самописцы.
Для электропитания самолета применяются как стационарные источники электроэнергии так и аэродромные передвижные агрегаты типа АПА-50, АПА-100, которые обеспечивают питание систем самолета постоянным током с напряжением 28,5 В, переменным трехфазным током c напряжениями 36 В и 208 В, частотой 400 Гц.
2.2 Основные требования, предъявляемые к машинам и механизмам, используемым при техобслуживании воздушных судов
В соответствии с нормами летной годности самолетов гражданской авиации (НЛГС ГА) к машинам и механизмам, используемым при техобслуживании воздушных судов, предъявляются следующие требования:
-
Обеспечение минимально возможного времени техобслуживания воздушного судна;
-
Возможно большая простота конструкции и удобство в эксплуатации;
-
Большой срок службы и экономичность;
-
Надежность работы и возможность эффективного использования в широких диапазонах климатических и метеорологических условий;
-
Минимальное количество обслуживающего персонала;
-
Безопасные и безвредные условия труда.
Кроме общих условий каждый вид средств механизации должен удовлетворять также ряду специальных требований, вытекающих из его функционального назначения.
Средства механизации, также, должны быть комбинированными и универсальными, то есть такими, чтобы их можно было использовать при техобслуживании воздушных судов различных типов.














