123102 (592765)
Текст из файла
Аннотация
Дипломная работа, 119 с., 16 рис., 30 табл., 28 библиографических источников, 1 приложение.
ЖАРОПРОЧНЫЕ СПЛАВЫ, ДЕФОРМАЦИЯ, СТЕПЕНЬ ДЕФОРМАЦИИ, ГОРЯЧАЯ ОБЪЕМНАЯ ШТАМПОВКА, ОБЪЕМ ЗАГОТОВКИ, ОБЛОЙ, УСИЛИЕ ШТАМПОВКИ, ЭКОНОМИЧЕСКИЙ ЭФФЕКТ.
Данная дипломная работа направлена на разработку нового технологического процесса изготовления детали типа "фланец" из жаропрочного и жаростойкого сплава на никелевой основе ЭИ868 в условиях серийного производства. Деталь типа "фланец" применяется в компрессорной и форсажной камерах современных газотурбинных двигателей. К изделию предъявляются повышенные требования по жаропрочности материала, надежности детали, точности изготовления, качественной проработки структуры и т.д. В работе проанализирован существующий технологический процесс и предлагается создание нового технологического процесса, заключающегося в изготовлении заданного изделия горячей объемной штамповкой на фрикционном прессе. Проведены основные технологические расчеты нового процесса: проектирование формы и размеров горячей поковки, определение размеров исходной заготовки, определение потребного усилия штамповки, расчет усилия обрезки и правки полуфабриката, определение коэффициента использования материала. Рассчитана и сконструирована штамповая оснастка для горячей объемной штамповки детали типа "фланец" и обрезки облоя у отштампованного полуфабриката. Разработана система автоматизации и механизации процесса производства заданного изделия. Рассчитана себестоимость изготовления единицы продукции по старому и новому варианту технологического процесса. Определен ожидаемый годовой экономический эффект от внедрения нового технологического процесса. Предложены мероприятия по безопасности труда и промышленной экологии.
Оглавление
ВВЕДЕНИЕ
1. Задание на технологическое проектирование
2. Сведения о материале изделия
2.1. Основные жаропрочные сплавы на никелевой основе
2.2. Химический состав и механические свойства сплава ЭИ868
2.3. Термическая обработка сплава ЭИ868
3. КРАТКОЕ ОПИСАНИЕ БАЗОВОГО ТЕХНОЛОГИЧЕСКОГО ПРОЦЕССА ИЗГОТОВЛЕНИЯ ДЕТАЛИ ТИПА "ФЛАНЕЦ"
4. РАЗРАБОТКА НОВОГО ТЕХНОЛОГИЧЕСКОГО ПРОЦЕССА ИЗГОТОВЛЕНИЯ ДЕТАЛИ ТИПА "ФЛАНЕЦ"
4.1. Технологическая схема разрабатываемого процесса производства детали типа "фланец" из сплава ЭИ868
4.2. Анализ чертежа чистовой детали "фланец" из сплава ЭИ868
4.3. Проектирование чертежа горячей штамповки детали "фланец" из сплава ЭИ868
4.3.1. Назначение допусков и припусков
4.3.2. Назначение напусков
4.3.3. Назначение радиусов скругления
4.4. Расчет размеров и массы заготовки
4.5. Обоснование выбора нового оборудования.
4.6. Разделка исходного материала
4.7. Нагрев заготовок под штамповку
4.8. Горячая объемная штамповка
4.8.1. Определение потребного усилия пресса и
4.8.2. Технология изготовления штампа и материалы для
изготовления штампов
4.8.3. Смазка штампов
4.9. Обрезка облоя
4.10. Пескоструйная обработка
4.11. Зачистка дефектов
4.12. Правка
4.13. Контроль качества готовой продукции
5. Разработка чертежЕЙ штамповой оснастки
6. Автоматизация технологического процесса
Выводы по технологической части работы
7. Организационно-экономический раздел
7.1. Технико-экономическое обоснование темы дипломной работы
7.2. Расчет полной себестоимости изготовления единицы продукции по базовому и новому варианту технологического процесса
7.2.1. Расчет расходов на основные материалы для изготовления единицы (штуки) продукции
7.2.2. Расчет расходов на вспомогательные материалы
7.2.3. Расчет основной и дополнительной заработной платы основных производственных рабочих
Расчет тарифной зарплаты основных производственных рабочих.
7.2.4. Расчет единого социального налога
7.2.5. Расчет расходов на электроэнергию для технологических целей.
7.2.6. Расчет затрат на возмещение износа специальной оснастки
7.2.7. Расчет расходов на содержание и эксплуатацию
производственного оборудования
7.2.8. Расчет цеховых расходов
7.2.9. Расчет общезаводских расходов
7.2.10. Расчет потерь от брака
7.2.11. Расчет внепроизводственных расходов
7.2.12. Расчет полной себестоимости
7.3. Расчет ожидаемого годового экономического эффекта от внедрения нового технологического процесса
8. Экология и безопасность
8.1. Безопасность производства
8.1.1. Идентификация опасных и вредных факторов в технологическом процессе
8.1.1.1. Микроклимат рабочей зоны
8.1.1.2. Воздух рабочей зоны
8.1.1.3. Производственное освещение
8.1.2. Разработка мер защиты от выявленных ОВФП в ТП
8.2. Устойчивость производства в чрезвычайных ситуациях
8.2.1. Факторы, влияющие на формирование ЧС в ТП
8.2.2. Разработка мер по повышению устойчивости ТП в ЧС
8.3. Промышленная экология
8.3.1. Материальный баланс выбросов и сбросов от производства
Выводы по главе
Выводы по дипломной работе
БИБЛИОГРАФИЧЕСКИЙ СПИСОК
Введение
На современном этапе, при работе в достаточно сложной экономической ситуации, основная цель, стоящая перед любым производителем заключается в снижении себестоимости изготовления единицы продукции при условии сохранения прежнего качества изделий или улучшения их качества. Это касается и предприятий авиастроительного комплекса, так как снижение себестоимости продукции позволяет снижать цены на конечную продукцию, что позволяет последней быть конкурентно-способной как на внутреннем, так и на внешнем рынках. Применительно к металлургическому заготовительному производству авиационной отрасли, к которому относиться производство полуфабрикатов и деталей двигателей самолетов, элементов фюзеляжа и планера и т.д., также необходимо стремиться к снижению отходов металла, увеличению коэффициента использования материала, так как стоимость материалов, используемых в процессе производства, играет основную роль в формировании затрат на производство тех или иных деталей [1,2].
Безусловно, детали современных газотурбинных двигателей можно изготовить многими способами – литьем, механической и слесарной обработкой и т.д. Однако наиболее оптимальными способами изготовления деталей ответственного назначения в условиях серийного или массового производства, обеспечивающими высокую точность размеров и проработку структуры материала, относительно низкую себестоимость продукции, являются методы обработки давлением и в первую очередь горячая объемная штамповка.
При горячей объемной штамповке в условиях деформационного формоизменения, нагретая заготовка деформируется в штампованный полуфабрикат, заполняя внутреннюю, рабочую полость штампа. Пи этом форма штампованного полуфабриката должна быть максимально приближена к форме готовой детали, для того чтобы минимизировать отходы материала при последующей механической обработке штампованного полуфабриката.
В условиях серийного и массового производства деталей из сталей и сплавов цветных металлов, процессы обработки металлов давлением, и в частности горячая объемная штамповка имеют ряд существенных преимуществ перед остальными металлургическими процессами:
1. При изготовлении деталей штамповкой форма и размеры штампованного полуфабриката максимально приближены к форме и размерам готовой детали, что позволяет не только уменьшить трудоемкость последующей механической обработки, но и максимально снизить объемы отходов материала при обработке резанием.
2. Процессы обработки металлов давлением, по сравнению с обработкой металлов резанием, отличаются максимальным значением коэффициента использования материала при изготовлении подобных изделий.
3. Детали, изготовленные процессами обработки металлов давлением, отличаются высоким качеством структуры материала по сравнению с процессами изготовления полуфабрикатов литьем, так как в процессе деформации неоднородная, дендритная структура литого материала, с большим количеством литых пор и интерметаллидов, превращается в мелкозернистую, равно осную деформационную структуру, что крайне важно при изготовлении деталей ответственного назначения [2].
4. Процессы обработки металлов давлением легко подвергаются автоматизации и механизации, что в свою очередь снижает трудоемкость выполнения технологических операций.
5. При изготовлении деталей штамповкой имеется возможность использовать низко квалифицированную рабочую силу, за исключением случаев изготовления, установки и наладки штампов [1,2].
1. Задание на технологическое проектирование
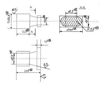
Разработать новый технологический процесс изготовления детали типа "фланец" представленной на рис.1 из жаропрочного и жаростойкого сплава на никелевой основе ЭИ868 методами горячей объемной штамповки. Деталь относится к группе ответственных изделий авиационной промышленности. Применяется в компрессорной и форсажной камерах современных газотурбинных двигателей. К детали предъявляются повышенные требования по жаропрочности и жаростойкости, качеству структуры материала, надежности длительной эксплуатации и т.д. Учесть тот факт, что имеется серийное производство детали с годовой программой выпуска 200 000 шт./год.
Рис.1.
2. Сведения о материале изделия
2.1 Основные жаропрочные сплавы на никелевой основе
При изготовлении ответственных деталей современных газотурбинных двигателей довольно часто, в качестве материалов, используют жаропрочные и жаростойкие сплавы на никелевой основе. Легированные сплавы на никелевой основе широко применяются при изготовлении газотурбинных двигателей для рабочих и сопловых лопаток и в меньшей степени — для турбинных дисков и колец [1,3].
Все жаропрочные сплавы на никелевой основе целесообразно подразделить на следующие две группы:
1. Сплавы ЭИ437, ЭИ617, ЭИ826, ЭИ929, ЭП57, ЭП220, ЖСЗ,ЖС6, ЖС6К, ЭП539, ЭИ698, содержащие Ti и А1 и упрочняющиеся вследствие образования интерметаллидной фазы γ' [N3(Ti, A1)].
2. Сплавы ЭИ827, ЭИ828, ЭИ867, ЭП109, ЭП238, содержащие только алюминий и упрочняющиеся фазой Т3А1. К этой группе сплавов относиться и сплав ХН60ВТ, имеющий обозначение ЭИ 868. Сплавы такого типа в деформированном состоянии раньше за рубежом практически не применялись. Для легирования основного твердого раствора отечественных сплавов используют одновременно молибден и вольфрам, в то время как в серийные зарубежные сплавы вводили только молибден.
Исследованиями показано, что разупрочнение сплавов с вольфрамом и молибденом меньше, чем при наличии только одного молибдена. В Англии никельхромотитанистые сплавы известны под марками нимоник 80, 80А, 90, 95, 100, 105 и 115; в США — под марками инконель X, инко 550, 700, 71ЗС, удимет 500, удимет 700, рене 41, никротанг [3].
В результате сложного легирования у сплавов этой группы достигнуты более высокие жаропрочные свойства по сравнению со сплавами на железной и даже кобальтовой основах.
Металлический никель при 800 0С имеет 100-ч длительную прочность 40 МПа. Присадка 20% Сг к никелю сравнительно мало упрочняет твердый раствор при высоких температурах и повышение предела длительной прочности составляет 25-30%. Хром улучшает окалиностойкость и, кроме того, повышает энергию связи атомов в твердом растворе системы Ni—Cr—Fe.
Введение в сплавы 2,5-3,0 % Ti способствует образованию высокодисперсных интерметаллидных фаз при умеренных температурах, увеличивая тем самым сопротивление сплава пластической деформации и повышая 100-ч длительную прочность при 800 0С до 150 МПа. Внедрение в нихромовые сплавы титана вместе с бором повышает ее до 200 МПа. Еще более значительному росту жаропрочности способствует увеличение содержания титана или алюминия (или их суммы) вместе с бором и тугоплавкими элементами - W, Мо или Nb. Установлено, что характеристическая температура, пределы длительной прочности и внутреннее трение с внедрением титана в никель и в хромоникелевые (никельхромистые) сплавы повышаются. Известно, что между скоростью роста частиц второй фазы при старении сплава на никелевой основе и длительной прочностью имеется определенное соответствие. Присадка бора ускоряет процессы укрупнения частиц.
Характеристики
Тип файла документ
Документы такого типа открываются такими программами, как Microsoft Office Word на компьютерах Windows, Apple Pages на компьютерах Mac, Open Office - бесплатная альтернатива на различных платформах, в том числе Linux. Наиболее простым и современным решением будут Google документы, так как открываются онлайн без скачивания прямо в браузере на любой платформе. Существуют российские качественные аналоги, например от Яндекса.
Будьте внимательны на мобильных устройствах, так как там используются упрощённый функционал даже в официальном приложении от Microsoft, поэтому для просмотра скачивайте PDF-версию. А если нужно редактировать файл, то используйте оригинальный файл.
Файлы такого типа обычно разбиты на страницы, а текст может быть форматированным (жирный, курсив, выбор шрифта, таблицы и т.п.), а также в него можно добавлять изображения. Формат идеально подходит для рефератов, докладов и РПЗ курсовых проектов, которые необходимо распечатать. Кстати перед печатью также сохраняйте файл в PDF, так как принтер может начудить со шрифтами.














