63273 (588924)
Текст из файла
Введение
Среди современных систем мобильной радиосвязи наиболее стремительно развиваются системы сотовой радиотелефонной связи. Их внедрение позволило решить проблему экономического использования выделенной полосы радиочастот путем передачи сообщений на одних и тех же частотах и увеличить пропускную способность телекоммуникационных сетей. Эти системы построены в соответствии с сотовым принципом разделения частот по территории обслуживания и предназначены для обеспечения радиосвязью большого числа абонентов с выходом в ТфОП.
Использование современных информационных технологий позволяет обеспечить абонентам таких сетей высокое качество речевых сообщений, надежность и конфиденциальность связи, защиту от несанкционированного доступа в сеть и еще очень широкий набор иных услуг. В настоящее время в сфере радиосвязи с подвижными объектами широко используются как аналоговые (NMT-450, NMT-900, AMPS и др.), так и цифровые стандарты (GSM-900, GSM-1800, GSM-1900, D-AMPS, и др.). Наиболее успешно развиваются мобильные технологии, связанные со стандартом GSM. По отношению к другим цифровым стандартам сотовых систем подвижной связи GSM обеспечивают лучшие энергетические и качественные характеристики связи, самые высокие характеристики безопасности и конфиденциальности связи. Стандарт GSM, кроме того, предоставляет ряд услуг связи, которые не реализованы в других стандартах сотовой связи.
Целью данного дипломного проекта является проектирование фрагмента сотовой системы связи стандарта DCS-1800 оператора «Астелит» и оценка электромагнитной совместимости данной системы.
1. Современные стандарты сотовых сетей связи
1.1 Описание и основные характеристики стандарта GSM
Использование в странах Западной Европы целого ряда аналоговых стандартов сотовой связи, не совместимых друг с другом и имеющих значительные недостатки в сравнении с цифровыми стандартами, привело к необходимости разработки единого общеевропейского цифрового стандарта сотовой связи GSM-900. Он обеспечивает высокое качество и конфиденциальность связи, позволяет предоставить абонентам большой набор услуг. Стандарт допускает возможность организации автоматического роуминга. По состоянию на июль 1999 г. доля абонентов стандарта GSM-900 составляла: в мире примерно 43%, в Западной Европе более 85%.
Стандарт GSM известен также под названиями DCS (Digital Cellular System) или PCN (Personal Communications Network), а также модификация стандарта GSM-900 для диапазона 1800 МГц: стандарт GSM-1800. Стандарт GSM включает в себя наиболее полный набор услуг по сравнению с другими.
Сотовые сети стандарта GSM изначально проектируются как сети большой емкости, рассчитанные на массового потребителя и предназначенные для предоставления широкого набора услуг абонентам при пользовании связью как внутри зданий, так и на улице, в том числе при передвижении на автомобиле [1–3].
В стандарте GSM используется TDMA, что позволяет на одной несущей частоте разместить одновременно 8 речевых каналов. В качестве речепреобразующего устройства используется речевой кодек RPE-LTP с регулярным импульсным возбуждением и скоростью преобразования речи
13 кбит/с.
Для защиты от ошибок, возникающих в радиоканалах, применяется блочное и сверточное кодирование с перемежением. Повышение эффективности кодирования и перемежения при малой скорости перемещения MS достигается медленным переключением рабочих частот в процессе сеанса связи со скоростью 217 скачков в секунду [2, 3].
Для борьбы с интерференционными замираниями принимаемых сигналов, вызванными многолучевым распространением радиоволн в условиях города, в аппаратуре связи используются эквалайзеры, обеспечивающие выравнивание импульсных сигналов со среднеквадратическим отклонением времени задержки до 16 мкс. Система синхронизации оборудования рассчитана на компенсацию абсолютного времени задержки сигналов до 233 мкс. Это соответствует максимальной дальности связи 35 км (максимальный радиус соты).
Для модуляции радиосигнала применяется спектрально-эффективная гуссовская частотная манипуляция с минимальным частотным сдвигом (GMSK). Обработка речи в данном стандарте осуществляется в рамках системы прерывистой передачи речи DTX (Discontinuous Transmission).
В стандарте GSM достигается высокая степень безопасности передачи сообщений; осуществляется шифрование сообщений по алгоритму шифрования с открытым ключом (RSA).
В целом, система связи, действующая в стандарте GSM рассчитана на ее использование в различных сферах. Она предоставляет пользователям широкий диапазон услуг и возможность применять разнообразное оборудование для передачи речевых сообщений и данных, вызывных и аварийных сигналов; подключаться к телефонным сетям общего пользования (PSTN), сетям передачи данных (PDN) и цифровым сетям с интеграцией служб (ISDN).
Ниже приведены основные характеристики стандарта GSM [4, 5]:
-
частота передачи MS и приема BTS, МГц 890–915;
-
частота приема MS и передачи BTS, МГц 935–960;
-
дуплексный разнос частот приема и передачи, МГц 45;
-
скорость передачи сообщений в радиоканале, кбит/c 270,833;
-
скорость преобразования речевого кодека, кбит/c 13;
-
ширина полосы канала связи, кГц 200;
-
максимальное количество каналов связи 124;
-
вид модуляции GMSK;
-
индекс модуляции BT=0,3;
-
ширина полосы пропускания предмодуляционного
гаусовского фильтра, кГц 81,2;
-
количество скачков по частоте в секунду 217;
-
максимальный радиус соты, км до 35;
-
схема организации каналов комбинированная TDMA/FDMA;
-
требуемое отношение несущая / интерференция 9 дБ.
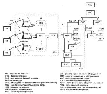
Оборудование сетей GSM включает в себя подвижные (радиотелефоны) и базовые станции, цифровые коммутаторы, центр управления и обслуживания, различные дополнительные системы и устройства. Функциональное сопряжение элементов системы осуществляется с помощью ряда интерфейсов. На структурной схеме (рисунок 1.1) показано функциональное построение и интерфейсы, принятые в стандарте GSM [5].
Рисунок 1.1 – Структурная схема сети стандарта GSM
MS состоят из оборудования, которое предназначено для организации доступа абонентов GSM к существующим сетям связи. В рамках стандарта GSM приняты пять классов MS: от модели 1-го класса с выходной мощностью до 20 Вт, устанавливаемой на транспортных средствах, до модели 5-го класса с максимальной выходной мощностью до 0,8 Вт (таблица 1.1). При передаче сообщений предусматривается адаптивная регулировка мощности передатчика, обеспечивающая требуемое качество связи. MS и BTS независимы друг от друга.
Таблица 1.1 – Классификация подвижных станций стандарта GSM
| Класс модели | Максимальная мощность передатчика, Вт | Допустимые отклонения, дБ |
| 1 | 20,0 | 1,5 |
| 2 | 8,0 | 1,5 |
| 3 | 5,0 | 1,5 |
| 4 | 2,0 | 1,5 |
| 5 | 0,8 | 1,5 |
Каждая MS имеет свой МИН – международный идентификационный номер (IMSI), записанный в ее памяти. Каждой MS присваивается еще один МИН – IMEI, который используется для исключения доступа к сетям GSM с помощью похищенной станции или станции, не обладающей такими полномочиями.
Оборудование BSS состоит из контроллера базовых станций BSC и собственно приемопередающих базовых станций BTS [3–6]. Один контроллер может управлять нескольким станциями. Он выполняет следующие функции: управление распределением радиоканалов; контроль соединения и регулировка их очередности; обеспечение режима работы с «прыгающей» частотой, модуляция и демодуляция сигналов, кодирование и декодирование сообщений, кодирование речи, адаптацию скорости передачи речи, данных и сигналов вызова; управление очередностью передачи сообщений персонального вызова.
Транскодер ТСЕ обеспечивает преобразование выходных сигналов канала передачи речи и данных MSC (64 кбит/с) к виду, соответствующему рекомендациям GSM по радиоинтерфейсу (13 кбит/с). Транскодер обычно располагается вместе с MSC.
Оборудование подсистемы коммутации SSS состоит из ЦК подвижной связи MSC, регистра положения HLR, регистра перемещения VLR, центра аутентификации AUC и регистра идентификации оборудования EIR.
MSC обслуживает группу сот и обеспечивает все виды соединений MS. Он представляет собой интерфейс между сетью подвижной связи и фиксированными сетями, такими как PSTN, PDN, ISDN, и обеспечивает маршрутизацию вызовов и функцию управления вызовами. Кроме этого, MSC выполняет функции коммутации радиоканалов, к которым относятся эстафетная передача, обеспечивающая непрерывность связи при перемещении MS из соты в соту, и переключение рабочих каналов в соте при появлении помех или неисправностей. Каждый MSC обслуживает абонентов, расположенных в пределах определенной географической зоны. MSC управляет процедурами установления вызова и маршрутизации. Для PSTN он обеспечивает функции системы сигнализации SS №7, передачи вызова или другие виды интерфейсов. Также MSC формирует данные для тарификации разговоров, составляет статистические данные, поддерживает процедуры безопасности при доступе к радиоканалу [5–7].
MSC также управляет и процедурами регистрации местоположения и передачи управления в подсистеме базовых станций (BSC). Процедура передачи вызова в сотах, управляемых одним BSC, осуществляется этим BSC. Если передача вызова осуществляется между двумя сетями, управляемыми разными BSC, то первичное управление осуществляется в MSC. Также в стандарте GSM предусмотрена процедура передачи вызова между контроллерами (сетями), относящимися к разным MSC.
MSC осуществляет постоянное слежение за MS, используя регистры: HLR (регистр положения или домашний регистр) и VLR (перемещения или гостевой регистр).
В HLR хранится та часть информации о местоположении какой-либо MS, которая позволяет MSC доставить вызов. Этот регистр содержит МИН подвижного абонента (IMS1), который используется для опознавания MS в центре аутентификации (AUC), а также данные, необходимые для нормальной работы сети GSM.
Фактически HLR является справочной БД о постоянно зарегистрированных в сети абонентах. В ней содержатся опознавательные адреса и номера, а также параметры подлинности абонентов, состав услуг связи, информация о маршрутизации, данные о роуминге абонента (включая данные о временном идентификационном номере aбoнента и соответствующем VLR) [6].
К данным, находящимся в HLR, имеют доступ все MSC и VLR сети. Если в сети имеется несколько HLR, в БД содержится только одна запись об абоненте, поэтому каждый HLR представляет собой часть общей БД сети об абонентах. К HLR также могут получать доступ MSC и VLR, относящиеся к другим сетям, с целью обеспечения межсетевого роуминга.
Регистр перемещения (VLR) – это второе основное устройство, обеспечивающее контроль за передвижением MS из соты в соту. С его помощью достигается функционирование MS за пределами контролируемой регистром положения зоны. Когда в процессе перемещения MS переходит из зоны действия одного MSC в зону действия другого, то она регистрируется последним, т.е. в регистр перемещения заносится новая информация. VLR содержит такие же данные, как и HLR, но эти данные находятся в VLR только до тех пор, пока абонент находится в зоне, контролируемой VLR.
В сетях стандарта GSM соты группируются в географические зоны (LA), которым присваивается свой идентификационный номер LAC. Каждый VLR содержит данные об абонентах в нескольких LA. При перемещении абонента из одной зоны в другую, данные о его местоположении автоматически обновляются в VLR. Если старая и новая LA находятся в зоне действия различных VLR, то данные на старом VLR стираются после их копирования в новый VLR. Текущий адрес VLR абонента, содержащийся в HLR, также обновляется.
Также VLR обеспечивает присвоение номера «блуждающей» подвижной станции (MSRN). Когда абонент принимает входящий вызов, VLR выбирает его MSRN и передает на MSC, который осуществляет маршрутизацию этого вызова к BTS, в зоне действия которой находится абонент. Кроме того, VLR распределяет номера передачи управления при передаче соединений от одного MSC к другому, управляет распределением новых TMSI и передает их в HLR, управляет процедурами установления подлинности во время обработки вызова. В целом VLR представляет собой локальную БД об абоненте для той зоны, где он находится, что позволяет исключить постоянные запросы в HLR и сократить время на обслуживание вызовов.
Для исключения несанкционированного использования ресурсов ССС в нее введены механизмы аутентификации. Центр аутентификации (AUC) состоит из нескольких блоков и формирует ключи и алгоритмы аутентификации. С его помощью проверяются полномочия абонента и осуществляется его доступ к сети. AUC принимает решения о параметрах процесса аутентификации и определяет ключи шифрования на основе БД, находящейся в регистре идентификации оборудования (EIR).
Каждый подвижный абонент на время пользования ССС получает стандартный модуль подлинности абонента (SIM-карту), который содержит: IMSI, свой индивидуальный ключ аутентификации (Ki), алгоритм аутентификации (A3). С помощью информации, записанной в SIM-карте, в результате обмена данными между MS и сетью, осуществляется полный цикл аутентификации и разрешается доступ абонента к сети.
Характеристики
Тип файла документ
Документы такого типа открываются такими программами, как Microsoft Office Word на компьютерах Windows, Apple Pages на компьютерах Mac, Open Office - бесплатная альтернатива на различных платформах, в том числе Linux. Наиболее простым и современным решением будут Google документы, так как открываются онлайн без скачивания прямо в браузере на любой платформе. Существуют российские качественные аналоги, например от Яндекса.
Будьте внимательны на мобильных устройствах, так как там используются упрощённый функционал даже в официальном приложении от Microsoft, поэтому для просмотра скачивайте PDF-версию. А если нужно редактировать файл, то используйте оригинальный файл.
Файлы такого типа обычно разбиты на страницы, а текст может быть форматированным (жирный, курсив, выбор шрифта, таблицы и т.п.), а также в него можно добавлять изображения. Формат идеально подходит для рефератов, докладов и РПЗ курсовых проектов, которые необходимо распечатать. Кстати перед печатью также сохраняйте файл в PDF, так как принтер может начудить со шрифтами.
















