63206 (588913)
Текст из файла
ЗМІСТ
Вступ
1. Технічне завдання
1.1 Розробка структурної схеми
1.2 Вибір елементної бази
1.2.1 Мікроконтролер ATmega8
1.2.2 Дешифратор SN74LS145N
2. Спеціальний розділ
2.1 Розробка принципової схеми годинників
2.1.1 Етапи створення принципової схеми
2.1.2 Опис монтажних робіт
2.2 Принципова схема інформаційного табло
Висновок
ВСТУП
Сучасну мікроелектроніку важко уявити без такої важливої складової, як мікроконтролер. Мікроконтролери непомітно завоювали світ. В останній час на допомогу людині пришла ціла армія електронних помічників. Ми привикли до них і часто навіть не підозрюємо, що в багатьох таких пристроях працює мікроконтролер.
Мікроконтролерні технології дуже ефективні. Один і той же пристій, який раніше збирався на традиційних елементах, будучи зібрано з використанням мікроконтролерів, становиться простіше. Вони не потребують налагоджування та менші за розміром. Крім цього, з використанням мікроконтролерів з’являються практично безмежні можливості по додаванню нових споживчих функцій та можливостей до вже існуючих пристроїв.
Незважаючи на те, що мікроконтролери AVR появилися на ринці близько 10 років тому, їх популярність до сьогоднішнього часу дуже велика. З кожним роком вони охоплюють все нові ланки на ринці. Не останню роль в цьому відіграє відношення показників ціна/швидкодія/енерговикористання, до цього часу являються майже найкращі на ринці 8 – бітних мікроконтролерів. Крім того постійно зростає число виготовлення сторонніми виробниками різних програмних та апаратних засобів підтримки розробок пристроїв на їх основі. Все це дозволяє говорити про мікроконтролери AVR. Мікроконтролери сімейства Mega підтримують декілька режимів низького енерговикористання, мають блок переривання, сторожевий таймер та допускають програмування безпосередньо в готовому пристрою.
Метою дипломного проекту було створення мікропроцесорної системи для багатоканального інформаційного табло, яка побудована на основі мікроконтролера ATmega8.
Для побудови мікропроцесорної системи необхідно було обрати найекономічнішу, швидкодійну та найменш енерговикористовувані елементи.
Саме тому при створенні мікропроцесорної системи була приділена увага наступним елементам: дешифратор SN74LS145N, транзисторні ключі ULN2803A,
Розроблена в дипломному проекті мікросхема SN74LS145N – являє собою двіково-десяткові монолітні дешифратори/драйвери, які складаються з восьми інверторів і десяти логічних елементів І-НІ, с чотирма входами.
Для вирішення постановленої задачі, проектування було поділено на 2 етапи. На першому етапі – створення годинників. Для їх стабільної роботи та виконання відповідних функцій необхідно було обрати наступні елементи: конденсатори, резистори, транзистори та діоди. На другому етапі побудови мікропроцесорної системи інформаційного табло необхідно було обрати найбільш ефективний та економічний спосіб відображення інформації, яку виконують світлодіоди.
1 ТЕХНІЧНЕ ЗАВДАННЯ
-
Розробка структурної схеми
Компанія Atmel (США) добре відома як на світовому, так і на українських ринках електронних компонентів і є одним із визнаних лідерів в розробці складних виробів мікроелектроніки – прилади енергозалежної пам’яті високої швидкодії та мінімального використання енергії; мікроконтролерів загального призначення та мікросхем програмованої логіки.
Мікроконтролери сімейства AVR фірми Atmel являють собою восьмирозрядну однокристальну мікро ЕОМ з спрощеною системою команд – RISC ( Restricted (Reduset) Instruction Set Computer).
До складу сімейства AVR входять мікроконтролери трьох серій –АТclassic, ATtiny та ATmega. В кожну серію входять мікроконтролери декількох типів. Мікроконтролери серії АТclassic за своїми структурними характеристикам (об’єм пам’яті, склад периферійних пристроїв) подібні к мікроконтролерам сімейства АТ89 фірми Atmel та MCS – 51 фірми Atmel. За обчислювальними можливостями вони займають середнє місце між мікроконтролерами серії ATtiny та ATmega. Мікроконтролери серії ATtiny мають найменші, а мікроконтролери серії ATmega – найбільші обчислювальні можливості в сімействі AVR. [1].
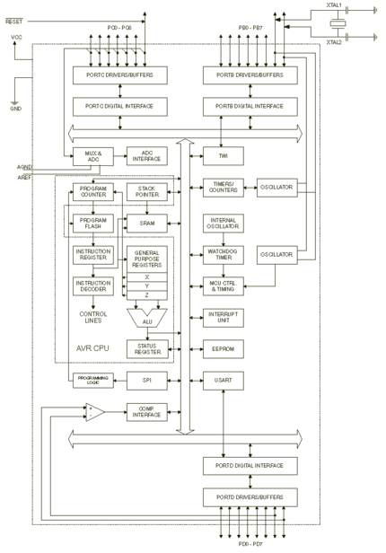
Мікроконтролери сімейства AVR мають єдину базову структуру. Узагальнена структурна схема мікроконтролера (МК) зображена на рисунку 1.
До складу мікроконтролера входять:
-
Генератор тактового сигналу (GCK);
-
процесор (CPU);
-
постійний запам’ятовуючий пристрій для зберігання програми, виконаної по технології Flash, (Flash ROM);
-
оперативно запам’ятовуючий пристрій статичного типу для зберігання даних (SRAM);
-
постійний запам’ятовуючий пристрій для зберігання даних, виконаних по технології (EEPROM);
Рисунок 1 Структурна схема мікроконтролера
-
набір периферійних пристроїв для введення та виведення даних та керуючих сигналів та виконання інших функцій.
Для побудови мікропроцесорної системи необхідно було обрати найекономічнішу, швидкодійну та найменш енерговикористовувані елементи.
На структурній схемі (рис. 2) зображено головні блоки мікропроцесорної системи та інформаційного табло. Їх роботоспроможність забезпечує блок живлення, що підключений до мережі 220V, а на виході дає 12V, яка необхідна для роботи елементів та мікроконтролера.
Від блоку живлення струм потрапляє на схему годинників де знаходяться головні елементи даної мікропроцесорної системи. За допомогою програми в Flash пам’яті, мікроконтролер виконує та опрацьовує певні команди і передає дешифратору необхідні вихідні дані, які в свою чергу пересилаються на індикатор та на блок індикації.
Для відображення інформації на інформаційному табло, який працює по принципу загальний катод, необхідний блок індикації, що розподіляє інформаційні виходи на відповідний порядковий номер в індикаторі.
Рисунок 2 Структурна схема електронних годинників та інформаційного табло
-
Вибір елементної бази
-
Мікроконтролер ATmega8
Популярність мікроконтролерів AVR на ринку, серед 8- розрядних мікроконтролерів, постійно збільшується, тому що вони мають найкращі співвідношення показників "ціна/швидкодія/енергоекономічність". Крім цього постійно збільшується кількість програмних та апаратних засобів підтримки створення приладів на їх основі.
В рамці однієї базової архітектури мікроконтролери AVR поділяються на три сімейства:
-
Classic AVR;
-
Mega AVR;
-
Tiny AVR;
Мікроконтролери сімейства Classic мають об’єм Flash пам’яті програм від 1 до 8 Кбайт (число циклів стирання/запису не менше 1000). В сімейство Classic входять мікроконтролери з різним набором периферійних пристроїв та різної кількості виводів.
Мікроконтролери сімейства Tiny мають найбільший об’єм пам’яті програм (1-8 Кбайт) та доволі обмежену кількість периферійних пристроїв. Майже всі вони виготовляються в 8-вихідних корпусів та призначенні для так званих «бюджетних» рішень, використовуваних в умовах важких фінансових обмежень. Межі використання цих мікроконтролерів – інтелектуальні датчики різного призначення (контрольні, пожарні та охороні), іграшки, зарядні прилади, різні побутові прилади та інші подібні прилади.
Мікроконтролери сімейства Mega також мають найбільший об’єм пам’яті програм та даних, але вони й мають і найбільш розвинену периферію серед всіх мікроконтролерів AVR. Mega призначенні для використання в мобільних телефонах, в контролерах різних периферійних пристроях (принтери, сканери, сучасні дискові накопичувачі) важкої офісної техніки.
Мікроконтролери обох сімейств підтримують декілька режимів зниженого використання енергії, мають блок переривання, сторожовий таймер та дозволяють програмувати безпосередньо в зібраному приладі.
До особливостей мікроконтролерів AVR сімейства MEGA можна віднести:
-
FLASH пам’ять програм від 8 до 256 Кбайт;
-
Оперативна пам'ять (статичний ОЗП) об’ємом від 512 байт до 8 Кбайт;
-
Пам'ять даних на основі EEPROM об’ємом від 256 байт до 4 Кбайт (число циклів стирання/запису не менше 100000);
-
Можливість захисту від зчитування та модифікації пам’яті програм та даних;
-
Можливість програмування безпосередньо в системі через послідовні інтерфейси SPI та JTAG;
-
Можливість само програмування;
-
Різні способи синхронізації: вмонтований RC –генератор з внутрішньою та зовнішньою часу задаючою RC – ланцюгом, вмонтований генератор з зовнішнім кварцовим або п’єзокерамічним резонатором, зовнішній сигнал синхронізації;
Мікроконтролери сімейства MEGA мають великий набір периферійних пристроїв:
-
Один або два 8-бітних таймера/лічильника. В усіх моделях з двома 8-бітними таймерами/лічильниками один з них може працювати в якості годинників реального часу (в асинхронному режимі);
-
Від одного до 16-бітних таймерів/лічильників;
-
Сторожовий таймер;
-
Аналоговий компаратор;
Послідовний синхронний інтерфейс SPI;
-
Дешифратор SN74LS145N
Мікросхема SN74LS145N – являє собою двіково-десяткові монолітні дешифратори/драйвери, які складаються з восьми інверторів і десяти логічних елементів І-НІ, с чотирма входами. Інвертори підключені в парах, щоб зробити дані входів двійково-десяткового коду доступними для декодування на логічних елементах І-НІ. Повне і правильне декодування логіки входів двійково-десяткового коду гарантує, що всі виводи залишаться захищеними для всіх недопустимих комбінацій двійкового коду. Ця високоефективна особливість дешифраторів, які побудовані на n-p-n транзисторах, дає змогу використовувати їх як для управління індикатором, так і для інших електричних пристроїв. Кожен з транзисторних виводів дешифратора SN74LS145 витримує напругу до 15 вольт і силу струму – до 80 міліампер, і кожен вхід відповідно витримує таке навантаження. Пристрій потребує близько 215 міліват потужності. Входи і виходи дешифратору повністю сумісні для роботи з ТТЛ схемами або логічними каналами ліній передачі даних, також виводи сумісні с більшістю інтегральних схем.
Рисунок 3 Графічне зображення SN74LS145N
Для побудови мікропроцесорної системи недостатньо мікроконтролера та дешифратора. Всі мікропроцесорні та навіть елементарні системи будуються за допомогою таких складових як конденсатори, резистори, діоди та інших елементів. Кожен з них виконує свою власну функцію. Стабілізації, згладжування, та збільшення опору або очищення від шумів на схемі.
2 СПЕЦІАЛЬНИЙ РОЗДІЛ
2.1 Розробка принципової схеми годинника
2.1.1 Етапи створення принципової схеми
Для реалізації теми дипломного проекту, а саме проектування мікропроцесорної системи для багатоканального інформаційного табло, необхідно створити годинник та під’єднати його до табло.
Розпочнемо з створення годинників. Для стабільної роботи та виконання відповідних функцій необхідно було обрати елементи для реалізації завдання. На даному етапі розвитку мікроелектроніки широке розповсюдження отримали AVR мікроконтролери. Однією з переваг мікроконтролерів на відмінність від мікросхем є те, що вони можуть виконувати велику кількість підпрограм завдяки потужному контролеру, який містить великий об’єм оперативної пам’яті (від 512 Кбіт), а також мікроконтролери володіють багатим різноманіттям периферійних пристроїв і великою кількістю портів вводу виводу даних. Тому в дипломному проекті було обрано саме мікроконтролер серії ATmega.
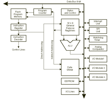
ATMega-8 - 8-розрядний КМОП мікроконтролер заснований на архітектурі Atmel AVR. Контролер виконує більшість інструкцій за 1 такт, тому обчислювальна потужність контролера рівна 1MIPS на 1 Мгц. Блок схема процесора показана на рисунку 4.
Рисунок 4 Блок – схема процесора ATMega 8
Мікроконтролер має RISC – архітектуру, але формат команди двооперандний, за один такт може бути звернення тільки до двох регістрів. Контролер містить 32 регістри, які можуть рівноправно використовуватися в арифметичних операціях.
Основні апаратні характеристики мікроконтролера:
-
8 кб флеш пам’яті команд;
-
512 байт електричнопрограмовної пам’яті;
-
1 кбайт статичної пам’яті;
-
23 лінії ввода/вивода загального призначення;
-
32 регістра загального призначення;
-
три багатоцільових таймера – лічильника з режимом порівняння;
-
підтримка внутрішніх і зовнішніх переривань;
-
універсальний асинхронний адаптер;
-
байт орієнтований двох провідний послідовний інтерфейс;
-
6/8 канальний АЦП з точністю до 8 і 10 двійкових розрядів;
-
сторожовий таймер;
-
послідовний порт SPI;
-
розширені режими управління енергоспоживання.
Основні елементи архітектури мікроконтролера ATmega8.
Ядро мікроконтролера, що зображене на рисунку 5, виконує команди програми.
Рисунок 5 Блок – схема ядра AVR
Ядро включає елементи гарвардської архітектури з незалежними шинами, тому вибірка інструкцій проводиться незалежно від операцій в арифметично логічному пристрої (АЛП).
Характеристики
Тип файла документ
Документы такого типа открываются такими программами, как Microsoft Office Word на компьютерах Windows, Apple Pages на компьютерах Mac, Open Office - бесплатная альтернатива на различных платформах, в том числе Linux. Наиболее простым и современным решением будут Google документы, так как открываются онлайн без скачивания прямо в браузере на любой платформе. Существуют российские качественные аналоги, например от Яндекса.
Будьте внимательны на мобильных устройствах, так как там используются упрощённый функционал даже в официальном приложении от Microsoft, поэтому для просмотра скачивайте PDF-версию. А если нужно редактировать файл, то используйте оригинальный файл.
Файлы такого типа обычно разбиты на страницы, а текст может быть форматированным (жирный, курсив, выбор шрифта, таблицы и т.п.), а также в него можно добавлять изображения. Формат идеально подходит для рефератов, докладов и РПЗ курсовых проектов, которые необходимо распечатать. Кстати перед печатью также сохраняйте файл в PDF, так как принтер может начудить со шрифтами.















