62946 (588868), страница 11
Текст из файла (страница 11)
К2 - коэффициент, учитывающий особенности светильников, принят 1,3.
Qосв = 3600 · 0,6 · 0,35 · 1,3 = 968 кДж/ч.
Тепло поступающее от солнечной радиации:
Qрад = g · F · C · К1 · К2, (12.6)
где g – количество тепла, выделяемое промышленным и солнечным светом на широте 56, при времени работы с 8 до 19 часов, равно 35 ккал/(ч·м2) или 146,65 кДж/(ч·м2);
F – суммарная площадь окон в помещении, для данного помещения 8 м2;
С – коэффициент отражения стекла, принимается равным 0,8;
К1 – коэффициент загрязнения атмосферы, принимается равным 0,7;
К2 – коэффициент загрязнения стекла, принимается равным 0,8.
Qрад = 147 · 8 · 0,8 · 0,7 · 0,8 = 525,6 кДж/ч.
Таким образом, в соответствии с формулами расход воздуха:
м3/ч.
12.2.4 Освещение рабочего места
гСистематическое использование мониторов и одновременная работа с документами, а так же ввод данных в ЭВМ, требует значение освещенности 300– 500 лк. В качестве источников общего освещения должны использоваться люминесцентные лампы типа ЛБ-40, а светильники общего освещения следует располагать над рабочими поверхностями в равномерно-прямоугольном порядке. Пульсация используемых люминесцентных светильников не должна превышать 5 % Высота от нижней части светильника до рабочей поверхности:
h = 4-0,8 = 3,2 м.
Индекс помещения, учитывающий геометрию помещения:
, (12.7)
где a и b – длина и ширина помещения, м;
h – высота подвеса над рабочей поверхностью, м.
.
В лаборатории, согласно СанПиН 2.2.2.542-96 /18/, обеспечиваются следующие величины коэффициентов отражения рn, рс, рр:
-
для потолка (рn) 70 %;
-
для стен (рс) 30 %;
-
для рабочей поверхности (рр) 10%.
Так как высота подвеса h достаточно высока, выбираем светильник с кривой силой света (КСС) М типа ЛПО-36 с лампами типа ЛБ-40.
Коэффициент светового потока определяется индексом помещения, коэффициентами отражения, типом КСС источника света, и в соответствии с СанПиН 2.2.2.542-96 /18/, = 0,4.
Необходимый поток каждого светильника:
, (12.8)
где Е - нормативное значение освещенности, лк;
S - площадь помещения, м2 ;
К3 - коэффициент запаса;
N - число светильников в ряду;
n - число рядов;
- коэффициент использования светового потока.
Согласно СанПиН 2.2.2.542-96 /18/ К3 = 1,5; Z =1,1 и для светильника ЛПО– 36, состоящего из двух ламп ЛБ - 40 Фс = 6240 лм.
Из формулы (12.8) число светильников в ряду:
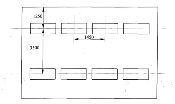
Для светильников ЛПО-36 оптимальный коэффициент равномерности освещения Z = 1,1, тогда расстояние между рядами светильников:
L = Z · h = 1,1 · 3,2 = 3,5 м.
Расстояние между стенами и крайними рядами светильников:
l = (0,3...0,5) · L = 0,4 · 3 = 1,25.
Следовательно, количество рядов светильников:
.
Расположение светильников показано на рисунке 12.2
Рисунок 12.2 – Расположение светильников в лаборатории
12.2.5 Требования к организации и оборудованию рабочих мест
Основными составляющими рабочего места пользователя является рабочий стол и рабочий стул.
Одноместный стол, которым оборудовано помещение, изготовлен из пластика, поверхность которого имеет матовый цвет и не создает бликов. Согласно требованию СанПиН 2.2.2.542-96 /18/ – не регулируемая высота рабочей поверхности стола составляет 725 мм;
-
размеры рабочей поверхности стола: длина 1400 мм, ширина 800 мм;
-
пространство для ног высотой 600 мм, шириной – 500 мм, глубиной на уровне колен – 450 мм и на уровне вытянутых ног – 650 мм.
Стул оборудован подъемно-поворотным механизмом по высоте и углам наклона сиденья и спинки.
Конструкция стула обеспечивает:
-
ширину и глубину поверхности сиденья 420 мм;
-
поверхность сиденья с закругленным передним краем;
-
высоту поверхности сиденья регулировать в пределах 400 – 500 мм и угол наклона вперед до 15 градусов и назад до 5 градусов;
-
высоту опорной поверхности спинки 320 мм, ширину 400 мм и радиус кривизны горизонтальной плоскости – 400 мм;
-
угол наклона спинки в вертикальной плоскости в пределах 0±30 градусов;
-
регулировку расстояния спинки от переднего края сиденья в пределах 260 – 400 мм;
-
стационарные подлокотники длиной 260 мм и шириной 70 мм;
-
регулировка подлокотников по высоте над сиденьем в пределах 200 – 260 мм и внутреннего расстояния между подлокотниками в пределах 350 – 500 мм.
Для обеспечения безопасности и эргономичности ПЭВМ большое значение имеет видеомонитор, который отвечает следующим требованиям. Размер экрана 35 см по диагонали, расстояние от глаз оператора до экрана около 60 см. Монитор поддерживает частоту кадровой развертки не ниже 85 Гц, что устраняет мерцание, ведущее к усталости глаз.
Видеомонитор оборудован поворотной площадкой, позволяющей перемещать ВДТ в горизонтальной и вертикальной плоскостях в пределах 130 – 220 мм и изменять угол наклона экрана в пределах 10 – 15°. Эти показатели удовлетворяют СанПиН 2.2.2.542-96 /18/.
12.2.6 Обеспечение электробезопасности
Производственное помещение, оборудованное ПЭВМ, относится к помещениям без повышенной опасности в соответствии с ПУЭ, так как это сухое, с нормальной температурой воздуха помещение, с токонепроводящими полами и отсутствием возможности одновременного прикосновения к корпусу ПЭВМ и металлическим конструкциям, имеющим соединение с землей. ЭВМ можно отнести к первому классу электротехнических изделий по способу защиты человека от поражения электрическим током, т.к. ее корпус сделан из токонепроводящей пластмассы, а ЭВМ имеет вилку с заземляющим контактом.
Оборудование в помещении питается от трехфазной сети переменного тока напряжением 220/380 В частотой 50 Гц.
Для обеспечения безопасности обслуживающего персонала и нормальной работы ПЭВМ должно быть предусмотрено защитное заземление. Произведем расчет искусственных заземлителей, размещенных в однородной земле.
Грунт вокруг здания, где расположена лаборатория - суглинок. Здание расположено во второй климатической зоне.
Согласно ПУЭ наибольшее допустимое значение сопротивления заземляющего устройства для данного случая составляет Rдоп = 4 Ом. Удельное электрическое сопротивление грунта на участке, где будут расположены заземлители, для суглинка = 100 Ом·м.
Для заземления стационарных электроустановок наибольшее распространение получили групповые искусственные заземлители, размещённые в земле на определённой глубине. Они представляют собой систему вертикальных электродов, параллельно соединённых между собой горизонтальным проводником связи.
Определим сопротивление одиночного вертикального электрода (стальной стержень диаметром 12 мм) по формуле:
, (12.9)
где l - расчетное удельное сопротивление;
- длина вертикального электрода, примем
=3 м;
t - расстояние от поверхности земли до центра электрода, определяется как t=t0+
/2, при t0 = 0,7 м t = 2,2 м.
Расчетное удельное сопротивление определяется как
l = · ψ, (12.10)
где - удельное электрическое сопротивление земли, для суглинка = 100 Ом · м;
ψ - коэффициент сезонности, при длине вертикального электрода 3 м ψ = 1,5;
l =100 · 1,5=150 Ом · м.
Тогда сопротивление одиночного вертикального электрода
Ом.
Ориентировочное количество n вертикальных электродов определим следующим образом. Найдем произведение коэффициента использования вертикальных электродов в на их количество n по формуле вn = Rв/ Rдоп = 53/4 = 13,25. При отношении расстояния между соседними электродами к их длине, а/
=2 при расположении электродов в ряд необходимое количество электродов n = 17, коэффициент использования в =0,69.
Рассчитаем длину горизонтального проводника связи по формуле:
L = 1,05 · (n-1) · a = 1,05 · (17-1) · 6 = 101 м.
Сопротивление горизонтального проводника связи в виде стальной полосы шириной b = 0,04 м, соединяющего верхние концы электродов, определим по формуле:
, (12.11)
где 2 = · ψ = 100 · 3 = 300 Ом · м,
Ом.
Результирующее сопротивление искусственного группового заземления рассчитаем по формуле:
, (12.12)
где г – коэффициент использования электрода г = 0,6.
Ом.
Данное значение сопротивления RИ соответствует требованиям ПУЭ (3,2<4Ом).
12.2.7 Электромагнитное излучение на рабочем месте
В соответствии с СанПиН 2.2.2.542-96 /18/ временные уровни электромагнитных полей, создаваемых ПЭВМ на рабочих местах пользователей не должны превышать значений, указанных в таблице 12.2:
Таблица 12.2 – Уровни электромагнитных полей
| Наименование параметров | ВДУ ЭМП | |
| Напряженность электрического поля | В диапазоне частот 5 Гц – 2 кГц | 25 В/м |
| В диапазоне частот 2 кГц – 400 кГц | 2,5 В/м | |
| Плотность магнитного потока | В диапазоне частот 5 Гц – 2 кГц | 250 нТл |
| В диапазоне частот 2 кГц – 400 кГц | 25 нТл | |
| Электрический потенциал экрана видеомонитора | 500 В | |
| Напряженность электростатического поля | 15 кВ/м | |
12.3 Пожарная безопасность в помещениях с вычислительной техникой.
В современных ЭВМ, которыми оборудованы рабочие места в лаборатории, очень высока плотность размещения элементов электронных микросхем. В непосредственной близости друг от друга располагаются соединительные провода, коммутационные кабели. При протекании по ним электрического тока выделяется значительное количество теплоты, что может привести к повышению температуры отдельных узлов до 80 100 С. При этом возможно оплавление изоляции соединительных проводов, их оголение, и как следствие, короткое замыкание, которое сопровождается искрением, ведет к недопустимым перегрузкам элементов электронных схем. Последние, перегреваясь, сгорают с разбрызгиванием искр. Напряжение к электроустановкам подается по кабельным линиям, которые представляют собой особую пожарную опасность. Наличие горючего изоляционного материала, вероятных источников возгорания в виде электрических искр и дуг, разветвленность и труднодоступность, делает кабельные линии местом наиболее вероятного возникновения и развития пожара.
Здание, в котором размещается проектно-конструкторская лаборатория, в соответствии с НПБ 105-95 /12/ относится к категории пожарной опасности Д и имеет степень огнестойкости II.
4>















