62927 (588860)
Текст из файла
Введение
Темой данного дипломного проекта есть разработка микшерного пульта. В связи с постоянным развитием культурной деятельности, увеличивается число концертов. В последнее время появилось очень много молодежных групп, играющих не электрогитарах. Появляется необходимость использовать микшерные пульты, главная задача которых, отрегулировать параметры звуковой обработки каждого инструмента, смешать все сигналы и подать их на выход. С выхода сигнал может идти на усилитель, наушники, или при звукозаписи, компьютер. Микшерный пульт необходимо сделать не сильно большой, с малой стоимостью, чтоб его могли себе позволить музыканты не высокого класса. Данный пульт можно использовать на репетиционных точках, можно обеспечивать сведение звука на небольших концертах. А также при студийной звукозаписи, пульт может помочь отрегулировать звук так как этого хочет музыкант. Так же в основном для записи в микшерном пульте можно сделать компрессор и шумоподавитель. Например, когда певец поет песню, невозможно, чтобы уровень сигнала был один и тот же. Музыкант при пении может двигаться относительно микрофона и сигнал будет не одинаковый по амплитуде. Иногда могут быть провалы, а иногда перегрузки. При сведении такой записи могут возникнуть трудности. Компрессор же выравнивает звук, он становится одной громкости, более четкий и наполненный. Единственный минус, что не передается динамика, и уже при сведении нужно будет делать голос в некоторых местах громче или тише. Эффект шумоподавителя заключается в том, что когда с инструментов звук не поступает, а остаются только небольшие шумы, то выход выключается. Когда сигнал появляется, который больше некоторого значения, выход включается и на фоне сигнала шум уже почти не слышен.
1. Технические требования
-
Анализ технического задания
7-ми входной стерео микшер, 3 стерео входа, 4 моно входа, 5-ти полосный эквалайзер по частотам 100 Гц, 400 Гц, 1 кГц, 4 кГц, 10 кГц, регулировка громкости и баланса каждого входа, Эффекты компрессора и шумоподавителя по выходу, напряжение питания 9…12 В.
Из-за того, что есть стерео входы, лучше применить стерео схемы эквалайзеров, и применить 2 таких для 4-х моно входов.
Так как устройство нужно спроектировать максимально меньшим, используем современную элементную базу. Можно использовать микросхему CXA 1352, в которой сделано стерео эквалайзер на 5 полос с регулировкой громкости и баланса. Так как в этой микросхеме регулирование ведется с помощью подачи напряжения от 0 до напряжения питания на выводы микросхемы. Поэтому сигнал не проходит через резисторы регулированию, а только через микросхему, и шумы наводок будут минимальными.
В этой микросхеме кроме активного эквалайзера на 5 полос регулировки от –14 дБ до 14 дБ, еще есть усилитель на 14 дБ, поэтому эту же схему можно использовать в качестве последнего каскада усиления для сложения сигналов.
Из-за использования этой микросхемы, вся схема микшерного пульта без эффектов и индикаторов состоит из 6-ти почти одинаковых схем.
Для эффектов компрессора и шумоподавителя можно использовать микросхему SSM 2166, в которой есть эти эффекты и есть возможность настраивать их индивидуально для себя.
Так как эффекты необходимо применить к выходам, то таких схем нужно 2: на левый в правый каналы.
Для наблюдения за уровнем сигнала можно использовать схему стерео индикатора на микросхеме КА2281, к которой подключается 5 светодиодов на канал, и таким образом ведется наблюдение и регулирование сигнала, чтоб не допустить перегрузки
Микросхема CXA 1352 питается от напряжения 5…12В, SSM 2166 – 5…12В, КА 2281 – 9…12В. Поэтому для питания всей схемы в целом нужно напряжение 9…12 В. И можно будет использовать для питания любой покупной блок питания с таким напряжением.
Для максимальной минимизации, и сохранения ремонтопригодности, устройство делаем с 4-мя печатными платами: входы и выходы на 1352, 2 компрессора на 2166 и индикатор, в котором еще будет индикатор включения питания, еще для монтажа элементов индикации и кнопок включения входов используем еще одну печатную плату.
-
Технические требования к устройству
Электрические требования:
– Количество стерео входов 3
– Количество моно входов 4
– Количество полос эквалайзера 5
– Диапазон рабочих частот 20 Гц … 20 кГц
– Диапазон рабочего напряжения питания + 9 – 12 В
– Сопротивление нагрузки, не менее 20 Ом
– Чувствительность 200 мкВ
– Максимальный потребляемый ток, не более 1А
Технологические требования в устройству:
-
Класс аппаратуры наземная
-
Тип аппаратуры бытовая стационарная
-
Габаритные размеры не более 300х250х50
-
Масса не более 500 г.
-
Рабочее положение горизонтальное
-
Вид монтажа комбинированный
-
Средняя наработка на отказ не менее 10 тыс. часов
-
Коэффициент заполнения ПП не ниже 0,4
-
Коэффициент использования материалов, не менее 0,7
-
Коэффициент заполнения объема устройства, не менее 0,2
-
Коэффициент автоматизации, не менее 0,8
-
Программа выпуска 1 000 шт.
-
Технологическая себестоимость, не более 400 грн.
-
Трудоемкость не более
-
Место установки изделия закрытое отапливаемое помещение
-
Условия эксплуатации:
диапазон рабочих температур +5ºС… +35ºС
атмосферное давление 84…104,5 кПа
влажность воздуха при температуре 35ºС 85%
2. Разработка схемы
-
Обзор существующих аналогичных схем и конструкций
Приведу аналогичные схемы эквалайзера, компрессора и шумоподавителя. Схема еквалайзера представлена на рисунке 2.1.
Рисунок 2.1
Достоинством этой схемы есть то, что можно регулировать 8 полос, что обеспечивает более точную настройку звучания.
Но недостатком есть сложность схемы и большие размеры, как видим каждый фильтр сделан отдельным блоком, и звук проходить большую дистанцию, могут быть больше шумы.
В моей схеме возможно все фильтры сделать в микросхеме и звук при обработке не будет выходить за её границы, и шумы будут минимальны.
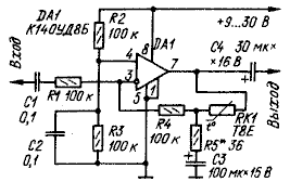
Схема компрессора представлена на рисунке 2.2
Рисунок 2.2
Достоинством схемы есть вытокая ремонтопригодность.
Недостатком схемы есть то, что компрессия включается из-за нагревания терморезистора, и перепады температуры будут сильно влиять на параметры компрессии. Еще во время эксплуатации параметры компрессии в этой схеме не регулируются.
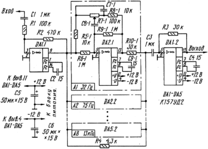
Схема шумоподавителя представлена на рисунке 2.3.
Рисунок 2.3
Достоинством схемы, как и у компрессора есть большая ремонтопригодность.
Недостатком есть большая сложность и большие габариты.
Представлю аналогичное устройство, микшерный пульт, предназначенный для индивидуального использования (рис 2.4).
В этом микшерном пульте есть 4 стерео входа с регулировкой чувствительности, и 2 входа без регулировки чувствительности, разделенных на 2 разъема (правый и левый). На каждом входе есть 3-х полосный эквалайзер, регулировка громкости, баланса. На выход можно задействовать один из 16-ти эффектов. Присутствует эквалайзер выходного сигнала.
Недостатком есть малое количество полос эквалайзера и отсутствие эквализации по выходу.
Достоинством есть большое количество эффектов, которыми можно улучшить или приукрасить выходной сигнал.
Рисунок 2.4.
2.2 Разработка схемы
Проанализировав техническое задание и проанализировав параметры аналогичных устройств, я решил сделать устройство наиболее технолологичным, миниатюрным и удобным в использовании.
Было решено взять для основных блоков современные схемы на импортных микросхемах, а которых устроены большие схемы и они полностью заменяют вышеупомянутые аналоги.
Было решено использовать 3 основных блока, это эквалайзер с продусилителем, индикатор и компрессор. Эти схемы были найдены на официальном сайте импортных микросхем, где представлены полные заводские описания, и схемы подключения.
В моей схеме кроме найденных схем используются некоторые дополнения и изменения, которые были сделаны в период разработки, и способствуют лучшей работе схемы при данном использовании.
-
Обзор и описание схемы электрической структурной
Схема электрическая структурная показана на рисунке 2.5.
Микшерный пульт состоит из 3-х стерео входов и 4-х моно входов.
Схема регулировки эквалайзера, баланса и громкости выполнена для стерео сигнала и состоит из 2-х одинаковых блоков.
1-й вход – стерео его сигнал поступает сначала на регулировку чувствительности, затем на блок регулировки эквалайзера, громкости и баланса. В этом же блоке выполняется усиление сигнала.
Затем сигналы «левого» и «правого» смешиваются в общий соответственно. Левый смешивается в левый канал, который поступает на окончательный блок регулировки, правый – соответственно на правый.
Рисунок 2.5
Для уменьшения влияния на блоки других входов, смешение осуществляется с помощью резисторов.
2-й и 3-й входа такие же самые.
4-й и 5-й входа – моно, но так же как и предыдущие, подаются на один блок регулировки, но отличием является то, что отсутствует регулировка чувствительности, и смешение сигналов происходит обоих входов в оба канала – правого и левого. Осуществляется с помощью 4-х резисторов.
В этом блоке роль баланса является регулировка громкости одного входа, относительно другого (в центральном положении громкость 4-го и 5-го входов будет одинакова, в правом положении громкость 4-го будет уменьшатся, в левом, громкость 5-го). Регулировка громкости будет действовать на 2 входа одновременно. Регулировка эквалайзера осуществляется для 2-х входов одновременно.
Входа 6-й и 7-й осуществлены также как и 4-й и 5-й.
После смешения всех сигналов в 2 (правого и левого) они подаются со смесителя на в окончательный блок регулировок, где так же само можно отрегулировать окончательно совместно эквалайзер, громкость и баланс.
А также так как для смешения сигналов использовались резисторы, то сигнал уменьшился, и в этом блоке происходит усиление до нормального уровня.
После этого сигнал проходит на выход и уровень сигнала показывается на стерео индикаторе на 5 делений. Так же этот сигнал поступает на компрессор.
Компрессор сужает динамический диапазон сигнала, то есть усиливает слабые сигналы и ослабляет сильные. Это часто требуется на звукозаписи для получения качественного трека. При использовании такого эффекта не будет важно, чтобы например певец пел на одном расстоянии от микрофона, на громкости это почти не будет сказываться. Запись будет одного уровня.
Также этот блок осуществляет шумоподавление – он «отрезает» все сигналы, которое меньше определенного значения. Блок процессора выполнен на 2-х одинаковых схемах, для левого и правого канала.
У каждого компрессора регулируются 4 параметра:
– усиление, которое регулирует увеличение или уменьшения АЧХ по всему диапазону
– величина компрессии, регулируется угол компрессии относительно без компрессии (45 град).
– крутизна ограничения, регулируется угол ограничения. После определенного уровня сигнала, уровень дальше будет усиливаться намного меньше, что не повлечет на следующих каскадах перегрузку
– регулировка порога чувствительности, регулируется уровень сигнала, при котором выключается шумоподавление.
После компрессора сигнал проходит на выход «выход компрессора».
На входе каждого каскада регулировки эквалайзера, громкости и баланса стоит схема индикации перегрузки.
Так как на одну такую схему идет 2 канала, будь то правый и левый или отдельные входа, для экономии и практичности сделан один индикатор на 2 канала, они подключаются через диод. При превышении порогового значения на одном из 2-х входов, или на обоих, открывается транзистор, и загорается светодиод. Таких схем присутствует 6: для 1,2,3 стерео входов, для 4,5 и 6,7 моно сходов по одному, и для выходного каскада.
Характеристики
Тип файла документ
Документы такого типа открываются такими программами, как Microsoft Office Word на компьютерах Windows, Apple Pages на компьютерах Mac, Open Office - бесплатная альтернатива на различных платформах, в том числе Linux. Наиболее простым и современным решением будут Google документы, так как открываются онлайн без скачивания прямо в браузере на любой платформе. Существуют российские качественные аналоги, например от Яндекса.
Будьте внимательны на мобильных устройствах, так как там используются упрощённый функционал даже в официальном приложении от Microsoft, поэтому для просмотра скачивайте PDF-версию. А если нужно редактировать файл, то используйте оригинальный файл.
Файлы такого типа обычно разбиты на страницы, а текст может быть форматированным (жирный, курсив, выбор шрифта, таблицы и т.п.), а также в него можно добавлять изображения. Формат идеально подходит для рефератов, докладов и РПЗ курсовых проектов, которые необходимо распечатать. Кстати перед печатью также сохраняйте файл в PDF, так как принтер может начудить со шрифтами.















