62209 (588744), страница 5
Текст из файла (страница 5)
Соответствующие модули ПО решают задачи по подготовке и ведению базы данных по объектам, программированию ключей переноса данных для объектовых приборов, обеспечивают формирование отчетов по объектам и системе в целом.
Программируемая беспроводная сигнализация ABAX.
Система ABAX включает в себя беспроводные контроллеры, охранные датчики, оповещатели и другие устройства ОПС фирмы Satel, на базе которых строится система беспроводной сигнализация офиса, магазина или квартиры. Эта система позволяет расширить беспроводными устройствами любую проводную ОПС. Важной особенностью ABAX является наличие двусторонней радиосвязи между контроллером и устройством с шифрованием данных, что обеспечивает высокую степень защиты системы ОПС от взлома и саботажа.
ABAX моментально реагирует на тревожные события и передает тревогу на ПКП системы. При этом она обеспечивает работу системы сигнализации в энергосберегающем режиме и позволяет дистанционно конфигурировать беспроводные устройства при помощи русифицированного ПО. Работает ABAX в полосе частот 868,0…868,6 Гц с модуляцией FSK.
В качестве базового устройства сигнализации ABAX используется контроллер ACU-100 фирмы Satel, который может обслуживать одновременно до 48 охранных устройств, и работает совместно с любыми приемно-контрольными приборами (ПКП). ABAX организует двустороннюю связь между беспроводными устройствами, поэтому прием сообщений от датчиков сигнализации всегда подтверждается. В то же время ACU-100 проводит в режиме on-line опрос беспроводных датчиков сигнализации, определяя присутствие в системе каждого устройства.
Система мониторинга подвижных объектов "Алмаз".
Предназначена для защиты и мониторинга мобильных, а так же стационарных объектов с использованием технологии ГЛОНАСС/GPS/GSM. Отличительная особенность системы - наличие второго (резервного) канала связи, который организовывается на базе УКВ-связи или спутникового телефона.
Система мониторинга подвижных объектов "Алмаз" служит для организации централизованной охраны и мониторинга подвижных (стационарных) объектов на базе технологий GPS/GSM, а также повышения оперативности управления группами задержания подразделений вневедомственной охраны.
В соответствии с назначением в числе основных функций системы:
слежение за местоположением контролируемых подвижных объектов с использованием электронной карты местности;
контроль, диспетчеризация и охрана автотранспорта и других подвижных объектов;
контроль состояния датчиков объекта, подключенных к терминальным устройствам, и ситуаций на объектах;
фиксация внештатных ситуаций на контролируемых объектах;
управление исполнительными устройствами объектов при возникновении нештатных ситуаций;
документирование и архивирование информации, поступающей от объектов контроля и диспетчерского центра;
организация надежных каналов связи между диспетчерским центром и объектами контроля.
Принцип действия системы основан на комплексном использовании каналов системы сотовой связи стандарта GSM 900/DCS 1800 или радиоканалов УКВ в качестве средств обмена информацией между абонентами системы и диспетчерским центром (ДЦ), а также глобальной системы позиционирования GPS для получения информации (определения координат) о текущем местоположении подвижных абонентов системы. Информация от удаленных терминалов поступает в ДЦ для отображения, накопления и последующей обработки по каналам связи стандарта GSM 900/DCS 1 800 (с применением услуг SMS или GPRS) и УКВ радиоканалам.
Система "Алмаз" представляет собой совокупность сети терминальных устройств (ТУС), расположенных на подвижных и стационарных объектах, и диспетчерского центра мониторинга.
В состав терминальных устройств, устанавливаемых на борту автотранспортных средств ("Топаз-201"), входит приемник сигналов глобальной сети позиционирования. Используемая в системе "Алмаз" технология обработки и передачи сигналов позиционирования подвижных объектов позволяет из единого диспетчерского центра осуществлять мониторинг и управление объектами, отображать их местоположение на карте местности с точностью до 5 м.
Система "Алмаз" обеспечивает решение следующих задач:
контроль технологических параметров мобильных (стационарных) объектов и управление исполнительными устройствами этих объектов;
управление парком транспортных средств;
охрану, управление и контроль сетей торговых автоматов или банкоматов;
охрану объектов (жилых или служебных помещений, газопроводов, объектов энергосетей, автотранспорта и перевозимых грузов).
2. Построение систем безопасности, использующих gsm каналы
2.1 Построения gsm канала
Стандарт GSM был разработан Европейским институтом телекоммуникационных стандартов (ETSI) и признан наиболее надежным и массовым по использованию в средствах телекоммуникации и связи. По очень приблизительным подсчетам, число абонентов данного вида связи в Евразии составляет 100 млн.
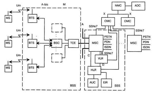
Функциональное построение и интерфейсы, принятые в стандарте GSM, иллюстрируются структурной схемой, на которой MSC (Mobile Switching Centre) - центр коммутации подвижной связи; BSS (Base Station System) - оборудование базовой станции (БС); ОМС (Operations and Maintenance Centre) - центр управления и обслуживания; MS (Mobile Stations) - подвижные станции (МС).
Рис.3. Функциональное построение и интерфейсы стандарта GSM
Функциональное сопряжение элементов системы осуществляется рядом интерфейсов. Все сетевые функциональные компоненты в стандарте GSM взаимодействуют в соответствии с системой сигнализации МСЭ-Т (ранее МККТТ) SS N 7 (CCITT SS. N 7)).
Центр коммутации подвижной связи обслуживает группу сот и обеспечивает все виды соединений, в которых нуждается в процессе работы МС. MSC аналогичен коммутационной станции ISDN и представляет собой интерфейс между фиксированными сетями (PSTN, PDN, ISDN и т.д.) и сетью подвижной связи. Он обеспечивает маршрутизацию вызовов и функции управления вызовами. Кроме выполнения функций обычной коммутационной станции ISDN, на MSC возлагаются функции коммутации радиоканалов. К ним относятся "эстафетная передача", в процессе которой достигается непрерывность связи при перемещении подвижной станции из соты в соту, и переключение рабочих каналов в соте при появлении помех или неисправностях.
Каждый MSC обеспечивает обслуживание подвижных абонентов, расположенных в пределах определенной географической зоны (например, Москва и область). MSC управляет процедурами установления вызова и маршрутизации. Для телефонной сети общего пользования (PSTN) MSC обеспечивает функции сигнализации по протоколу SS N 7, передачи вызова или другие виды интерфейсов в соответствии с требованиями конкретного проекта. MSC формирует данные, необходимые для выписки счетов за предоставленные сетью услуги связи, накапливает данные по состоявшимся разговорам и передает их в центр расчетов (биллинг-центр). MSC составляет также статистические данные, необходимые для контроля работы и оптимизации сети. MSC поддерживает также процедуры безопасности, применяемые для управления доступами к радиоканалам.
Практически HLR представляет собой справочную базу данных о постоянно прописанных в сети абонентах. В ней содержатся опознавательные номера и адреса, а также параметры подлинности абонентов, состав услуг связи, специальная информация о маршрутизации. Ведется регистрация данных о роуминге (блуждании) абонента, включая данные о временном идентификационном номере подвижного абонента (TMSI) и соответствующем VLR. К данным, содержащимся в HLR, имеют дистанционный доступ все MSC и VLR сети и, если в сети имеются несколько HLR, в базе данных содержится только одна запись об абоненте, поэтому каждый HLR представляет собой определенную часть общей базы данных сети об абонентах. Доступ к базе данных об абонентах осуществляется по номеру IMSI или MSISDN (номеру подвижного абонента в сети ISDN). К базе данных могут получить доступ MSC или VLR, относящиеся к другим сетям, в рамках обеспечения межсетевого роуминга абонентов.
VLR содержит такие же данные, как и HLR, однако эти данные содержатся в VLR только до тех пор, пока абонент находится в зоне, контролируемой VLR. В сети подвижной связи GSM соты группируются в географические зоны (LA), которым присваивается свой идентификационный номер (LAC). Каждый VLR содержит данные об абонентах нескольких LA. Когда подвижный абонент перемещается из одной LA в другую, данные о его местоположении автоматически обновляются в VLR. Если старая и новая LA находятся под управлением различных VLR, то данные на старом VLR стираются после их копирования в новый VLR. Текущий адрес VLR абонента, содержащийся в HLR, также обновляется.
EIR - регистр идентификации оборудования, содержит централизованную базу данных для подтверждения подлинности международного идентификационного номера оборудования подвижной станции (IМЕI). Эта база данных относится исключительно к оборудованию подвижной станции. База данных EIR состоит из списков номеров IМЕI, организованных следующим образом: БЕЛЫЙ СПИСОК - содержит номера IМЕI, о которых есть сведения, что они закреплены за санкционированными подвижными станциями. ЧЕРНЫЙ СПИСОК - содержит номера IМЕI подвижных станций, которые украдены или которым отказано в обслуживании по другой причине. СЕРЫЙ СПИСОК - содержит номера IМЕI подвижных станций, у которых существуют проблемы, выявленные по данным программного обеспечения, что не является основанием для внесения в "черный список". К базе данных EIR получают дистанционный доступ MSC данной сети, а также MSC других подвижных сетей.
ОМС - центр эксплуатации и технического обслуживания, является центральным элементом сети GSM, который обеспечивает контроль и управление другими компонентами сети и контроль качества ее работы. ОМС соединяется с другими компонентами сети GSM по каналам пакетной передачи протокола Х.25. ОМС обеспечивает функции обработки аварийных сигналов, предназначенных для оповещения обслуживающего персонала, и регистрирует сведения об аварийных ситуациях в других компонентах сети. В зависимости от характера неисправности ОМС позволяет обеспечить ее устранение автоматически или при активном вмешательстве персонала. ОМС может обеспечить проверку состояния оборудования сети и прохождения вызова подвижной станции. ОМС позволяет производить управление нагрузкой в сети. Функция эффективного управления включает сбор статистических данных о нагрузке от компонентов сети GSM, записи их в дисковые файлы и вывод на дисплей для визуального анализа. ОМС обеспечивает управление изменениями программного обеспечения и базами данных о конфигурации элементов сети. Загрузка программного обеспечения в память может производиться из ОМС в другие элементы сети или из них в ОМС.
NMC - центр управления сетью, позволяет обеспечивать рациональное иерархическое управление сетью GSM. Он обеспечивает эксплуатацию и техническое обслуживание на уровне всей сети, поддерживаемой центрами ОМС, которые отвечают за управление региональными сетями. NMC обеспечивает управление графиком во всей сети и обеспечивает диспетчерское управление сетью при сложных аварийных ситуациях, как например, выход из строя или перегрузка узлов. Кроме того, он контролирует состояние устройств автоматического управления, задействованных в оборудовании сети, и отражает на дисплее состояние сети для операторов NMC. Это позволяет операторам контролировать региональные проблемы и, при необходимости, оказывать помощь ОМС, ответственному за конкретный регион. Таким образом, персонал NMC знает состояние всей сети и может дать указание персоналу ОМС изменить стратегию решения региональной проблемы.
BSS - оборудование базовой станции, состоит из контроллера базовой станции (BSC) и приемопередающих базовых станций (BTS). Контроллер базовой станции может управлять несколькими приемо-передающими блоками. BSS управляет распределением радиоканалов, контролирует соединения, регулирует их очередность, обеспечивает режим работы с прыгающей частотой, модуляцию и демодуляцию сигналов, кодирование и декодирование сообщений, кодирование речи, адаптацию скорости передачи для речи, данных и вызова, определяет очередность передачи сообщений персонального вызова.
2.2 Принцип шифрования gsm канала
Использование пароля (или кода PIN - персонального идентификационного цифрового кода) - один из простых методов аутентификации. Он дает очень низкий уровень защиты в условиях использования радиосвязи. Достаточно услышать этот персональный код всего лишь один раз, чтобы обойти средства защиты. В действительности GSM использует PIN-КОД в сочетании с SIM (Subscriber Identify Module): данный PIN-КОД проверяется на месте самим SIM без передачи в эфир.
Рис.4. Вычисление аутентификации















