25291 (586585), страница 14
Текст из файла (страница 14)
опоры
1
3
2
4
1 – колонна штанг; 2 – насос; 3 – опора насоса; 4 – хвостовик
Рисунок 24 – Схема безтрубной эксплуатации скважины
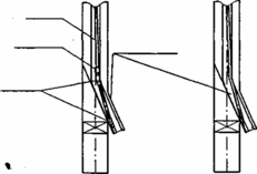
2
1
3
4
1 – боковой ствол; 2 – колонна штанг; 3 – центратор; 4 – шарнир
Рисунок 25 – Схема работы штанговой колонны при входе в БС с шарниром и без шарнира
4. Экономическая эффективность проекта
4.1 Технико-экономическая и организационная характеристика ООО НГДУ «Туймазанефть»
Под организационной структурой нефтегазодобывающего управления ООО НГДУ «Туймазанефть» понимается совокупность органов управления, а также системы их взаимосвязи и взаимодействия. Формирование отдельных органов и аппарата в целом предполагает наличие определенных функций, объемов управленческих работ и особенностей объектов управления. Организационная структура ООО НГДУ «Туймазанефть» представлена на рисунке 26.
Руководство ООО НГДУ «Туймазанефть» осуществляется директором НГДУ, отвечающем за результаты производственно-хозяйственной деятельности. У руководителя предприятия имеются заместители: главный геолог, главный инженер, заместитель директора по экономическим вопросам, заместитель директора по общим и социальным вопросам, заместитель директора по производству, главный бухгалтер, главный юрист, заместитель директора по капитальному строительству.
Экономические службы возглавляет главный экономист, который руководит работами по анализу и планированию производственно-хозяйственной деятельности. Ему подчинены отделы: отдел организации труда и заработной платы, планово-экономический отдел, группа по регистрации объектов недвижимости. Главный инженер руководит всеми производственными подразделениями, ему подчиняются заместитель главного инженера по технике безопасности, главный технолог, производственный и технический отделы, главный механик, главный энергетик.
Для организации и управления работ по капитальному строительству предусматривается заместитель директора по капитальному строительству, которому подчинены строительно-монтажное управление (СМУ), отдел капитального строительства (ОКС). Вопросы материально-технического снабжения и сбыта решает заместитель директора по общим и социальным вопросам, который также контролирует работу социальных учреждений.
Главный геолог и подчиненные ему отделы занимаются такими проблемами, как выбор и обеспечение главных направлений геолого-поисковых и разведочных работ, геологический контроль в процессе бурения и опробования скважин, оценка нефтегазоносности разбуриваемых площадей, обеспечение заданий по приросту запасов нефти.
Вспомогательные цеха, такие как цех подземного и капитального ремонта скважин (ЦПРС и ЦКРС), прокатно-ремонтный цех эксплуатационного оборудования (ПРЦЭО), прокатно-ремонтный цеx электрооборудования и электроснабжения (ПРЦЭиЭ), цех автоматизации производства (ЦАП), цех антикоррозийных покрытий, подчиняются директору НГДУ.
Каждое предприятие само формирует организационную структуру управления, которая утверждается руководителем предприятия.
Предметом и основной целью НГДУ «Туймазанефть» является добыча и подготовка нефти и газа, разработка и обустройство нефтяных месторождений.
В соответствии с предметом и целью своей деятельности НГДУ «Туймазанефть» осуществляет следующее:
– планирует свою деятельность, руководствуясь при этом заказами, нормативами, а также заключенными хозяйственными договорами;
– обеспечивает выполнение плана по добыче нефти и газа, внедрение в производство передовой техники, прогрессивных материалов, высокоэффективных ресурсосберегающих и безотходных технологий;
– обеспечивает сбор, подготовку, транспорт нефти и газа;
– производит водозабор, подготовку, транспорт воды, закачку в пласт рабочих агентов (вода, поверхностно-активные вещества и др.);
– осуществляет эксплуатацию, текущий и капитальный ремонт инженерных сетей, линий электропередач, электроподстанций, электрооборудования, систем автоматики и телемеханики, дорог;
– осуществляет эксплуатацию нефтегазодобывающих производств и объектов, разрабатывающих нефтяные месторождения;
– определяет потребность НГДУ в материальных ресурсах и приобретает их по договорам, обеспечивает их надежное хранение и рациональное использование;
– разрабатывает и выполняет мероприятия по охране природы и окружающей среды.
Для оценки деятельности предприятия используют систему наиболее важных технико-экономических показателей. Эта система должна наиболее полно и объективно оценивать результаты деятельности НГДУ. Основные показатели деятельности предприятия приведены в таблице 32.
ООО НГДУ «Туймазанефть» ведет разработку 12 нефтяных месторождений, девять из которых с поддержанием пластового давления. В настоящий момент ввиду того, что большинство месторождений вошло в позднюю или заключительную стадии разработки, на нефтяных промыслах НГДУ «Туймазанефть» требуется проведение различных мероприятий по широкому внедрению методов увеличения нефтеотдачи пластов, экономии материальных и топливно-энергетических ресурсов и снижению эксплуатационных расходов.
Средняя обводненность продукции скважин по НГДУ на текущий момент составляет 86,08% причем обводненность основного месторождения – Туймазинского – составляет 90,11%.
Ввиду значительного сокращения объема добычи нефти со скважин Туймазинского нефтяного месторождения, при сохранении объема добычи жидкости, возрастает доля затрат на добычу, сбор, подготовку и утилизацию пластовой волы.
Таблица 32. Основные технико-экономические показатели по ООО НГДУ «Туймазанефть»
| Показатель | Годы | ||
| 2001 | 2002 | 2003 | |
| 1 Добыча нефти, тыс. т | 906,0 | 918,8 | 914,1 |
| 2 Сдача нефти, тыс. т | 899,4 | 914,0 | 907,7 |
| 3 Добыча газа, тыс. м3 | 22480 | 23575 | 23930 |
| 4 Добыча жидкости, тыс. т | 7909,3 | 7197,4 | 6565,2 |
| 5 Закачка воды, тыс. м3 | 7198,6 | 6788,4 | 6410,2 |
| 6 Ввод новых нефтяных скважин, скв | 12 | 18 | 13 |
| 7 Ввод нефтяных скважин из бездействия, скв | 93 | 34 | 10 |
| 8 Коэффициент эксплуатации действующего фонда скважин | 0,951 | 0,962 | 0,967 |
| 9 Товарная продукция, тыс. руб. | 1195769 | 1337602 | 1102744 |
| 10 Валовая продукция, тыс. руб. | 1275459 | 1414862 | 1106390 |
| 11 Численность работников всего, чел. | 3277 | 2974 | 2821 |
| в том числе финансируемая от реализации нефти | 2927 | 2786 | 2635 |
| 12 Производительность труда, руб./чел. | 494747 | 569500 | 492198 |
| 13 Удельная численность на 1 среднедействующую скважину, чел./скв | 2,086 | 1,919 | 2,007 |
| 14 Среднемесячная зарплата всего, руб. | 7960 | 9137 | 10328 |
| в том числе финансируемая от реализации нефти | 7225 | 9123 | 10286 |
4.2 Анализ себестоимости добычи нефти в ООО НГДУ «Туймазанефть»
Себестоимость продукции отражает величину текущих затрат имеющих производственный некапитальный характер, обеспечивающих процесс простого воспроизводства на предприятии. Она представляет собой стоимостную оценку используемых в процессе производства природных ресурсов, сырья, материалов, топлива, энергии, основных фондов, трудовых ресурсов и других затрат на производство и реализацию продукции.
В таблице 33 представлена себестоимость добычи нефти НГДУ «Туймазанефть» за 2003 год.
Таблица 33. Себестоимость добычи нефти НГДУ «Туймазанефть» за 2003 год
| Статья затрат | Всего затрат, тыс. руб. | Затраты на одну тонну нефти, руб. | В том числе | |
| Условно-постоянные расходы, руб. | Условно-переменные расходы, руб. | |||
| 1 Расходы на энергию, затраченную на извлечение нефти | 66985 | 73,28 | 39,57 | 33,71 |
| 2 Расходы по искусственному воздействию на пласт | 125177 | 136,94 | 34,24 | 102,70 |
| 3 Основная зарплата производственных рабочих | 18575 | 20,32 | 20,32 | - |
| 4 Отчисления на социальные нужды | 6545 | 7,16 | 7,16 | - |
| 5 Амортизация скважин | 21829 | 23,88 | 23,88 | - |
| 6 Расходы по сбору и транспортировке нефти | 84728 | 92,69 | 52,37 | 40,32 |
| 7 Расходы по технологической подготовке нефти | 32597 | 35,66 | 24,75 | 10,91 |
| 8 Расходы на содержание и эксплуатацию оборудования | 573899 | 627,83 | 627,83 | - |
| 9 Цеховые расходы | 18657 | 20,41 | 20,41 | - |
| 10 Общепроизводственные расходы | 135022 | 147,71 | 147,71 | - |
| 11 Прочие производственные расходы | 22340 | 24,44 | 1,01 | 23,43 |
| – на содержание дорог | 841 | 0,92 | - | 0,92 |
| – плата за землю | 20549 | 22,48 | - | 22,48 |
| – плата за выброс вредных веществ | 27 | 0,03 | - | 0,03 |
| – плата за воду | 923 | 1,01 | 1,01 | - |
| Производственная себестоимость: | ||||
| – валовой продукции | 1106354 | 1210,32 | 999,25 | 211,07 |
| – товарной продукции | 1098643 | 1210,36 | - | - |
Цена реализации нефти НГДУ в 2003 году составляла 1725 руб./т, действующий фонд скважин на 01.01.2004 года – 1341 скважина.
Валовая продукция НГДУ за 2003 год составила 914,1 тыс. т нефти, товарная продукция – 907,7 тыс. т нефти. Доли условно-постоянных и условно-переменных расходов в себестоимости нефти составили 82,6% и 17,4% соответственно.















