20622 (586448), страница 3
Текст из файла (страница 3)
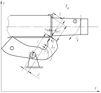
7.5. ДВИЖЕНИЕ ОТРАЖАТЕЛЯ
При движении затвора в крайнее заднее положение он воздействует на отражатель с силой, перпендикулярной наклонной поверхности отражателя
, в результате которой возникает сила трения
. Под действием этих сил отражатель поворачивается против часовой стрелки. Со стороны направляющих на затвор действует сила
(равнодействующая всех сил по поверхности направляющих), в результате которой возникает сила трения
. На затвор отражатель действует с силами, равными соответственно
и
, направленными в противоположную сторону.
Рисунок 7.5. Поворот отражателя.
Для затвора:
(7.5.1)
(7.5.2)
Из уравнения (7.5.2) определяем
:
(7.5.3)
Подставляем полученное выражение (7.5.3) в уравнение (7.5.1):
(7.5.4)
Для отражателя:
(7.5.5)
Определяем из уравнения (7.5.5)
:
(7.5.6)
Поделив уравнения (7.5.6) на (7.5.3) получим:
(7.5.7)
Так как
, то
(7.5.8)
Зная выражение для коэффициента передачи сил, легко найти значение передаточного отношения. Коэффициент передачи сил равен передаточному отношению, если связи идеальны. Тогда при
. (7.5.9)
Для нашего механизма при
(7.5.10)
Учитывая, что
определяем коэффициент приведения масс:
(7.5.11
7.6. ДВИЖЕНИЕ АВТОСПУСКА В ОТКАТЕ
При движении затвора в крайнее заднее положение он воздействует на автоспуск с силой, перпендикулярной наклонной поверхности отражателя
, в результате которой возникает сила трения
. Под действием этих сил автоспуск поворачивается по часовой стрелки. Со стороны направляющих на затвор действует сила
(равнодействующая всех сил по поверхности направляющих), в результате которой возникает сила трения
. На затвор автоспуск действует с силами, равными соответственно
и
, направленными в противоположную сторону.
Рисунок 7.6. Поворот автоспуска.
Для затвора:
(7.6.1)
(7.6.2)
Из уравнения (7.6.2) определяем
:
(7.6.3)
Подставляем полученное выражение (7.6.3) в уравнение (7.6.1):
(7.6.4)
Для автоспуска:
(7.6.5)
Определяем из уравнения (7.6.5)
:
(7.6.6)
Поделив уравнения (7.6.6) на (7.6.3) получим:
(7.6.7)
Так как
, то
(7.6.8)
Зная выражение для коэффициента передачи сил, легко найти значение передаточного отношения. Коэффициент передачи сил равен передаточному отношению, если связи идеальны. Тогда при
. (7.6.9)
Для нашего механизма при
(7.6.10)
Учитывая, что
определяем коэффициент приведения масс:
(7.6.11)
7.7. ДВИЖЕНИЕ УПОРА В ОТКАТЕ
При движении затвора в крайнее заднее положение он воздействует на упора с силой, перпендикулярной наклонной поверхности отражателя
, в результате которой возникает сила трения
. Под действием этих сил упор поворачивается против часовой стрелки. Со стороны направляющих на затвор действует сила
(равнодействующая всех сил по поверхности направляющих), в результате которой возникает сила трения
. На затвор упор действует с силами, равными соответственно
и
, направленными в противоположную сторону.
Рисунок 7.7. Поворот упора.
Для затвора:
(7.7.1)
(7.7.2)
Из уравнения (7.7.2) определяем
:
(7.7.3)
Подставляем полученное выражение (7.7.3) в уравнение (7.7.1):
(7.7.4)
Для упора:
(7.7.5)
Определяем из уравнения (7.7.5)
:
(7.7.6)
Поделив уравнения (7.7.6) на (7.7.3) получим:
(7.7.7)
Так как
, то
(7.7.8)
Зная выражение для коэффициента передачи сил, легко найти значение передаточного отношения. Коэффициент передачи сил равен передаточному отношению, если связи идеальны. Тогда при
. (7.7.9)
Для нашего механизма при
(7.7.10)
Учитывая, что
определяем коэффициент приведения масс:
(7.7.11)
7.8. ОТРАЖЕНИЕ ГИЛЬЗЫ
При движении затвора в крайнее заднее положение отражатель воздействует на гильзу с силой, перпендикулярной наклонной поверхности отражателя
, в результате которой возникает сила трения
. Под действием этих сил гильза поворачивается против часовой стрелки. На отражатель гильза действует с силами, равными соответственно
и
, направленными в противоположную сторону.
Рисунок 7.8. Отражение гильзы.
Приложим к основному звену силу
, и к гильзе -
и запишем следующие зависимости:
Для отражателя:
(7.8.1)
Для гильзы:
(7.8.2)
Из выражения (7.8.1) определяем
:
(7.8.3)
Из выражения (7.8.2) определяем
:
(7.8.4)
Поделив выражение (7.8.3) на (7.8.4) получаем:
(7.8.5)
Так как
, то
(7.8.6)
Зная выражение для коэффициента передачи сил, легко найти значение передаточного отношения. Коэффициент передачи сил равен передаточному отношению, если связи идеальны. Тогда при
. (7.8.7)
Для нашего механизма при
(7.8.8)
Учитывая, что
определяем коэффициент приведения масс:
(7.8.9)
7.9. ДОСЫЛАНИЕ ПАТРОНА
При движении подвижных частей в накате происходит досылание патрона в патронник. Затвор нижней поверхностью выдавливает патрон из зацепов магазина при этом в месте контакта возникают силы
и
. При движении затвора по направляющим возникают силы
и
. При досылании патрона возникает силы реакции
и
. При движении патрона по направляющим возникают силы
и
.
Рисунок 7.9. Досылание патрона.
Приложим к основному звену силу
, и к патрону -
и запишем следующие зависимости:
Для затвора:
(7.9.1)
N2 = fN1 (7.9.2)
Для патрона:
(7.9.3)
(7.9.4
(7.9.5)
Так как
, то
(7.9.6)
(7.9.7)
Зная выражение для коэффициента передачи сил, легко найти значение передаточного отношения. Коэффициент передачи сил равен передаточному отношению, если связи идеальны. Тогда при
. (7.9.8)
Для нашего механизма при
;
(7.9.9)
(7.9.10)
(7.9.11)
7.10. РЕЗУЛЬТАТЫ РАСЧЕТОВ ПО ПОЛУЧЕННЫМ ФОРМУЛАМ
| Процесс | Параметры | Расчет | |||
| Отпирание |
|
| |||
| Взведение ударника |
|
| |||
| Взведение задержки ударника |
|
| |||
| Процесс запирания |
|
| |||
| Движение отражателя |
|
| |||
| Движение автоспуска |
|
| |||
| Движение упора |
|
| |||
| Отражение гильзы |
|
| |||
| Процесс | Параметры | Расчет | |||
| Досылание патрона |
|
| |||
8. ОПРЕДЕЛЕНИЕ ПОЛНОГО ИМПУЛЬСА, МАКСИМАЛЬНОГО ДАВЛЕНИЯ И ВРЕМЕНИ РАБОТЫ БОКОВОГО ГАЗООТВОДНОГО УСТРОЙСТВА
Исходные данные
1. Площадь наименьшего сечения газопровода
………………...0,1963
10-4 м2
2. Площадь поршня
……………………………………………….0,6362
10-4м2
3. Площадь зазора между поршнем и стенками
газовой камеры
……………………………………………...0,00625
10-4м2
4. Начальный объем газовой каморы
…………………………. 0,26
10-6м3
5. Масса поршня и движущихся совместно
с ним частей автоматики
……………………………………………..0,515 кг
6. Масса заряда
……………………………………………………0,0031 кг
7. Масса пули
…………………………..…………………………….…0,0096 кг
8. Среднее давление пороховых газов
в канале ствола в начале отвода газов
…………………..……..904
105 Па
9. Среднее давление пороховых газов
в канале ствола в дульный момент
……………….…………….890
105 Па
10. Время движения пули от начала отвода газов
до дульного момента
………………………………………….…..0,00019 с
11. Объем заснарядного пространства в дульный момент
...…26,084
10-6 м3
12. Показатель политропы
………………………………………………….1,524
13. Отношение теплоемкости k………………………………………………….1,3
14. Путь пули до газоотводного отверстия
……………………...36,8 см
15. Полный путь пули в канале ствола
……………………………..…….57,2 см
16. Площадь поперечного сечения канала ствола
……………...…0,467
10-4 м2
17. Объем зарядной каморы
………………………………………3,8
10-6 м3
8.1. Определяем значения относительных параметров бокового газоотводного устройства по зависимостям:
;
;
;
.
8.2. По таблицам определяем значения поправочных коэффициентов:
;
;
;
.
8.3. Определяем относительный удельный импульс газоотводного двигателя по зависимости:
8.4. Определяем подведенный удельный импульс, для чего необходимо предварительно вычислить следующие величины:
;
;
;















