20622 (586448), страница 2
Текст из файла (страница 2)
5.3. Закрывание канала ствола.
Закрывание канала ствола производится затвором, жёстко опирающимся на ствольную коробку.
5. 4. Запирание затвора.
Запирание затвора осуществляется клином. При движении затворной рамы 1 вперед, она передним скосом воздействует на скос клина 2 и заставляет его подняться. Нижней частью клин попадает в паз затвора 3 – происходит запирание.
5. 5. Отпирание затвора.
Клин опускается под воздействием на его скос скоса возвратной муфты – происходит отпирание.
5. 6. Ударный механизм.
Ударный механизм состоит из ударника 1 , задержки ударника 4, автоспуска 2, упора 3 и боевой пружины 6. Задержка ударника находится в зацеплении с ударником и препятствует его движению вперёд, как показано на рисунке:
При выстреле шептало действует на выступ задержки ударника и поворачивает его, освобождая ударник. В момент выстрела детали располагаются следующим образом:
5. 7. Спусковой механизм.
При нажатии на спусковой крючок 1 переводчик 2 через разобщитель 4 толкает тягу 3 вперёд. Спусковая тяга скосом «а» действует на скос шептала 5, а выступ «б» действует на выступ задержки ударника, заставляя её поворачиваться и происходит выстрел. На рис. представлен автоматический режим огня, в этом случае переводчик с разобщителем всё время находятся в зацеплении. При одиночном огне Переводчик проскальзывает по грани разобщителя и выходит из зацепления.
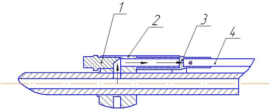
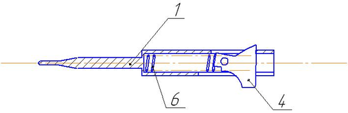
5.8. Двигатель автоматики.
Автоматика винтовки работает на принципе отвода части пороховых газов из ствола в газовую камору 2, в которой они воздействуют через поршень 3 и шток 4 на основное звено — взводную муфту, которая действует на затворную раму, вызывая ее откат.
Газовый регулятор 1 с пазом для прохода пороховых газов ввинчивается в газовую камору.
6. ЦИКЛОГРАММА ОБРАЗЦА
6.1. Ведомость отката-наката.
Ведомость наката:
Общий ход затворной рамы........................................................140мм
Начало отпирания…………........................………………………0мм
Конец отпирания………………………………………................17мм
Начало экстракции гильзы………............……………................17мм
Конец экстракции гильзы………........................……….……...130мм
Начало отражения гильзы………………………………………130мм
Конец отражения гильзы………………………….....….............132мм
Начало взведения ударника...…..……………………..................0мм
Конец взведения ударника………………………………………..17мм
Ведомость отката:
Начало досылания патрона…….……………………….............128мм
Конец досылания патрона…………………….………………….17мм
Начало запирания……………….………………………………..17мм
Конец запирания…………........…………………………………..0мм
6.2. Циклограмма.
7 ОПРЕДЕЛЕНИЕ ПЕРЕДАТОЧНЫХ ОТНОШЕНИЙ, КОЭФФИЦИЕНТОВ ПРИВЕДЕНИЯ МАСС И КОЭФФИЦИЕНТОВ ПЕРЕДАЧИ СИЛ
7.1. ПРОЦЕСС ОТПИРАНИЯ
При движении взводной муфты 1 (рисунок 7.1) под действием давления пороховых газов она воздействует на клин 2 с силой, перпендикулярной наклонной поверхности на клине
, в результате которой возникает сила трения
. Под действием этих сил клин прижимается к левым направляющим в ствольной коробке. Со стороны этих направляющих на клин действует сила
(равнодействующая всех сил по поверхности направляющих), в результате которой возникает сила трения
. Клин на взводную муфту действует с силами, равными соответственно
и
, направленными в противоположную сторону. Взводная муфта, двигаясь по ствольной коробке, воздействует на неё с силами
и
.
Приложим к основному звену потерянную силу
, и к клину -
и запишем следующие зависимости, проектируя силы на направление движения основного звена 1:
Для клина:
(7.1.1)
(7.1.2)
Определим из уравнения (7.1.1)
:
(7.1.3)
Подставляет
в уравнение (7.1.2) и определяем
:
(7.1.4)
Для взводной муфты:
(7.1.5)
(7.1.6)
Из уравнения (7.1.5) определяем
:
(7.1.7)
Подставляет
в уравнение (7.1.2) и определяем
:
(7.1.8)
Поделив уравнения (7.1.8) на (7.1.4) получим
Так как
,
То
Зная выражение для коэффициента передачи сил, легко найти значение передаточного отношения.
Коэффициент передачи сил равен передаточному отношению, если связи идеальны. Тогда при
. (7.1.9)
Для нашего механизма при
(7.1.10)
Учитывая, что
определяем коэффициент приведения масс:
7.2. ВЗВЕДЕНИЕ УДАРНИКА
При движении затворной рамы 1 (рисунок 7.2) в крайнее заднее положение она воздействует на ударник 5 взводя его при этом в месте контакта возникают сила
и сила трения
. При движении затворной рамы по внутренней поверхности затвора возникают сила
и сила трения
, а при взведении ударника возникает сила
и сила трения
. Ударник на затворную раму действует с силами, равными соответственно
и
, направленными в противоположную сторону.
Приложим к основному звену потерянную силу
, и к ударнику -
и запишем следующие зависимости, проектируя силы на направление движения основного звена 1:
Для ударника:
(7.2.1)
(7.2.2)
Рисунок 7.2. Взведение ударника.
Из уравнения (7.2.1) определяем
:
(7.2.3)
Для затворной рамы:
(7.2.4)
(7.2.5)
Из уравнения (7.2.4) определяем
:
(7.2.6)
Из уравнения (7.2.5) определяем
и подставляем в уравнение (7.2.6):
(7.2.7)
Поделив уравнения (7.2.7) на (7.2.3) получим:
(7.2.8)
Так как
,
то
(7.2.9)
Зная выражение для коэффициента передачи сил, легко найти значение передаточного отношения. Коэффициент передачи сил равен передаточному отношению, если связи идеальны. Тогда при
. (7.2.10)
Для нашего механизма при
(7.2.11)
Учитывая, что
определяем коэффициент приведения масс:
(7.2.12)
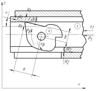
7.3. ВЗВЕДЕНИЕ ЗАДЕРЖКИ УДАРНИКА
При движении ударника 1 (рисунок 7.3) в крайнее заднее положение он воздействует на задержку ударника 8 взводя его при этом в месте контакта возникают сила
и сила трения
. При движении ударника по внутренней поверхности затвора возникают сила
и сила трения
.
Приложим к основному звену потерянную силу
, и к задержке ударника -
и запишем следующие зависимости, проектируя силы на оси
и
:
Рисунок 7.3. Взведение задержки.
Для ударника:
(7.3.1)
(7.3.2)
Из уравнения (7.3.2) определяем
:
(7.3.3)
Подставляем полученное выражение (7.3.3) в уравнение (7.3.1):
(7.3.4)
Для предохранителя ударника:
(7.3.5)
Определяем из уравнения (7.3.5)
:
(7.3.6)
Поделив уравнения (7.3.6) на (7.3.3) получим:
(7.3.7)
Так как
, то
(7.3.8)
Зная выражение для коэффициента передачи сил, легко найти значение передаточного отношения. Коэффициент передачи сил равен передаточному отношению, если связи идеальны. Тогда при
. (7.3.9)
Для нашего механизма при
(7.3.10)
Учитывая, что
определяем коэффициент приведения масс:
(7.3.11
7.4. ПРОЦЕСС ЗАПИРАНИЯ
При движении затвора в крайнее переднее положение он воздействует на клин с силой, перпендикулярной наклонной поверхности затвора
, в результате которой возникает сила трения
. Под действием этих сил клин прижимается к правым направляющим в ствольной коробки. Со стороны этих направляющих на клин действует сила
(равнодействующая всех сил по поверхности направляющих), в результате которой возникает сила трения
. На затвор клин действует с силами, равными соответственно
и
, направленными в противоположную сторону. Эти силы прижимают затвор к направляющим, что вызывает реакцию направляющих. Направляющие действуют на затвор с силами
и
.
Рисунок 7.4. Процесс запирания.
Приложим к основному звену потерянную силу
, и к клину -
и запишем следующие зависимости, проектируя силы на направление движения основного звена 1:
Для затвора:
(7.4.1)
(7.4.2)
Для клина:
(7.4.3)
(7.4.4)
Определим из уравнения (7.4.2)
и подставим в уравнение (7.4.1):
(7.4.4)
(7.4.5)
Преобразуем это выражение:
(7.4.6)
Аналогично из уравнения (7.4.4) определим
и подставим в уравнение (7.4.3). Преобразуя, находим:
(7.4.7)
Поделив уравнения (7.4.6) на (7.4.7) получим:
(7.4.8)
Так как
,
то
.
Зная выражение для коэффициента передачи сил, легко найти значение передаточного отношения. Коэффициент передачи сил равен передаточному отношению, если связи идеальны. Тогда при
. (7.4.9)
Для нашего механизма при
. (7.4.10)
Определяем коэффициент приведения масс:
(7.4.11)
















