168559 (582658)
Текст из файла
Розрахункова робота №2
Тема роботи: Аналіз імпеллерної флотаційної установки
Загальні відомості
Застосування імпеллерних установок доцільно при очищенні стічних вод з великою (до 2…3г/л) концентрацією нерозчинених забруднень і густиною приблизно 1000 кг/м3, які зустрічаються в потоках нафто-, жировмісних і ряду інших вод.
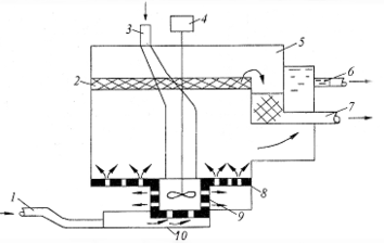
В імпеллерних установках утворення бульбашок повітря у водному середовищі здійснюється турбіною (імпеллером) діаметром di . Імпеллер розміщується в статорі, який представляє собою циліндр з верхньою і нижньою кришками. Вода підводиться по трубі до нижньої частини статора (рис.2), де всмоктується в нього через отвори із загальною площею So.
Рис.2. Схема імпеллерної однокамерної флотаційної установки: 1 – подача забрудненої води; 2 – піна; 3 – подача повітря; 4 – привід імпллера; 5 – пінозбірник; 6 – відвід очищеної води 7 – відвід піни; 8 – решітка; 9 – статор; 10 – приймальна кишеня
Повітря подається через верхню кришку. Після перемішування цих двох фаз імпеллером водоповітряна суміш виходить через отвори в стінках та верхній кришці і за допомогою направляючих решіток розподіляється по всій площі флотаційної камери. Напір, з яким вода входить в отвори статора, дорівнює висоті стовпчика водоповітряної суміші, що знаходиться у флотаційній камері.
Зона обслуговування одним імпеллером не повинна перевищувати розміри квадрата із стороною 6di . Глибина води у флотаційній камері hст , тривалість флотації τ, витрати стічної води, що надходять на очищення Q.
Вихідні дані для розрахунку установки:
Q=1,2 тис м3/год
hст=2,2 м
di=55 см
τ=14 хв
γвп=730 кг/м3
So=0,07 м2
Розв’язок
1. Розрахункова глибина флотаційної камери дорівнює
Нф=1,1 hстНф=1,1 2,2=2,42 (м)
2. Кількість води, що засмоктується турбіною, становить
, м3/с,
де μ – коефіцієнт витрати води (0,65);
So – загальна площа отворів, крізь які вода надходить до турбінки, м2;
g – прискорення вільного падіння, м2/с; (g=9,8)
Н - напір, під яким вода надходить у турбіну, м, який в свою чергу визначається за формулою:
Н=γвп·Нф·103,м,
де γвп- густина водно-повітряної суміші, кг/м3.
H=730·2.42·10-3=1.77 (м)
=0,268
3. Об'єм флотокамери становить
Vф=q·τ , м3,
де τ – час перебування води в камері, с
Vф=0,268·14 60=225,12 (м3)
4. Площа поверхні камери дорівнює
=93,02 (м2)
5. Площу поверхні, що обслуговується однією турбіною, визначають за формулою:
S1=36d2S1=36·0,552=10,89
6. Тоді число турбін становитиме
n=S/S1n=
=8,54=9
7. Об'єм повітря, що засмоктується турбіною за 1 секунду становить
W=Qn·S, м3/год,
W=40·93,02=3720,8 (м3/год)
де Qn – витрата повітря на одиницю площі S, яка зазвичай дорівнює 40...50 м3/м2год.
8. Необхідну кількість флотаційних камер знаходять за формулою:
Отриману розрахункову кількість камер округлюють до цілого числа.
Характеристики
Тип файла документ
Документы такого типа открываются такими программами, как Microsoft Office Word на компьютерах Windows, Apple Pages на компьютерах Mac, Open Office - бесплатная альтернатива на различных платформах, в том числе Linux. Наиболее простым и современным решением будут Google документы, так как открываются онлайн без скачивания прямо в браузере на любой платформе. Существуют российские качественные аналоги, например от Яндекса.
Будьте внимательны на мобильных устройствах, так как там используются упрощённый функционал даже в официальном приложении от Microsoft, поэтому для просмотра скачивайте PDF-версию. А если нужно редактировать файл, то используйте оригинальный файл.
Файлы такого типа обычно разбиты на страницы, а текст может быть форматированным (жирный, курсив, выбор шрифта, таблицы и т.п.), а также в него можно добавлять изображения. Формат идеально подходит для рефератов, докладов и РПЗ курсовых проектов, которые необходимо распечатать. Кстати перед печатью также сохраняйте файл в PDF, так как принтер может начудить со шрифтами.
















