165792 (582562), страница 3
Текст из файла (страница 3)
Для прочного покрытия требуется до 20 - 25 раз пройти кистью по одному и тому же месту поверхности. Электролит доливают в кисть по мере надобности.
После окончания покрытия деталь споласкивают водой и полируют смоченной в воде тряпкой, а затем промывают ещё раз и сушат.
Для каждого вида покрытия берётся строго определённый электролит, который составляется по приведённым ниже рецептам:
лава 2. ИЗВЛЕЧЕНИЕ НИКЕЛЯ ИЗ ПОЛИРОВАЛЬНЫХ ВАНН ДЛЯ НИКЕЛИРОВАНИЯПри нанесении декоративных хромовых покрытий на деталь для защиты от коррозии сначала наносят слой никеля. Для получения гладкой и блестящей поверхности, необходимой для хромирования, наносят еще один или несколько слоев никеля. Этот процесс проводят в так называемых полировальных ваннах, наполненных водным раствором никелевых солей, содержащих полирующие добавки - сераорганические соединения. После нанесения слоев никеля деталь промывают водой для удаления никелирующего раствора и проводят хромирование. В результате на полированный слой никеля наносится декоративный внешний слой хрома.
При проведении обычного процесса нанесения электропокрытий в ваннах с растворами никелевых солей, таких как хлорид и сульфат никеля, в реактор приходится периодически вводить дополнительные количества этих солей, особенно в полуполировальные ванны. Это связано с тем, что при переносе деталей из одной ванны в другую и на стадию промывки перед хромированием некоторое количество раствора уносится вместе с деталями и утекает. Эта часть никелевого раствора, а также раствор, остающийся в промывной воде в гальваностегии обычно не регенерируется. Эти растворы также не могут быть использованы в полуполировальных ваннах, потому что они содержат такое количество серы (из полирующих добавок), которое значительно снижает коррозионную устойчивость никелевого покрытия. Таким образом, промывные воды процессов гальваностегии удаляются в виде отходов, обычно после соответствующей предварительной обработки. Необходимость обработки сточных вод, а также возникающие потери никелевых солей приводят к увеличению стоимости процесса.
Процесс извлечения никеля был разработан Л.С. Райт мл., он позволяет извлекать никелировальный раствор из промывных воде целью повторного использования как в полуполировальных, так и в полировальных никелевых ваннах. Он позволяет упростить, а в ряде случаев и исключить обработку сточных вод, выводимых из системы. При этом также уменьшается количество полирующих добавок при никелировании и снижается количество электроэнергии, необходимое для нанесения покрытия. В результате процесс покрытия становится более экономичным и простым и обеспечивает более высокое качество наносимого хромового покрытия.
Процесс включает стадии добавления кислоты к промывным водам, пропускания получаемой смеси через угольный фильтр для удаления полирующих добавок и снижения содержания серы и возврата отфильтрованного раствора для повторного использования в полуполировальной и полировальной никелевых ваннах.
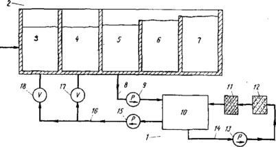
Схема процесса представлена на рис. 1. Процесс проводят в аппарате 1, связанном с отделением никелирования 2. В состав отделения никелирования входят полуполировальная ванна 3, полировальная ванна 4 и три промывных резервуара 5, 6 и 7; каждая деталь последовательно проходит через все эти резервуары. Аноды в ваннах 3 и 4 на схеме не показаны. Никелировальный раствор, уносимый из ванн 3 и 4 вместе с обрабатываемыми деталями, смывается водой в промывных резервуарах 5, 6 к 7.
При этом вода, стекающая из резервуара 7, попадает в резервуар 6, а вода из резервуара 6 стекает в резервуар 5. Аппарат 1 состоит из резервуара 10, в который насосом 9 по трубопроводу 8 подается часть водного промывного раствора из резервуара 5. В резервуар 10 добавляется кислота и полученная смесь пропускается через фильтр для улавливания твердых частиц 12 и угольный фильтр 11; циркуляция осуществляется по трубопроводу 14 с помощью насоса 13. Отфильтрованные кислые промывные воды подаются насосом 15 через трубопровод 16 с вентилями 17 и 18 обратно в никелировальные ванны 3 и 4.
Желательно, чтобы промывные воды из резервуара 5 подавались в резервуар 10 насосом 9 непрерывно или через определенные интервалы со скоростью равной скорости поступления в резервуар 5 никелевого раствора из ванн 3 и 4 и скорости подачи раствора из резервуара 6. В этом случае обеспечивается практически постоянный уровень промывной жидкости в резервуаре 5.
Желательно, чтобы отфильтрованные кислые промывные воды подавались из резервуара 10 в никелировальные ванны 3 и 4 насосом 15 через вентили 17 и 18 непрерывно или через определенные интервалы со скоростью равной скорости вывода никелировального раствора из ванн 3 и 4. В этом случае уровень жидкости в ваннах 3 и 4 будет оставаться практически постоянным, а химический состав и величина рН раствора будут практически одинаковыми в течение всего процесса.
Рис. 1 - Схема процесса выделения и повторного использования никелирующих растворов из полировальных ванн, уносимых с обрабатываемыми деталями
Для лучшего фильтрования смеси промывных вод и кислоты из резервуара 10 предпочтительно, чтобы смесь рециркулировалась насосом 13 через фильтры 11 и 12 со значительно большей скоростью, чем скорость удаления смеси из резервуара насосом. В результате этого смесь перед возвращением в ванны 3 и 4 может несколько раз пройти через фильтры 11 и 12.
В случае необходимости можно использовать устройство для автоматического поддержания постоянного значения рН в резервуаре 10 путем добавления небольших количеств кислоты. Фильтр 12 представляет собой бумажный фильтр или специальный патрон фирмы «Саммит Сайентифик оф Резерфорд, Ныо Джерси». Фильтр 17 выполнен из активированного угля; например может быть использован импрегниро-ванный фильтр из активированного угля «Карбо Клир» сечением 25 см, содержащий ~115 г угля. Этот фильтр также производится вышеупомянутой фирмой.
Ванны 3 и 4 заполняются обычными никелировальными растворами, содержащими 300-550 г/л хлорида и сульфата никеля и 30-40 г/л борной кислоты. Величина рН раствора должна составлять 2-5, предпочтительно 3-4. Процесс обычно проводят при температуре 21-82°С, предпочтительно при 55-65 °С. Для повышения коррозионной стойкости покрытия в растворе в полуполировальной ванне низкое содержание серы и обычно не содержится органических полирующих добавок.
В полировальной ванне в растворе содержатся различные полирующие добавки, являющиеся органическими веществами, по меньшей мере часть из которых содержит серу. В результате этого содержание серы здесь значительно выше, чем в полуполировальной ванне. Некоторые из полирующих добавок описаны в патенте США 3 288574 и в приведенных в нем ссылках. Кислый водный раствор в промывных резервуарах 5, 6 и 7 имеет величину рН = 1,5-5-2,5 и температуру 15-30 °С.
Промышленность выпускает готовые составы для никелировальных ванн, которые позволяют успешно проводить процесс. В процессе работы часть водной смеси выводится из промывного резервуара 5 насосом 9 с малой скоростью и подается в резервуар 10, где ее смешивают с соляной или серной кислотой в количествах, достаточных для поддержания величины рН смеси ~3,0, предпочтительно 2,0-2,5. Смесь из резервуара 10 циркулируется насосом 13 через фильтры 11 и 12, проходя через них несколько раз и возвращаясь в резервуар 10. На фильтре 12 происходит удаление твердых частиц, а на фильтре // абсорбция органических полирующих добавок. После фильтрования очищенный раствор может быть возвращен как в полуполировальную, так и в полировальную ванны 3 и 4. В случае необходимости в полуполировальную ванну 3 добавляют соли никеля, а в ванну 4 полирующие добавки.
Описанный способ позволяет наносить на металлические или пластмассовые изделия полуполированный слой никеля толщиной 0,012 мм и полированный слой никеля толщиной 0,075 мм. Процесс достаточно производителен. При площади покрытия на каждом изделии ~ 1,8 м2 за час обрабатывается ~ 100 изделий. Раствор в полуполировальной ванне содержит 240 г/л NiS04, 45 г/л NiCl2 и 53 г/л борной кислоты; рН = 3,2. Раствор в полировальной ванне содержит ~240 г/л NiS04, 75 г/л NiCla и 53 г/л борной кислоты; рН ~ 3,6. Температура никелировальных ванн составляет ~63 °С, а температура на первой стадии промывки ~27°С.
Потенциал, подаваемый на изделие в полуполировальной ванне составляет 7 В, плотность тока ~450 А/м2. В полировальной ванне также подается потенциал 7 В, а плотность тока составляет ~560 А/м2. Смесь из первого промывного резервуара непрерывно подается в резервуар 10 со скоростью ~750 л/ч, циркулирует через фильтры 12 л 11 с такой же скоростью и после фильтрования направляется в полуполировальную ванну Зсо скоростью ~280 л/ч и в полировальную ванну со скоростью ~115 л/ч. Вместимость резервуара 10 составляет ~11 500 л. В резервуар подается достаточное количество кислоты для поддержания величины рН = 1,5-^2,5, в среднем ~2,0.
Этот способ позволяет значительно снизить расходы на обработку в результате значительного снижения количества никельсодержащих отходов, используемых никелевых солей и полирующих добавок, а также затрат на обработку сточных вод. Данный способ делает экономически целесообразным увеличение концентрации никелевых солей в никелировальных растворах, что позволяет повысить качество никелирования, уменьшить количество полирующих добавок и снизить расход энергии при той же толщине никелевого покрытия.
В результате подачи смеси со станции фильтрования в никелировальные ванны маленькими порциями через небольшие промежутки времени в значительной степени устраняются колебания в химическом составе и величине рН никелировальных растворов, что делает процесс покрытия более надежным и повышает качество никелированных изделий.
ЛИТЕРАТУРА
-
Афанасьева Е.И., Скобелев В.М. "Источники света и пускорегулирующая аппаратура: Учебник для техникумов", 2-е изд., перераб., М.: Энергоатомиздат, 1986, 270 с.
-
Боленок В.Е. "Производство электроосветительных приборов: Учебник для техникумов", М.: Энергоиздат, 1981, 303 с.
-
Денисов В.П. "Производство электрических источников света", М: Энергия, 1975, 488 с.
-
Денисов В.П., Мельников Ю.Ф. "Технология и оборудование производства электрических источников света: Учебник для техникумов", М: Энергия, 1983, 384 с.
-
Пляскин П.В. и др. "Основы конструирования электрических источников света", М: Энергоатомиздат, 1983, 360 с.
-
Чуркина Н.И., Литюшкин В.В., Сивко А.П. "Основы технологии электрических источников света" / под общ. ред. Прыткова А.А., Саранск: Мордовское книжное издательство, 2003, 344 с.
















