165630 (582545), страница 3
Текст из файла (страница 3)
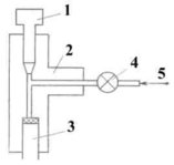
Рис. 1.8. Инжектор с остановкой потока растворителя:
Основной недостаток — наличие резиновой мембраны, которая набухает в растворителях, теряет герметичность при многих проколах, выделяет в поток растворителя ингредиенты, дающие ложные пики и повышающие фон и шумы детектора. Частицы мембраны, выкрашивающиеся при проколах, загрязняют входной фильтр колонки, создают эффект «памяти». Выбор для мембраны марки резины, наиболее устойчивой к данному растворителю, использование мембран многослойных с наружными слоями из фторполимеров или из металлической фольги позволяет уменьшить, но не исключить эти недостатки. Микрошприцы высокого давления также дороги, более трудно промываются и менее надежны, чем обычные. Этот тип инжектора также используют в основном для учебных целей. Наибольшее распространение имеют петлевые инжекторы (петлевые краны). Пробу вводят в петлю заданной вместимости при давлении, близком к атмосферному, с помощью микрошприца или шприца. Затем поворотом крана петля сообщается с линией подачи растворителя от насоса и входом колонки, проба вымывается из петли и попадает в колонку. Схема работы одного из петлевых инжекторов представлена на рис. 8.9. В положении «заполнение петли» поток растворителя от насоса идет непосредственно в колонку, а петля соединяется с линиями «сброс» и «ввод пробы» и находится при атмосферном давлении. В этом положении петля промывается чистым растворителем с помощью шприца вместимостью 2—5 мл от остатков предыдущей пробы, затем с помощью микрошприца в петлю вводится определенный объем пробы. Проба может вводиться либо с полным заполнением петли, либо с ее частичным заполнением. Первый способ является предпочтительным при количественном анализе и позволяет получить наиболее воспроизводимые результаты анализа. Он требует для полного заполнения петли подачи в нее объема пробы, в 5—6 раз превышающего вместимость петли. Это необходимо для полного вытеснения из петли растворителя пробой. Частичное заполнение петли удобнее, так как позволяет, не меняя петли вместимостью, например, 50 мкл, вводить пробы от 1 до 40 мкл. При этом объем пробы, попадающий в петлю, не должен превышать примерно 4/5 вместимости петли. Так как объем пробы, попадающий в петлю в этом случае, не точно равен тому, который подан микрошприцем (так как часть пробы остается в подводящих каналах от конца микрошприца до начала петли), то точность количественного анализа в этом случае будет ниже, чем при полном заполнении петли. Ясно представлять, что происходит при заполнении петли, очень важно для выбора наилучшего способа работы с инжектором того или иного типа. Почему при полном заполнении петли нужно вводить 4—5 объемов пробы? Почему при частичном заполнении нельзя вводить больше 80% от вместимости петли? Это связано с гидродинамикой заполнения петли и иллюстрируется рис. 8.10. Из схемы видно, что из-за трения у стенок петли остается исходный растворитель, а передний фронт приобретает форму «языка». Если при частичном заполнении петли подать объем, равный вместимости петли или близкий к нему, часть «языка» выйдет за пределы петли в слив и не попадет в колонку. Точно так же при полном заполнении петли, не вытеснив весь растворитель от стенок, невозможно получить воспроизводимых результатов анализа. В канале 3 остается часть пробы, которая не попадает в колонку при частичном заполнении петли. Ясно, что чем она меньше, тем лучше для работы. У инжекторов разной конструкции эта часть пробы может быть от нескольких десятых долей микролитра до 7 — 15 мкл.
Рис. 1.10. Схема размывания пробы при заполнении петли: 1 — игла микрошприца; 2—уплотнение иглы; 3 — канал с пробой, не попадающей в колонку; 4 — петля; 5 — «язык» фронта пробы
—j ЮЛ.
1 2 3 4 5
Петлевые инжекторы обычно могут работать при давлениях до 49—70 МПа, однако срок их службы значительно удлиняется, если прижим трущихся деталей уменьшается так, чтобы герметичность сохранялась до 35 МПа. Это разумно, так как очень редко работа проводится при давлениях выше 35 МПа. Если это все же нужно, то увеличить давление нажимных пружин можно очень быстро и просто за несколько минут.
Петлевые инжекторы делятся на имеющие внешнюю и внутреннюю петли. Внешние петли представляют собой обычно куски капилляра определенной вместимости, которые можно легко заменить. Внутренние петли представляют собой каналы определенной вместимости, выполненные в теле инжектора. Как правило, вместимость внутренних петель мала (0,06—10 мкл), и инжекторы такого типа предназначаются для микроколоночной ВЭЖХ. Смена такой внутренней петли—это, как правило, достаточно сложная разборка с заменой узла инжектора на новый, имеющий другой объем канала. Поэтому для упрощения работы иногда такие инжекторы снабжают несколькими внутренними петлями, которые по желанию могут находиться в рабочей или запасной позиции. Есть инжекторы, которые могут перестраиваться от варианта работы с внутренней петлей к работе с внешней петлей. Некоторые инжекторы снабжаются устройствами для фильтрования вводимых образцов. Существуют пневматические или электрические приводы к инжекторам, позволяющие вводить пробу по команде от микропроцессора.
Приобретая инжектор, всегда следует внимательно ознакомиться с особенностями его конструкции: какой мертвый объем до петли, какое сечение каналов, при какой температуре и давлении инжектор может работать, какие петли можно с ним использовать. Учитывая, что выходят из строя пластмассовые детали уплотнения, нужно их приобрести заранее, так же как и конусные муфты, накидные гайки и капилляры для изготовления разных петель.
Кроме ручных инжекторов, существуют многочисленные конструкции полностью автоматических инжекторов, которые в соответствии с заданной программой могут вводить от 20 до 100 и более образцов. Они обеспечивают выполнение всех циклов ввода пробы: промывку петли, заполнение, ввод пробы автоматически. При этом последовательность анализа образцов и число вводов одной и той же пробы могут быть заданы. Они довольно дороги, как правило, требуют линии сжатого воздуха для работы и высококвалифицированного обслуживания. Поэтому их применение оправдано только в тех случаях, когда необходимо анализировать большое количество идентичных проб.
Наконец, следует упомянуть об инжекторах-насосах, способных по команде подать на колонку пробу определенного объема и остановиться. Их применение полностью оправдано, когда нужно многократно подавать на препаративную колонку воспроизводимо и без размывания один и тот же образец. С использованием такого насоса, управляемого микропроцессором коллектора фракций, можно легко собрать автоматическую препаративную изократическую систему, стоящую очень недорого.
1.4 ДЕТЕКТОРЫ ДЛЯ ВЭЖХ
Детекторы для ВЭЖХ должны фиксировать изменение каких-либо свойств растворителя, выходящего из колонки, связанное с наличием в нем анализируемых веществ. Это может быть вменение оптических свойств элюента (в ИК-, УФ- или видимой области), его показателя преломления, способности флюоресцировать, электропроводности, способности окисляться или восстанавливаться, диэлектрической проницаемости и т.д.
Детекторы подразделяются на селективные и универсальные. Селективные детекторы способны зафиксировать элюирование интересующих исследователя веществ, обладающих специфическими свойствами, на фоне многих других компонентов, такими свойствами не обладающих. Эти детекторы (флюоресцентный, электрохимический и др.) находят широкое применение в анализе следовых количеств лекарственных препаратов в биологических образцах, микропримесей, биогенных аминов. Универсальные детекторы должны реагировать на элюирование любых веществ вне зависимости от того, обладают они какими-то особыми свойствами или нет. Такие детекторы находят широкое применение в органической химии, нефтехимии, фармацевтической, химической, медицинской промышленности, биологических науках. Какими же свойствами должен обладать идеальный детектор для ВЭЖХ? Он не должен вызывать размывания зоны пика, выходящего из колонки, и ее уширения. Должен иметь высокую чувствительность и отклик на прохождение вещества, который можно предсказать. Образец не должен разлагаться, проходя через детектор. Изменения температуры, скорости потока и состава растворителя не должны влиять на работоспособность детектора. Отклик детектора на количество вещества должен быть линейным, и линейный диапазон должен быть широким. Детектор должен быть простым и удобным в работе и обслуживании. Детектор при прохождении вещества должен давать не только количественную информацию, но и качественную, подтверждающую состав или строение вещества. Отклик детектора должен появляться при прохождении через кювету любого вещества, этот отклик не должен зависеть от растворителя, он должен быть быстрым. Детекторы, используемые для ВЭЖХ, конечно, далеко не в полной мере обладают свойствами идеального детектора. Таких, приближающихся по характеристикам к идеальным детекторам, как пламенно-ионизационный или по теплопроводности в газовой хроматографии, в ВЭЖХ нет. Однако имеющийся ассортимент детекторов позволяет выполнять многие интересные работы, причем этот ассортимент постоянно пополняется новыми разработками.
Какие же характеристики детекторов нужно принимать во внимание, подбирая подходящий для данной задачи детектор? Эти характеристики следует подразделять на те, которые связаны с самой конструкцией детектора, и на те, которые зависят от свойств растворителя, анализируемого вещества. Каждый детектор характеризуется определенным шумом, который для разных типов детекторов выражается в разных единицах. Его обычно определяют производители детекторов условиях, когда он минимален. Чем меньше шум у детектора по сравнению с другим такого же типа, тем лучше использованные конструкционные элементы, более удачная схема, лучше регулировка. Разница в шуме у разных детекторов одного типа может составлять порядок и даже больше (по данным фирм-производителей).
Другая очень важная величина — это дрейф нулевой линии, который определяется смещением нулевой линии в процессе работы детектора за определенный отрезок времени после прогрева. Эта величина также может иметь разницу у детекторов одного типа более чем на порядок. Вместимость кюветы детектора является фактором, наряду с ее геометрией (размывающей или неразмывающей), определяющим, насколько могут быть размыты пики, попадающие в нее из колонки. Вместимость кюветы должна быть не более 0,1 объема первого пика, который представляет интерес для исследователя (например, если первый такой пик выходит в объеме 30 мкл, вместимость кюветы не должна превышать 3 мкл). Это особенно существенно для экспресс-анализов методом ВЭЖХ, выполняемых на коротких (3—5 см) колонках, заполненных сорбентом зернением 3 мкм. Важно это и длЯг-микроколонок диаметром 2, 1 мм и менее.
Исказить пик может также недостаточное быстродействие детектора (этот недостаток наиболее часто встречается у детекторов старой разработки); если это так, то более ранние пики будут шире и ниже их реальной формы. Однако быстродействие более чем 0,1 с (кроме прямой стыковки детектора с ЭВМ) также бесполезно, ввиду того что быстродействие самописцев и интеграторов обычно составляет 0,3—0,4 с отклика на 90% шкалы. Нелишне отметить, что использование самописца с медленным откликом приводит к такому же эффекту.
Линейный динамический диапазон, характеризующий диапазон концентраций, в котором отклик детектора пропорционален концентрации, у детектора должен быть широким (желательно более 105), для того чтобы из одного анализа можно было определять как основные компоненты, так и примеси, содержащиеся в следовых количествах.
Наконец, если детектор работает в градиентном режиме или в условиях, не исключающих некоторого изменения окружающей температуры, очень большое значение имеет нечувствительность детектора к флуктуациям температуры, скорости потока и изменению состава растворителя и стабильность его отклика вне зависимости от изменения этих условий.
1.4.1 Фотометры для работы в ультрафиолетовом и видимом диапазонах
Фотометры, работающие в УФ-диапазоне, пожалуй, являются наиболее широко распространенными и популярными детекторами в ВЭЖХ. Это связано с их относительно низкой стоимостью, надежностью работы лампы (до 6000 ч и более), нечувствительностью к изменению температуры и состава растворителя.
Принципиальная схема простейшего УФ-фотометра представлена на рис. 1.11. Источником УФ-излучения в нем является ртутная лампа низкого или среднего давления, имеющая интенсивные линейчатые спектры, из которых лучи с определенной длиной волны вырезаются с помощью фильтров. Ртутная лампа низкого давления около 90% энергии излучает при 254 нм, что дает возможность исключить фильтры. Иногда с ее помощью возбуждают излучение фосфорного экрана при 280 нм, которое используют как вторую длину волны. Другие лампы в сочетании с фильтрами и (иногда) блоками питания позволяют работать при 206, 214, 229, 254, 280, 313, 334, 365 нм и более (т.е. в видимой области). Стоимость таких ламп, блоков питания к ним и фильтров определяет, имеет ли смысл использовать их или же перейти к спектрофотометрическому детектору. Большое значение имеет, конечно, срок службы таких ламп, который заметно различается от 300— 500 ч (что близко к сpoкy службы дейтериевой лампы спектрофотометра) до 5000—6000 ч — этим также определяют преимущества перед спектрофотометром. Нередко стоимость такого «сложного» фотометрического детектора с полным набором фильтров, ламп, блоков питания не меньше, а больше стоимости спектрофотометрического детектора.
















