151393 (580580)
Текст из файла
ОГЛАВЛЕНИЕ
ЦЕЛЬ РАБОТЫ 3
Варианты подходов к математическому моделированию функционирования кумулятивных зарядов. 4
Взаимодействие высокоскоростного ударника с различными типами преград. 9
ВЫПОЛНЕНИЕ ОСНОВНЫХ ПОДСЧЁТОВ И АНАЛИЗ РЕШЕНИЯ 11
АНАПЛИЗ ГРАФИКОВ 12
1. График скорости схлопывания 12
2. График изменения угла схлопывания 12
3.График скорости кумулятивной струи 13
4.График изменения глубины пробития преграды 14
5.График изменения диаметра отверстия в преграде 14
ЗАКЛЮЧЕНИЕ 15
СПИСОК ЛИТЕРАТУРЫ 16
ЦЕЛЬ РАБОТЫ
Цель данной работы заключается в определении эффективности действия ударника по преграде и его рациональных конструктивных параметров.
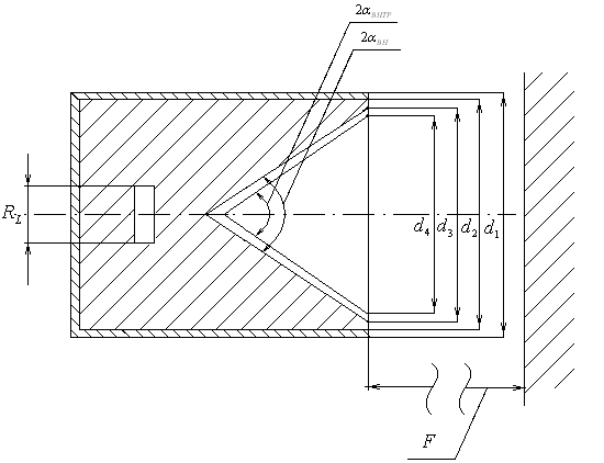
Исходные данные сведены в таблицу:
| № |
|
| d4 мм | d3 мм | d2 мм | d1 мм | F м | D м/с |
| мм | мм |
| 23 | 30 | 30 | 72 | 75 | 78 | 80 | 0,5 | 8950 | 1850 | 10 | 10 |
ROST=7810. ROM =8960. ROVV=1850. DVV = 7802.3 ROPR=7810.
Анализ и математическое описание физических процессов, сопровождающих функционирование кумулятивных зарядов
Варианты подходов к математическому моделированию функционирования кумулятивных зарядов.
Современные теоретические и экспериментальные исследования позволяют получить достаточно полное представление о процессах, протекающих при функционировании КЗ. При срабатывании головного взрывателя его импульс передается детонатору КЗ и происходит инициирование заряда ВВ. Фронт детонационной волны начинает распространяться по заряду со скоростью детонации D. Затем продукты детонации, давление которых зависит от свойств ВВ, угла подхода фронта волны к поверхности облицовки, определяемого расположением и конфигурацией "линзы" воздействует на металлическую облицовку выемки КЗ. Под действием продуктов детонации металлическая облицовка КЗ движется по направлению к оси КЗ, что сопровождается уменьшением ее диаметра в различных сечениях и утолщением самой облицовки, что приводит к появлению градиента скорости по толщине облицовки. Схлопываясь, облицовка деформируется с образованием КС и «песта». Наличие градиента скорости по длине КС, определяемого конструктивными особенностями КЗ, оказывает существенное влияние на кинематику и геометрию КС, следовательно, и на величину бронепробиваемости. Перемещаясь в некотором телесном угле, составляющем для современных КЗ 0,5 ... 1,5°, элементы КС после потери струей сплошности получают боковой импульс, связанный с несимметричностью КС, что совместно с аэродинамическими силами приводит к увеличению углового рассеивания и "намазыванию" КС на стенки сформированного отверстия с потерей бронепробивного действия, которое тем меньше, чем больше допуски на изготовление и сборку кумулятивного узла.
Это обстоятельство приводит к уменьшению так называемого "фокусного" расстояния, определяемого в кумулятивных боеприпасах высотой головного обтекателя, скоростью движения снаряда и временем срабатывания взрывателя с 8 ... 12 калибров для прецизионных КЗ до 1 ... 4 калибров для обычных КЗ с коническими медными облицовками. Кроме того, на величину бронепробиваемости оказывают влияние конструктивные параметры кумулятивного узла: форма и материал КО и корпуса КЗ, тип ВВ, расположение и конфигурация линзы. Область существования кумулятивного эффекта имеет ограничения, связанные, с одной стороны, с критериями струеобразования, а с другой — необходимостью преодоления прочностных сил материала КО. На нижней границе струеобразования находится область формирования неразрушающихся компактных поражающих элементов, а на верхней – КЗ с цилиндрической КО. Из основной части КО (кроме участков, прилегающих к ее торцам) заряда формируется безградиентная КС. Для обеспечения формирования монолитной КС должно выполнятся условие Dc0, т.е. скорость детонации ВВ не должна превышать скорость звука в материале облицовки. КЗ конической формы с цилиндрической КО формируют КС, аналогичные струям, формируемым КЗ с конической КО. Такие же КС образуются из заряда цилиндрической формы с профилированной КО. В этих случаях формирование КС обеспечивается убыванием скорости обжатия к основанию КО. Многообразие других форм КО и КЗ может быть описано основными закономерностями гидродинамической теории кумуляции. Более высокий градиент скорости по длине КС, повышение скорости ее хвостовых элементов, управление "компактностью" КС реализуется путем применения зарядов с рупорообразной, колоколообразной, полусферической или сегментной облицовкой. В зависимости от поставленной задачи в КЗ могут использоваться и комбинированные формы КО, сохраняющие особенности формирования КС своих частей на соответствующих этапах формирования струи. Рассмотренные типы КО далеко не исчерпывают все известные формы, а формирование КС с требуемыми параметрами может осуществляться и изменением геометрии КЗ. Классические КО, обеспечивая высокую стабильность действия, практически сводят на нет преимущества в бронепробиваемости КО сложных форм, поэтому оптимизацию параметров КЗ, на современном этапе проводят путем совершенствования простых форм варьированием угла раствора, профиля, применением буртиков, "юбок" и т.д. Поиск новых материалов для КО, способных заменить традиционно используемые медь и алюминий и в зависимости от решаемой задачи, в большей степени отвечающих тому или иному параметру, определяющему эффективность действия КЗ, глубине проникания в преграду или специфическим свойствам, влияющим на запреградное действие КС, показал перспективность использования материалов, обладающих высоким удельным весом и высокой пластичностью.
Влияние корпуса КЗ на кинематические параметры струи аналогично влиянию формы заряда: практически непроявляющееся в головной части струи из-за большого слоя ВВ в зоне вершины КО, оно увеличивается по мере приближения к основанию КО, вызывая уменьшение скорости последующих элементов КС и, как следствие, толщины облицовки в основании на 20 ... 30 %. Повышение мощности используемого в КЗ ВВ вместе с изменением скоростных характеристик и режима формообразования КС оказывает влияние на глубину пробития, позволяя при том же градиенте скорости вдоль КС увеличить толщину КО, что в свою очередь обеспечивает увеличение выхода металла из обжимающейся КО в струю, а следовательно, увеличение предельного растяжения КС до разрыва. Координата разрыва КС смещается в сторону увеличения расстояния, на котором КС сохраняет свою сплошность, а значит, эффективность действия.
Введение в КЗ инертных вкладышей (линз), изменяющих характер нагружения КО продуктами детонации и приближающих распределение скорости вдоль КС к оптимальному, является особенно актуальным для кассетных боевых частей и боеукладок танковых управляемых ракет, размещаемых в ограниченных объемах.
Таким образом, все вышеизложенное позволяет сделать вывод о значимости влияния на эффективность функционирования КО каждого из перечисленных параметров и неучет влияния какого-либо из них на этапе проектирования может повлечь за собой искажение общей картины взаимодействия кумулятивного боеприпаса с преградой.
С появлением новых сложных систем бронезащиты, включая динамическую защиту (ДЗ), их преодоление моноблочными КЗ путем оптимизации размеров элементов КЗ, совершенствования технологии изготовления и сборки, использования более мощных ВВ стало затруднительным без значительного увеличения калибра боеприпаса. Это привело к необходимости отработки тандемных схем построения боеприпасов и условий функционирования их у цели. Боеприпас тандемного типа представляет собой два последовательно расположенных заряда, один из которых является основным, отрабатываемым на максимальное бронепробитие, а другой дополнительным, с разновременностью в подрыве взрывателей зарядов, превышающей длительность действия элемента ДЗ, что приводит к срабатыванию последнего до прихода основной КС и обеспечивает ее сохранность. При всей своей эффективности тандемные боеприпасы имеют сложное устройство и требуют учета и детальной проработки следующих факторов: увеличения протяженности эквивалентного пути КС в современной и перспективной бронезащите, угла атаки (и рыскания) боеприпаса, скорости перемещения поражаемой бронецели, накладывающих ограничения на выбор дистанции срабатывания взрывного устройства у цели и диапазона разновременности в инициировании его ступеней. Схема построения тандемного заряда с головным КЗ, срабатывающим вторым, не представляется перспективной для решения задач преодоления разнохарактерной бронезащиты как из-за сложностей в осуществлении значительной разновременности в срабатывании зарядов, так и из-за трудностей реализации суммируемости бронепробивного действия ступеней при активном воздействии преграды и недостаточно большом диаметре кратера от действия первой КС. Аналогично с тандемными кумулятивными боеприпасами могут быть построены трехблочные кумулятивные боеприпасы с двумя предзарядами для преодоления «насыщенных» систем ДЗ. Для конструкций такого типа резко возрастают требования точности сборки, а также возникают трудности при суммируемости бронепробивного действия ступеней при функционировании по быстро движущимся целям. Многофакторность, неоднородность, нестационарность и быстротечность процессов функционирования КЗ и взаимодействия КС с бронепреградой вызывают определенные трудности при их моделировании, отразилось в многообразии подходов к решению данной проблемы. В настоящее время наиболее распространенным продолжает оставаться вероятностный подход, базирующийся как на "чистом" эксперименте, так и построении регрессионных зависимостей, получаемых в результате статистической обработки имеющихся экспериментальных данных, который, в свою очередь, либо полностью охватывает все процессы, протекающих при функционировании КЗ, либо отражает определенную стадию этих процессов.
Экспериментальные методы, основным достоинством которых является воспроизведение натурных условий функционирования боеприпасов, их узлов и элементов, обладают рядом недостатков, связанных со значительными затратами материальных средств на отработку изделий. Построение регрессионных зависимостей, описывающих процессы, протекающие при функционировании КЗ, является весьма полезным при отработке на эффективность конкретного образца изделия, так как позволяет не только выявить факторы, оказывающие влияние на процессы функционирования КЗ, но и оценить чувствительность результата к изменению параметров системы, не учитывать все второстепенные и малозначительные. Но все подобные модели обладают одним существенным недостатком, ограничивающим область их применения. Так, отсутствие физичности в регрессионных зависимостях не позволяет на этапе оптимизации прогнозировать получаемый результат, а невозможность учета в таких моделях типа изделия не позволяет экстраполировать получаемый результат на другие конструкции и формулировать выводы, выходящие за рамки проведенного эксперимента.
Характеристики
Тип файла документ
Документы такого типа открываются такими программами, как Microsoft Office Word на компьютерах Windows, Apple Pages на компьютерах Mac, Open Office - бесплатная альтернатива на различных платформах, в том числе Linux. Наиболее простым и современным решением будут Google документы, так как открываются онлайн без скачивания прямо в браузере на любой платформе. Существуют российские качественные аналоги, например от Яндекса.
Будьте внимательны на мобильных устройствах, так как там используются упрощённый функционал даже в официальном приложении от Microsoft, поэтому для просмотра скачивайте PDF-версию. А если нужно редактировать файл, то используйте оригинальный файл.
Файлы такого типа обычно разбиты на страницы, а текст может быть форматированным (жирный, курсив, выбор шрифта, таблицы и т.п.), а также в него можно добавлять изображения. Формат идеально подходит для рефератов, докладов и РПЗ курсовых проектов, которые необходимо распечатать. Кстати перед печатью также сохраняйте файл в PDF, так как принтер может начудить со шрифтами.















