151164 (580546)
Текст из файла
Задача №1
Дано: вектор напряжённости электрического поля в воздухе изменяется по закону –
где Е0=5мВ/м; 10 м-1 ; 40 м-1; f =*106 рад/с задано согласно варианта.
Решение.
Для нахождения вектора напряжённости магнитного поля воспользуемся вторым уравнением Максвелла в дифференциальной форме [1],[2]:
(1)
В воздухе векторы напряжённости магнитного поля и магнитной индукции связаны материальным уравнением
[1], [2] перепишем (1) в виде:
(2)
Вектор напряжённости электрического поля является гармонической функцией времени поэтому можно записать:
(3)
Комплексная амплитуда вектора напряжённости электрического поля:
(4)
Учитывая, что комплексная амплитуда вектора напряжённости электрического поля имеет лишь одну составляющую
, то раскроем определитель ротора комплексного вектора (4) по первой строке:
(5)
Представим комплексный вектор (5) в показательной форме:
(6)
Выразим из (3) комплексную амплитуду вектора напряжённости магнитного поля:
(7)
Представим (7) в показательной форме:
(8)
Определим мгновенное значение вектора напряжённости магнитного поля по формуле:
(9)
Следовательно, амплитуда напряжённости магнитного поля в начале координат будет равна:
(10)
где 0 = 1,256*10-6 Гн/м магнитная постоянная
Начальную фазу определим по формуле:
(11)
Окончательно (9) примет вид:
По определению вектор Пойтинга находится как векторное произведение векторов электрического и магнитного полей [1], [2]:
Рис.1 К определению вектора Пойтинга.
(12)
Учитывая, что векторное произведение ортов
, получим (12) в виде:
(13)
Тогда согласно (13) амплитуда вектора Пойтинга в начале координат будет равна:
(14)
Среднее за период значение вектора Пойтинга находится по формуле:
(15)
Таким образом, вычислим среднее значение вектора Пойтинга:
(16)
Задача№2
Дано: R1=2 мм; R2=7 мм; R3=8 мм; I = 5мА.
Решение.
Введём цилиндрическую систему координат, с осью аппликат, направленной вдоль оси волновода.
Напряжённость магнитного поля имеет отличную от нуля азимутальную компоненту, модуль которой зависит лишь от расстояния до оси волновода т.е:
(17)
Воспользуемся первым уравнением Максвелла в интегральной форме [1],[2]:
(18)
Интеграл в левой части (18) может быть найден для произвольного кругового контура по формуле, выражающую зависимость напряжённости магнитного поля от расстояния от центра волновода:
(19)
Плотность тока в диапазоне 0
(20)
Для определения напряжённости магнитного поля введём контур L1, радиус которого лежит в указанном диапазоне расстояний , тогда контур охватывает ток:
(21)
Приравняем (19) и (21) и выразим магнитную напряжённость и индукцию и получим для r1=0,5R1 :
(22)
где для меди, относительная магнитная проницаемость
Запишем (22) в векторной форме:
(23)
В диапазоне расстояний R1< r < R2 контур L2 охватывает полный ток внутреннего проводника (I2 = I). Напряжённость и индукцию магнитного поля на расстоянии r2 = (R1+R2)/2=4,5мм определим аналогично (22):
(24)
Или в векторной форме:
(25)
Внутри внешнего проводника R2< r < R3 плотность тока определяется как:
(26)
Контур L3 охватывает ток , равный сумме полного тока во внутреннем проводнике и части тока во внешнем проводнике, взятом с противоположным знаком:
I3 I - I* (27)
Часть тока находится по формуле:
(28)
Подставим (28) в (27) и приведём к общему знаменателю:
(29)
Приравняем (19) и (29) получим:
(30)
Из (30) выразим напряжённость и индукцию и запишем сразу в векторной форме для r3 = (R3+R2)/2=7,5мм :
В диапазоне расстояний
контур L4 охватывает ток:
I4 I -I 0. (31)
Итак, H=B=0, - магнитное поле вне волновода отсутствует.
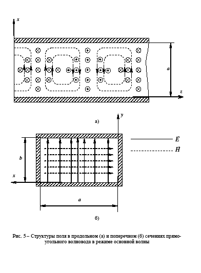
Задача№3
Дано: Размеры волновода
медь t=1,25.
Решение.
-
Волной первого высшего типа в прямоугольном волноводе является волна Н20 , поэтому условия одноволнового режима имеют вид:
они являются частотными границами.
Здесь с=3*108 м/с – скорость света.
-
Поверхностное сопротивление и характеристическое сопротивление заполнения определяются из выражений:
(32)
Коэффициент ослабления в волноводе находится по формуле:
(33)
где 59,5*106 См/м - удельная проводимость меди;
относительная магнитная проницаемость меди;
а =0 = 8,85*10-12*1 = 8,85*10-12 Кл/(В*м) – абсолютная диэлектрическая проницаемость воздуха внутри волновода.
=
для f=2,08ГГц
=0,068 м-1, для f=4,16ГГц
=0,00184 м-1, для f=5ГГц
=0,001816 м-1,
прировняв первую производную по частоте к нулю получим, что
=0,001816 м-1 при f=4,949ГГц
Воспользуемся программой Maple для построения графика.
Рис.4.
-
Определим параметры основной волны для частоты f = 1,25
=1,25*2.08=2,6ГГц с длиной волны с/f = 0,115м
Коэффициент ослабления за счёт омических потерь в стенках волновода:
(35)
Коэффициент фазы:
(36)
Длина волны в волноводе:
(37)
Фазовая скорость и скорость переноса электромагнитной энергии соответственно:
(38)
(39)
Характеристическое сопротивление равно:
(40)
5.Частота волн и их длина равны:
(41)
(42)
Проверим условие кр для разных мод
Следовательно, могут распространятся на этой частоте волны только типа 10.
Список используемых источников
-
Ю.В. Пименов, В.И. Вольман, А.Д. Муравцов «Техническая электродинамика», М: «Радио и связь», 2000 г. – 536 с.
-
Никольский В.В. Электродинамика и распространение радиоволн. – М: «Наука» 1973г – 607с.
Характеристики
Тип файла документ
Документы такого типа открываются такими программами, как Microsoft Office Word на компьютерах Windows, Apple Pages на компьютерах Mac, Open Office - бесплатная альтернатива на различных платформах, в том числе Linux. Наиболее простым и современным решением будут Google документы, так как открываются онлайн без скачивания прямо в браузере на любой платформе. Существуют российские качественные аналоги, например от Яндекса.
Будьте внимательны на мобильных устройствах, так как там используются упрощённый функционал даже в официальном приложении от Microsoft, поэтому для просмотра скачивайте PDF-версию. А если нужно редактировать файл, то используйте оригинальный файл.
Файлы такого типа обычно разбиты на страницы, а текст может быть форматированным (жирный, курсив, выбор шрифта, таблицы и т.п.), а также в него можно добавлять изображения. Формат идеально подходит для рефератов, докладов и РПЗ курсовых проектов, которые необходимо распечатать. Кстати перед печатью также сохраняйте файл в PDF, так как принтер может начудить со шрифтами.
=1,25*2.08=2,6ГГц с длиной волны с/f = 0,115м















