150808 (580494)
Текст из файла
097,094,099,104,102
Решение
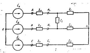
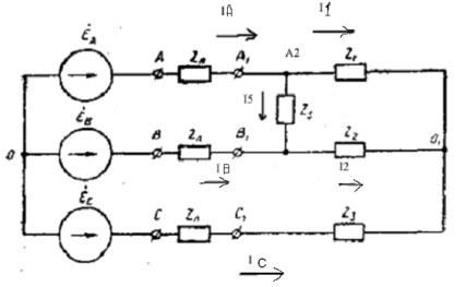
1. Преобразуем треугольник сопротивлений Z1, Z2 и Z5 в звезду
Для этого найдем расчётный коэффициент по формуле:
m = Z1+Z2+Z5 = 10+j12+10-j18+12+j14 = 32+j8 Ом
Теперь определим сопротивления звезды:
Z11 = Z1*Z2 / m = (10+j12) (10-j18) / (32+j8) = 8,8594 – j4,0882 Ом
Z22 = Z5*Z2 / m = (12+j14) (10-j18) / (32+j8) = 10,3823 – j4,9706 Ом
Z33 = Z1*Z5 / m = (10+j12) (12+j14) / (32+j8) = 0,6765 +j8,7059 Ом
Определим напряжение смещения нейтрали:
Определим фазные напряжения:
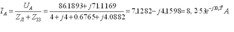
UA = EA – UN = 127 – 40.8107 + j71.1169 = 86.1893+j71,1169 B
UB = EB – UN = -63.5 – j110 – 40.8107 + j71.1169 = -104.3107-j38,868 B
UС = EС – UN = -63.5 + j110 – 40.8107 + j71.1169 = -104.3107+j181.1169 B
Определим токи генератора по закону Ома:
Определим напряжения действительного смещения нейтрали, т.е. исходной схемы:
UN=UN+ICZ11=70.011-j5.792=7 0,25e-j4,7B
Определим потенциалы А1 и В1 узлов схемы и напряжения на ZЛ фаз А и В:
Тогда напряжение между ними или на Z5 будет:
UZ5 =
Напряжения на фазе С:
Определим токи треугольника сопротивлений:
Определим напряжения на сопротивлениях Z1 и Z2:
-
Активные мощности источников:
Активные мощности приёмников:
Баланс сходится.
-
Симметричная составляющая нулевой последовательности фаз тока генератора (a=1ej120):
I0 =1/3*(IA +IB +IC) = 1/3*(7,1282 – j4,1598–7,0382 – j3,1775–0,09+j7,3373)=0A
Симметричная составляющая прямой последовательности фаз тока генератора:
IП =1/3*(IA +аIB +а2 IC) = 1/3*(7,1282 – j4,1598+1ej120 *(-7,0382 – j3,1775)+ 1ej240 *(-0,09+j7,3373))=6,599 – j4,086 = 7,76e-j31,8A
Симметричная составляющая обратной последовательности фаз тока генератора:
IОБ =1/3*(IA +а 2IB +а IC) =1/3*(7,1282 – j4,1598+1ej240 *(-7,0382 – j3,1775)+ 1ej120 *(-0,09+j7,3373))=0,529 – j0,074 = 0,53e-j8A
Проверим верность выполненного разложения для тока генератора фазы А:
IA = I0+ IП+ IОБ = 0 + 6,599 – j4,086+0,529 – j0,074 = 7.128-j4,160
Результаты совпали, значит, симметричные составляющие аналитически определены верно.
Теперь графически определим симметричные составляющие токов генератора:
Симметричная составляющая нулевой последовательности фаз тока генератора равна нулю, что видно.
Характеристики
Тип файла документ
Документы такого типа открываются такими программами, как Microsoft Office Word на компьютерах Windows, Apple Pages на компьютерах Mac, Open Office - бесплатная альтернатива на различных платформах, в том числе Linux. Наиболее простым и современным решением будут Google документы, так как открываются онлайн без скачивания прямо в браузере на любой платформе. Существуют российские качественные аналоги, например от Яндекса.
Будьте внимательны на мобильных устройствах, так как там используются упрощённый функционал даже в официальном приложении от Microsoft, поэтому для просмотра скачивайте PDF-версию. А если нужно редактировать файл, то используйте оригинальный файл.
Файлы такого типа обычно разбиты на страницы, а текст может быть форматированным (жирный, курсив, выбор шрифта, таблицы и т.п.), а также в него можно добавлять изображения. Формат идеально подходит для рефератов, докладов и РПЗ курсовых проектов, которые необходимо распечатать. Кстати перед печатью также сохраняйте файл в PDF, так как принтер может начудить со шрифтами.















