150413 (580443), страница 3
Текст из файла (страница 3)
Схемы запуска триггера. Триггер переводят из одного устойчивого состояния в другое путем подачи на его входы (или выходы) запускающих импульсов. Существует два способа запуска: раздельный и общий.
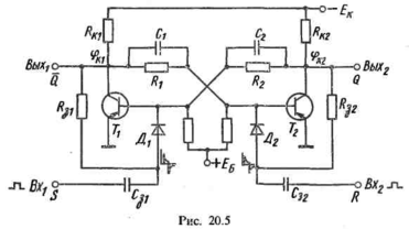
Раздельный запуск осуществляется подачей импульсов одной полярности поочередно на базы транзисторов (входы триггеров). Импульс, поданный на один из входов, устанавливает триггер в одно из устойчивых состояний. Импульс, подаваемый на другой вход, устанавливает триггер в противоположное устойчивое состояние. Схема триггера с раздельным запуском с подачей запускающих импульсов на базы через диоды показана на рис. 20.5.
К элементам цепи запуска относятся диоды Дх и Д2, конденсаторы Сз1 и С32, резисторы R3l и R32. Пусть триггер находится в таком устойчивом состоянии, когда транзистор Tt открыт и насыщен, а транзистор Т2 закрыт. На Bxt подается прямоугольный импульс. Он продифференцируется цепочкой Яз1С31и из него сформируются два коротких импульса остроконечной формы противоположной полярности. Поскольку транзистор Tt открыт, потенциал его коллектора фК1 низкий (0). Так как потенциал анода диода Д, примерно равен потенциалу коллектора (он меньше на небольшое значение падения напряжения на резисторе Яз1), диод Дх будет находиться в проводящем состоянии и пропустит положительный импульс на базу. С приходом этого импульса в базу транзистор Г, начнет выходить из насыщения, а транзистор Т2 – из области отсечки. Когда оба они окажутся в активном режиме, петля положительной обратной связи замкнется и в схеме начнется лавинообразный процесс, в результате которого транзистор 7~i закроется, а транзистор Т2 откроется (этот процесс переброса триггера был подробно рассмотрен ранее).
Такое состояние триггера будет сохраняться до тех пор, пока не поступит новый запускающий импульс на второй вход (Вх2). Так как после перехода обоих транзисторов в активный режим процесс развивается за счет внутренних процессов, без участия запускающего импульса, цепь запуска после опрокидывания должна отключить триггер от генератора. Это обеспечивается следующим образом. На коллекторе закрывающегося транзистора Тх устанавливается высокий потенциал Фк1 * (– Ек)> поэтому и на аноде диода Дл имеется примерно такой же потенциал. Диод Ду находится в непроводящем состоянии и отключает Bxt от базы транзистора Т^ (поэтому диоды Дх и Д2 называют отсекающими). До подачи следующего импульса конденсатор Сз1 разряжается через резистор Кз1.
Триггер с раздельным запуском называют RS‑триггером..RS‑триггер имеет два входа и два выхода. Входы, на которые подают запускающие импульсы, называют установочными и обозначают R и S. Буква S означает раздельный вход установки в состояние 1, буква R – раздельный вход установки в состояние 0. Выходы обозначают Q и Q.
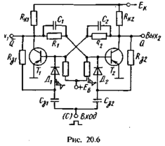
Счетный запуск. При счетном запуске импульсы одной полярности подаются на общий вход С триггера и каждый из импульсов приводит к опрокидыванию триггера. Возможны два варианта подачи запускающего импульса: на базы (рис. 20.6) и на коллекторы. В отличие от схемы, показанной на рис. 20.5, здесь конденсаторы С3| и Сз2 соединены вместе, образуя общий вход. Конденсаторы связи Ct и С2 включены для ускорения процесса переключения триггера. Входной импульс положительной полярности, подаваемый на вход триггера, продифференцируется цепочкой ЯлСъ2 и из образованных двух остроконечных импульсов положительный через диод Д2, находящийся в проводящем состоянии, поступит в базу насыщенного транзистора.
Управление цепями запуска производится следующим образом. С помощью резисторов R3l и Кз2 задают отрицательный потенциал соответственно аноду диода Д, или Д2 с коллектора закрытого транзистора. При этом. диод закрывается и отключает цепь базы транзистора от цепи запуска.
Открытый транзистор имеет низкий потенциал коллектора (ф «0), по этому соответствующий диод через резистор R32 находится в проводящем состоянии. Пусть триггер находится в одном из устойчивых положений: транзистор Tt открыт и находится в режиме насыщения (фк, = иК1 к 0, фБ1 = иы 0). Потенциал анода диода Дг (через R3l) равен примерно нулю. Потенциал катода диода Дг равен примерно фБ2 < 0, и, таким образом, диод Дх открыт.
Потенциал анода диода Д2 (через R32) примерно равен фК2 = икг ~ – Ек. Потенциал катода диода Д2 несколько больше нуля. Диод Д2 надежно заперт отрицательным потенциалом на аноде, равным Ек. Конденсаторы С3] и С32 заряжены соответственно до напряжений иСз1 х 0 и исз2 ~ – Ек (через резисторы R3l и R32 и выходное сопротивление генератора запуска). Положительный запускающий импульс, продифференцированный цепочкой R3iC3i, проходит через открытый диод Дх на базу транзистора Tv В результате транзистор Ti выходит из области насыщения (плюс на базе), ток iK1 уменьшается, а так как фК1 = – £к + Як1'кь то потенциал фк, = мК1 становится более отрицательным. Отрицательный перепад напряжения передается на базу транзистора Т2, и он открывается. С этого момента транзисторы Ti и Т2 открыты, замыкается петля положительной обратной связи и возникает лавинообразный процесс уменьшения коллекторного тока одного транзистора и увеличения тока другого транзистора. В результате транзистор Tt закрывается, – а Г2 переходит в режим насыщения.
После переключения триггера конденсаторы С3, и Сз2 начнут перезаряжаться через резисторы R3l и R32 и напряжения на конденсаторах станут соответственно равными С/Сз1» – Ек, С/Сз2 х 0. Перед окончанием перезарядки конденсаторов закончится запускающий импульс, поэтому он успеет пройти только через диод Д2 на базу открытого транзистора Т2. Таким образом, диоды Дг и Д2 пропускают каждый запускающий импульс только на базу открытого транзистора, а конденсаторы C3i и Сз2, «запоминая» состояние схемы до очередного переключения, препятствуют обратному опрокидыванию ее под действием еще не закончившегося импульса запуска.
На процесс опрокидывания триггера существенно влияет длительность запускающих импульсов. Если импульс, например, очень короткий, то за время его действия транзистор не успевает выйти из насыщения и триггер не опрокинется. Максимальная частота переключения триггера со счетным запуском примерно вдвое меньше, чем при раздельном запуске, поэтому раздельный запуск предпочтительнее. Триггер со счетным запуском называют Т-триггером (буквой Т обозначают счетный вход).
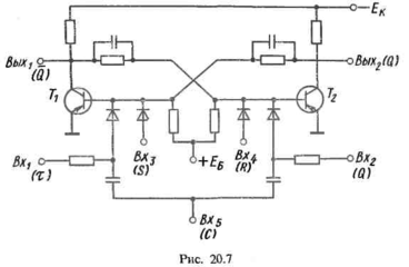
Были рассмотрены триггеры, имеющие один или два входа. Выпускают триггеры, имеющие три входа и более. Рассмотрим универсальный триггер, который называют JK‑триггером, одна из схем которого показана на рис. 20.7. Он имеет пять входов: J, К, R, S и С. JK‑триггер может работать как RS‑триггер (если на входы подавать поочередно положительные импульсы) и как Т-триггер (если вход J подсоединить к коллектору, транзистора Т» а вход К – к коллектору транзистора Т2). Таким образом, наличие входов J и К значительно расширяет возможности JK‑триггера.
Разрешающее время и быстродействие триггера. Наименьший интервал времени между запускающими импульсами, вызывающими бесперебойное переключение импульса, называют разрешающим временем Траз. Величина, обратная разрешающему времени, называется быстродействием триггера (Гц):
Быстродействие триггера определяет наибольшее возможное число бесперебойных переключений триггера в 1 с при неизменном интервале Траз между запускающими импульсами и достигает значений порядка 100 МГц. Эффективность многих электронных устройств зависит от быстродействия триггеров. На быстродействие триггера влияет скорость переключения транзисторов, работающих в схеме в ключевом режиме. Для повышения быстродействия используют высокочастотные транзисторы, ключи в ненасыщенном режиме (для устранения задержки выключения, которая связана с процессом рассасывания не основных носителей в базе насыщенного транзистора). Кроме того, применяют специальные меры, уменьшающие время установления напряжения на коллекторах транзисторов и ускоряющих конденсаторах.
















